GM Service Manual Online
For 1990-2009 cars only
Makes
🢒
Chevrolet
🢒
2005
🢒
Express
🢒
Body
🢒
Body Rear End
🢒 Body Rear End Schematics
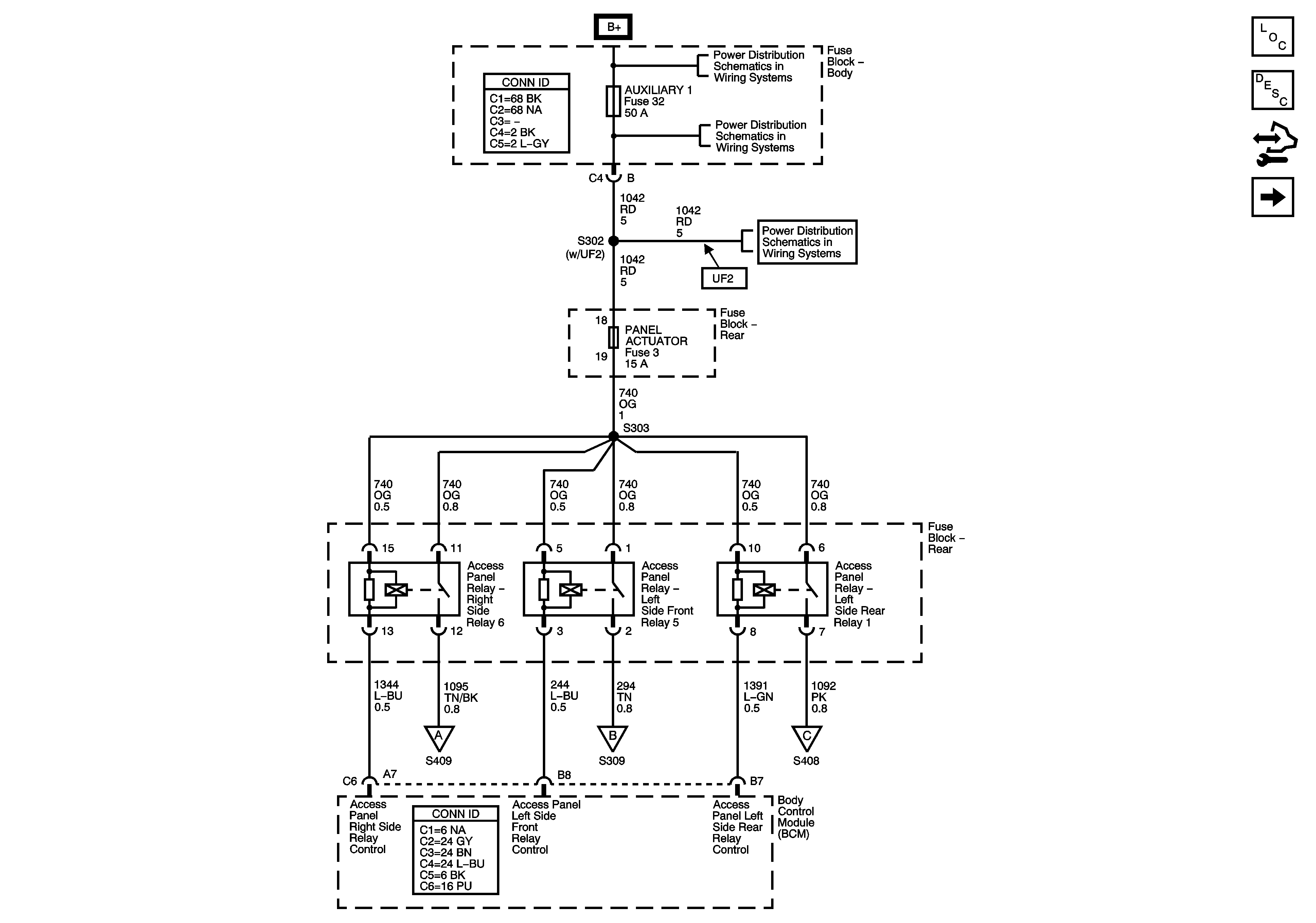
Figure
1:
Access Panel Relay Control
Master Electrical Component List
Access Panel Description and Operation
Control Module References
Access Panel Actuators
B+ Bus - Body Fuse Block
AUXILIARY 1, OSRVM, RR BLOWER and SPARE Fuses
DOME FLUORESCENT WORK LAMPS and PANEL ACTUATORS Fuses
Access Panel Actuators
Access Panel Actuators
Access Panel Actuators
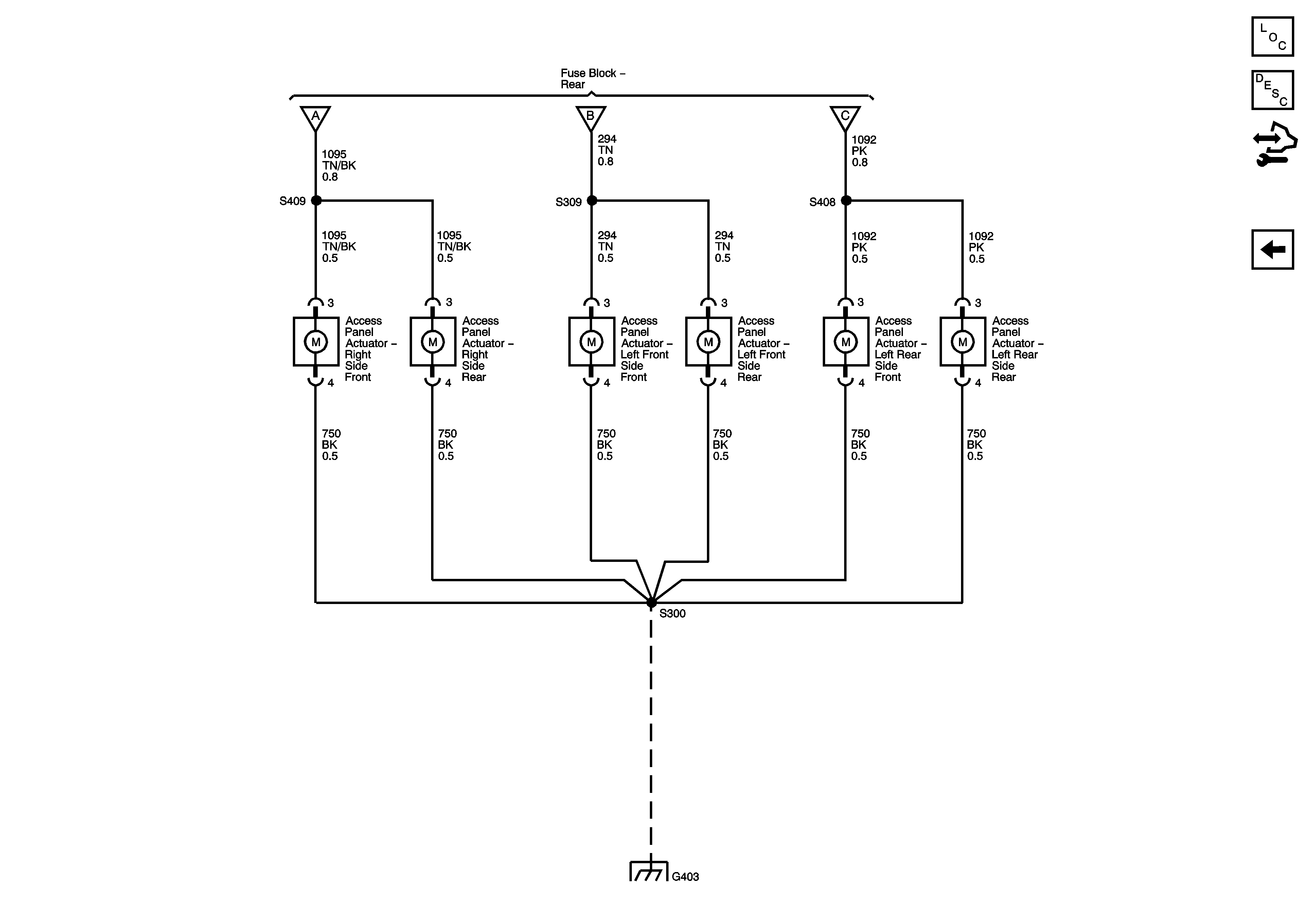
Figure
2:
Access Panel Actuators
Master Electrical Component List
Access Panel Description and Operation
Control Module References
Access Panel Relay Control
Access Panel Relay Control
G402 - Passenger/Cargo and G403 - PRP