GM Service Manual Online
For 1990-2009 cars only
Makes
🢒
Chevrolet
🢒
2005
🢒
Express
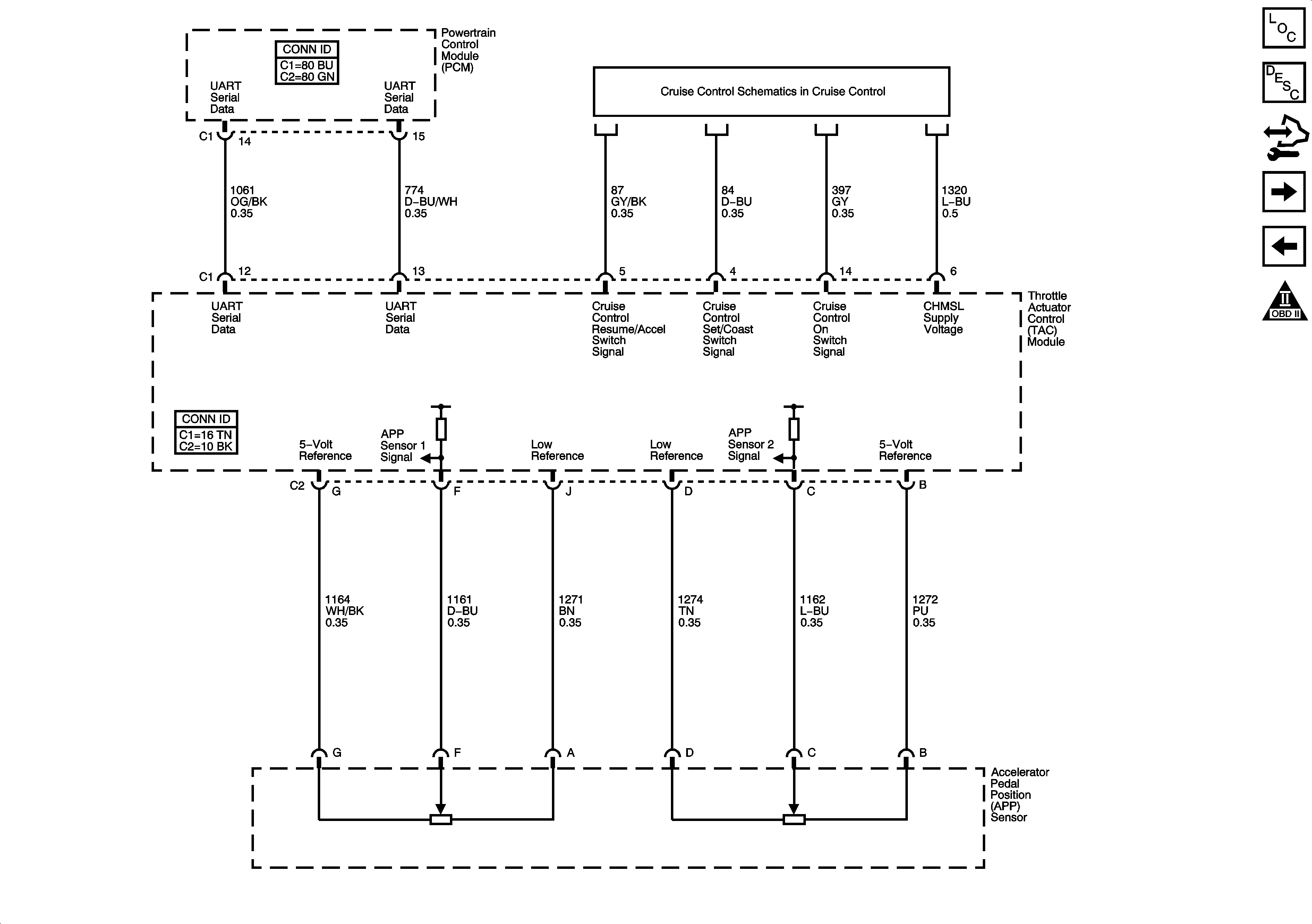
🢒 Engine Data Sensors - Throttle Actuator Controls 2 of 2 (JL4)
Engine Data Sensors - Throttle Actuator Controls 2 of 2 (JL4)
Engine Data Sensors - Throttle Actuator Controls - 2 of 2 (JL4)
Master Electrical Component List
Powertrain Control Module Description
Control Module References
Ignition Controls - Ignition System Coils 1, 3, 5, 7
Engine Data Sensors - Throttle Actuator Controls 1 of 2 (JL4)
OBD II Symbol Description Notice
JL4