GM Service Manual Online
For 1990-2009 cars only
Makes
🢒
Chevrolet
🢒
2000
🢒
Impala
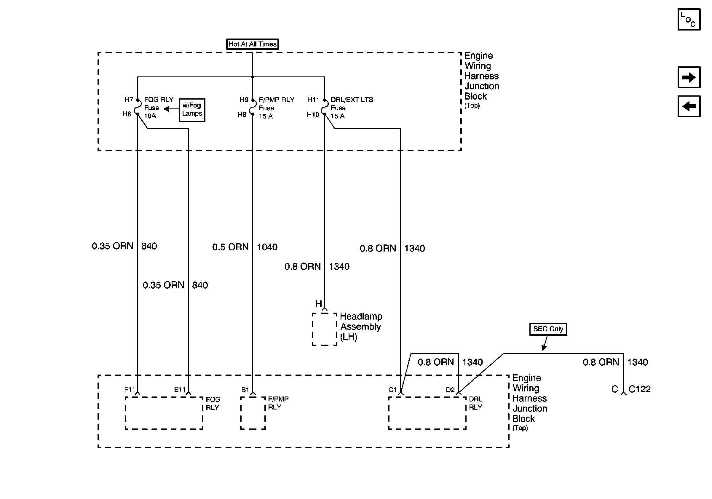
🢒 FOG RLY, F/PMP RLY and DRL/EXT LTS Fuses
FOG RLY, F/PMP RLY and DRL/EXT LTS Fuses
FOG RLY, F/PMP RLY and DRL/EXT LTS Fuses
Power and Grounding Components
EXT LTS, A/C RLY (CMPR) and PCM Fuses
REAR PARK Fuse