GM Service Manual Online
For 1990-2009 cars only
Makes
🢒
Chevrolet
🢒
2000
🢒
Impala
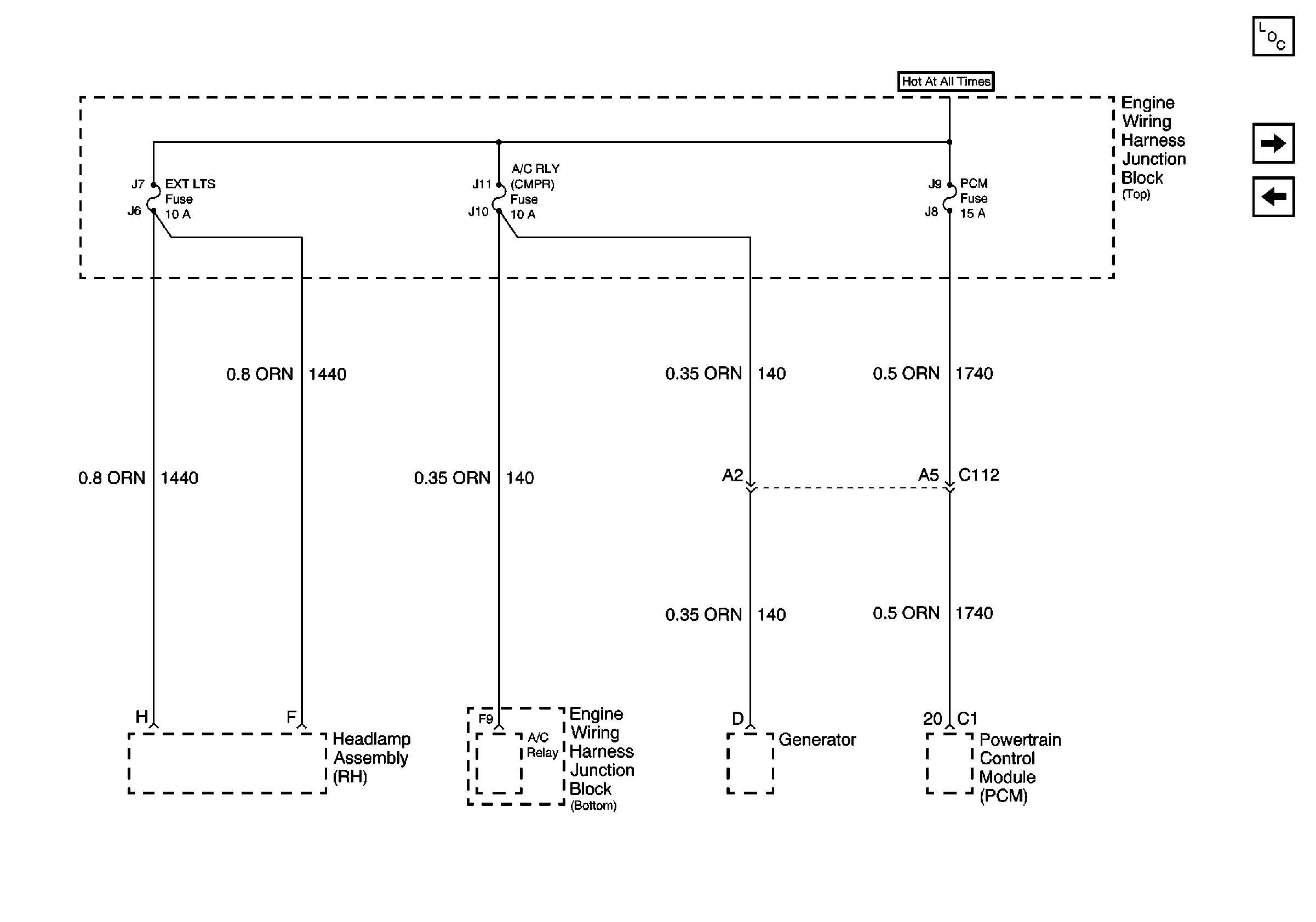
🢒 EXT LTS, A/C RLY (CMPR) and PCM Fuses
EXT LTS, A/C RLY (CMPR) and PCM Fuses
EXT LTS, A/C RLY (CMPR) and PCM Fuses
Power and Grounding Components
STR COL, BCM, WSW and CIG/AUX Fuses
FOG RLY, F/PMP RLY and DRL/EXT LTS Fuses