GM Service Manual Online
For 1990-2009 cars only
Makes
🢒
Chevrolet
🢒
2000
🢒
Impala
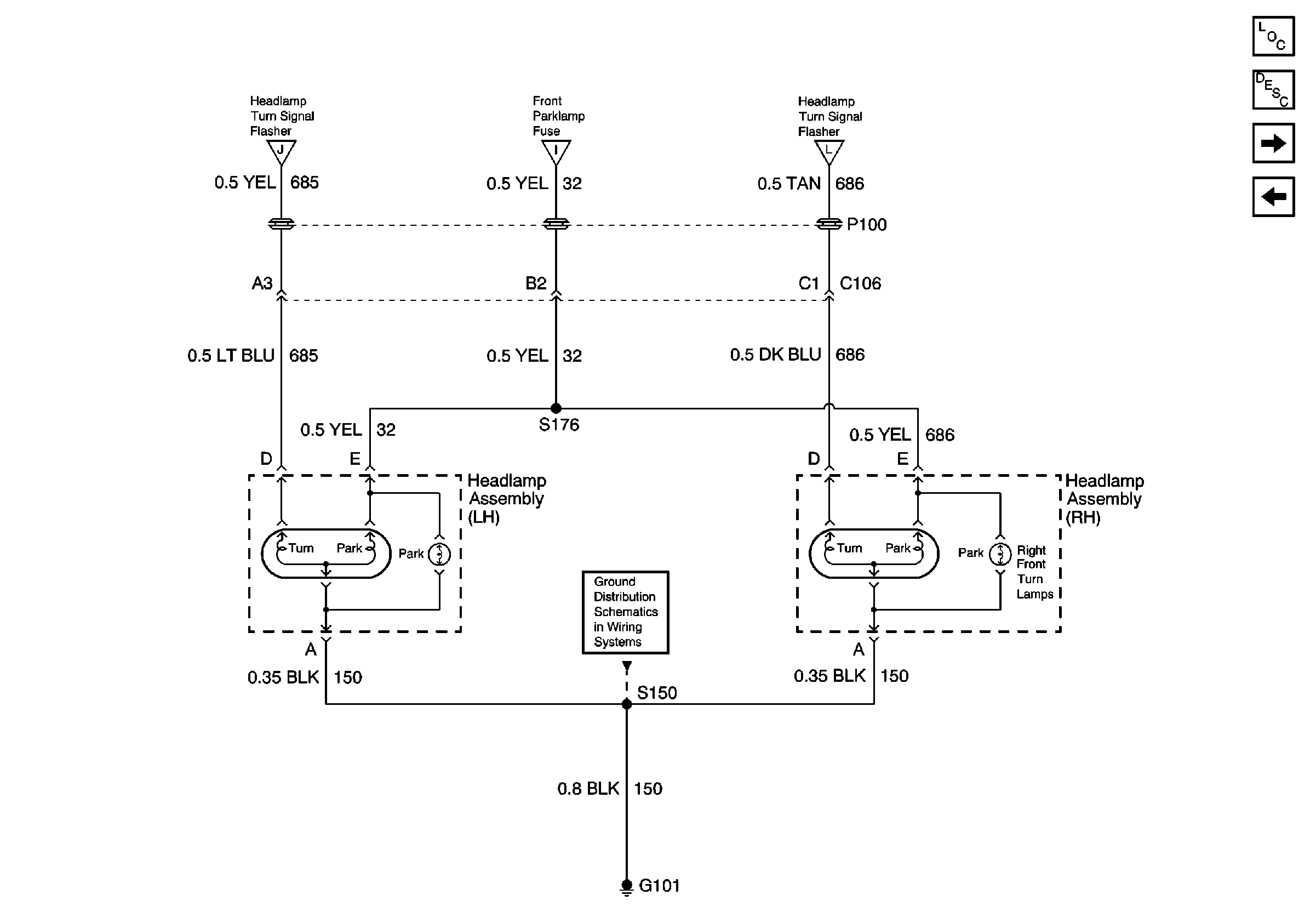
🢒 Front Park, Turn/Hazard Lamps - 2 Door
Front Park, Turn/Hazard Lamps - 2 Door
Front Park, Turn/Hazard Lamps -- 2 Door
Stationary Windows Components
Exterior Lights Circuit Description
Rear Lamps - 2 Door
Turn/Hazard Lamps Control - 2 Door
Turn/Hazard Lamps Control - 2 Door
Park Lamps Control
Turn/Hazard Lamps Control - 2 Door
G101 (1 of 2)