GM Service Manual Online
For 1990-2009 cars only
Makes
🢒
Chevrolet
🢒
2000
🢒
Impala
🢒 A/C Compressor Controls
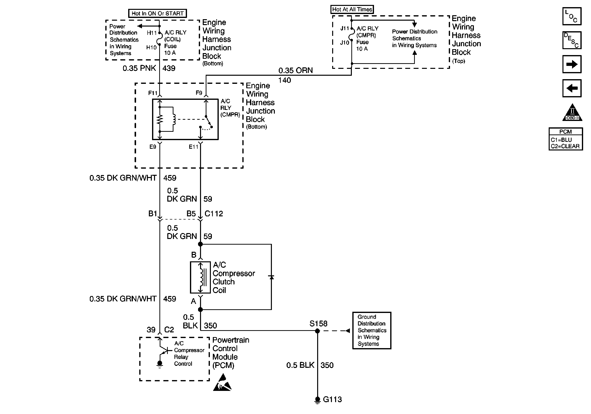
A/C Compressor Controls
A/C Compressor Controls
FUEL INJ, TRANS SOL and A/C RLY (COIL) Fuses
Handling ESD Sensitive Parts Notice
EXT LTS, A/C RLY (CMPR) and PCM Fuses
G100, G111, G113 and G151
Engine Controls Components
Powertrain Control Module Description
Coolant Fans
Automatic Transaxle, ISS, PC Solenoid, TFP
OBD II Symbol Description Notice