GM Service Manual Online
For 1990-2009 cars only
Makes
🢒
Chevrolet
🢒
2000
🢒
Impala
🢒 Power Shedding Control
Power Shedding Control
Power Shedding Control
Battery, EBCM, Engine Wiring Harness Junction Blocks (Bottom and Top),Fusible Links, Generator, Remote Battery Stud and Starter
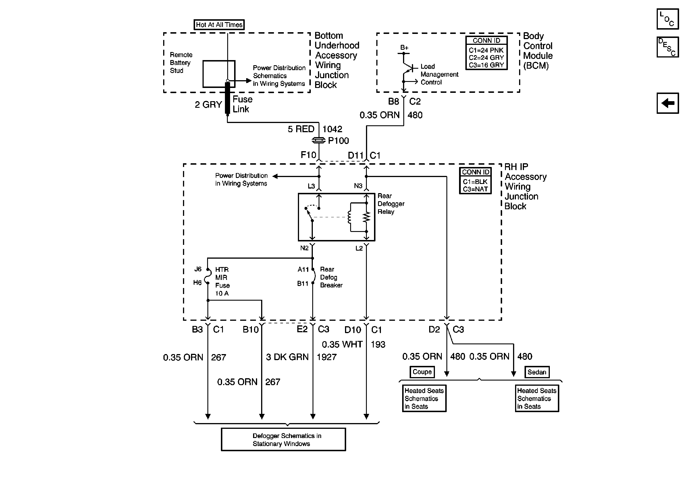
RADIO and HTD MIR Fuses, REAR DEFOG Circuit Breaker and REAR DEFOG Relay
Rear Defogger
Heated Seats - 4 Door LH
Heated Seats - 4 Door LH
Engine Electrical Components
Charging System Circuit Description