GM Service Manual Online
For 1990-2009 cars only
Makes
🢒
Chevrolet
🢒
2002
🢒
Impala
🢒 Ignition Controls
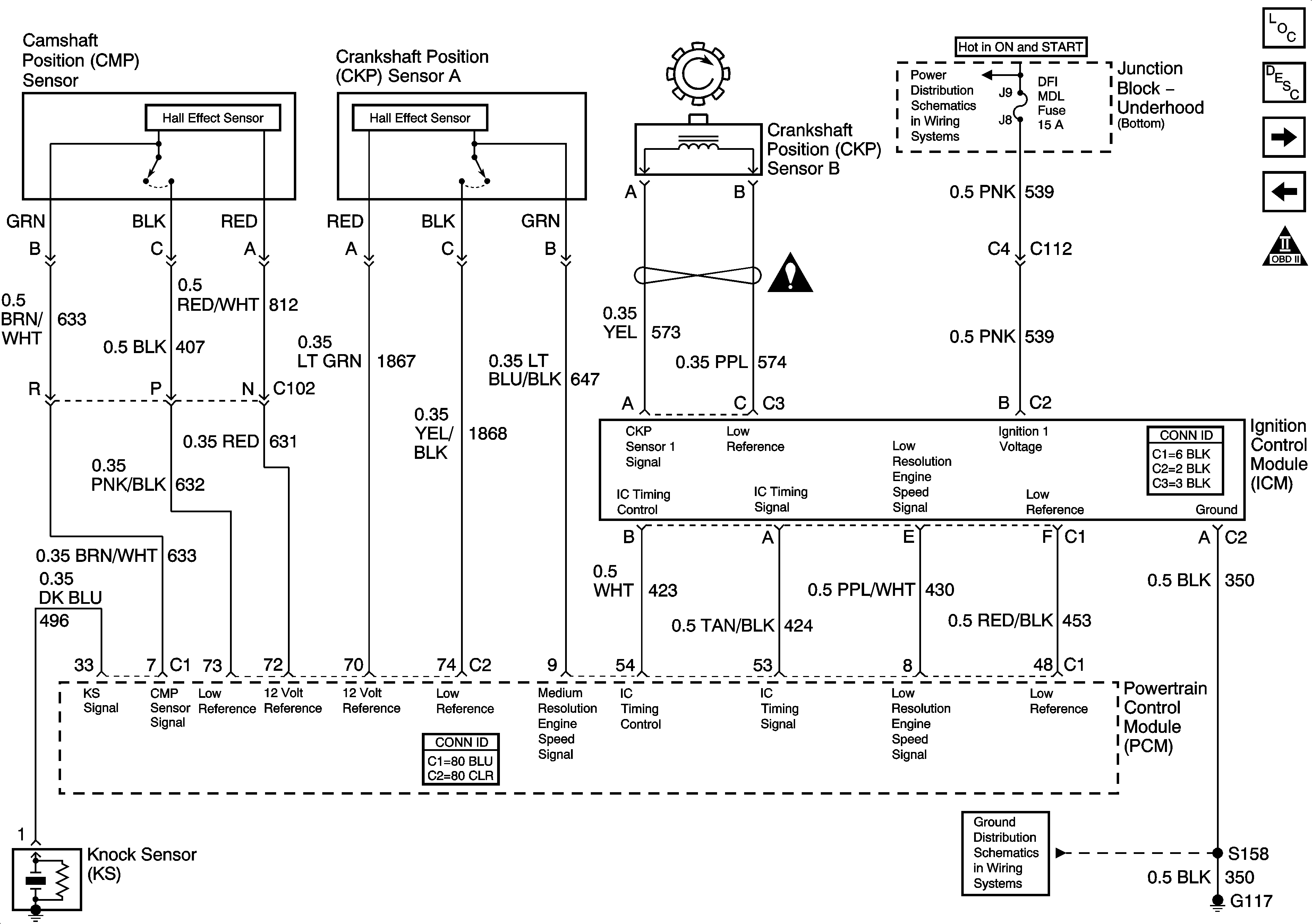
Ignition Controls
Ignition Controls
Master Electrical Component List
Electronic Ignition (EI) System Description
Fuel Pump
HO2S
Engine Controls Schematic Icons
Engine Controls Schematic Icons
Junction Block - Underhood (Bottom) Bussing
G100, G111, G113 (1 of 2), G117, and G151