GM Service Manual Online
For 1990-2009 cars only
Makes
🢒
Chevrolet
🢒
2002
🢒
Impala
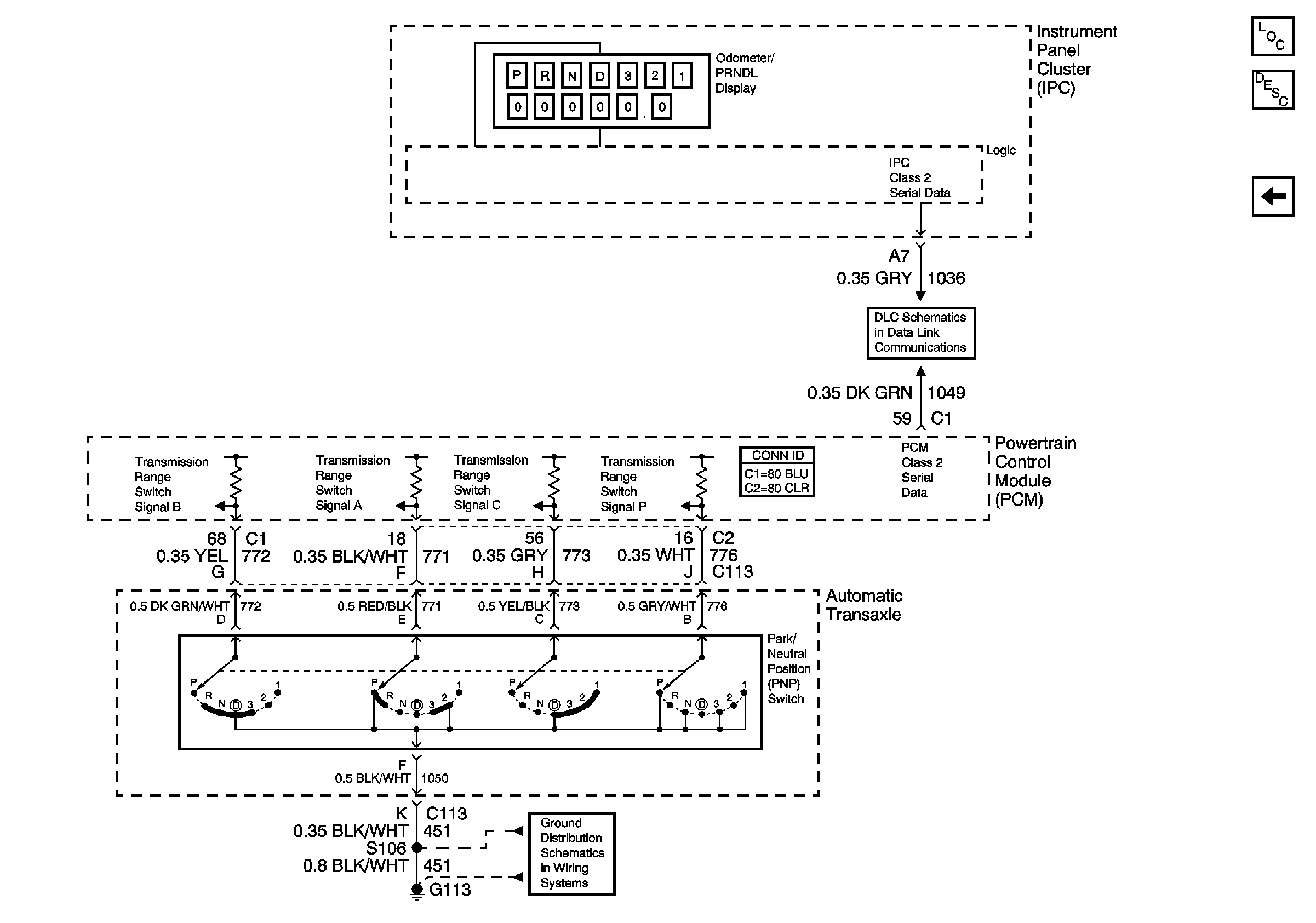
🢒 PRNDL
PRNDL
PRNDL
Master Electrical Component List
Transmission Component and System Description
ISS, Pressure Control, Switches, and VSS
DLC Schematics
G113 (2 of 2)