GM Service Manual Online
For 1990-2009 cars only
Makes
🢒
Chevrolet
🢒
2002
🢒
Impala
🢒 Theft Deterrent Schematics
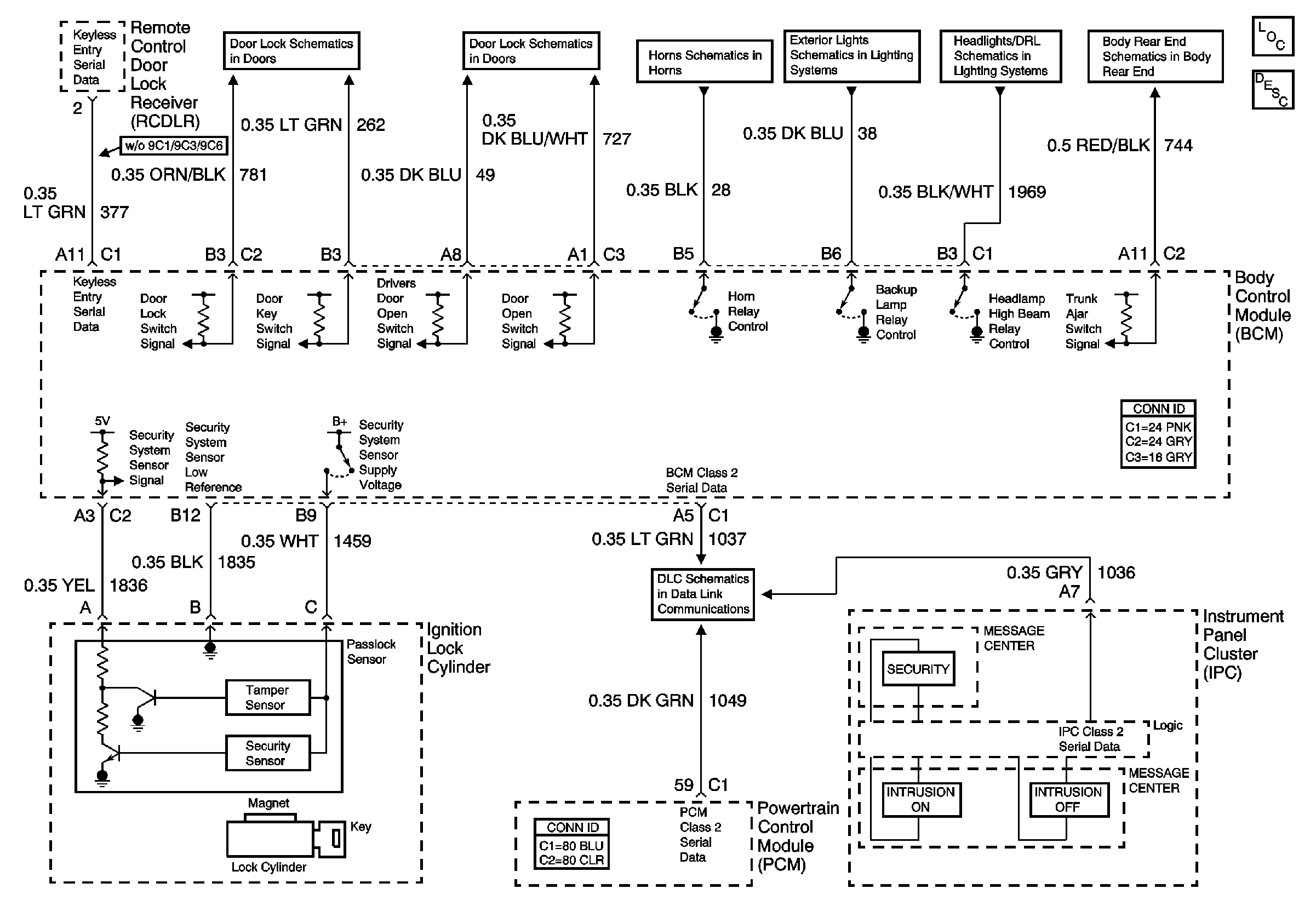
Theft Deterrent Schematics
Master Electrical Component List
Theft Systems Description and Operation
Lock Switches
Door Open Switches (Left)
Horns Schematics
Backup Lamps (w/o 9C1/9C3/9C6)
Indicator, and Lamp Control
Decklid Release (w/Entrapment Protection)
DLC Schematics