GM Service Manual Online
For 1990-2009 cars only
Makes
🢒
Chevrolet
🢒
2002
🢒
Impala
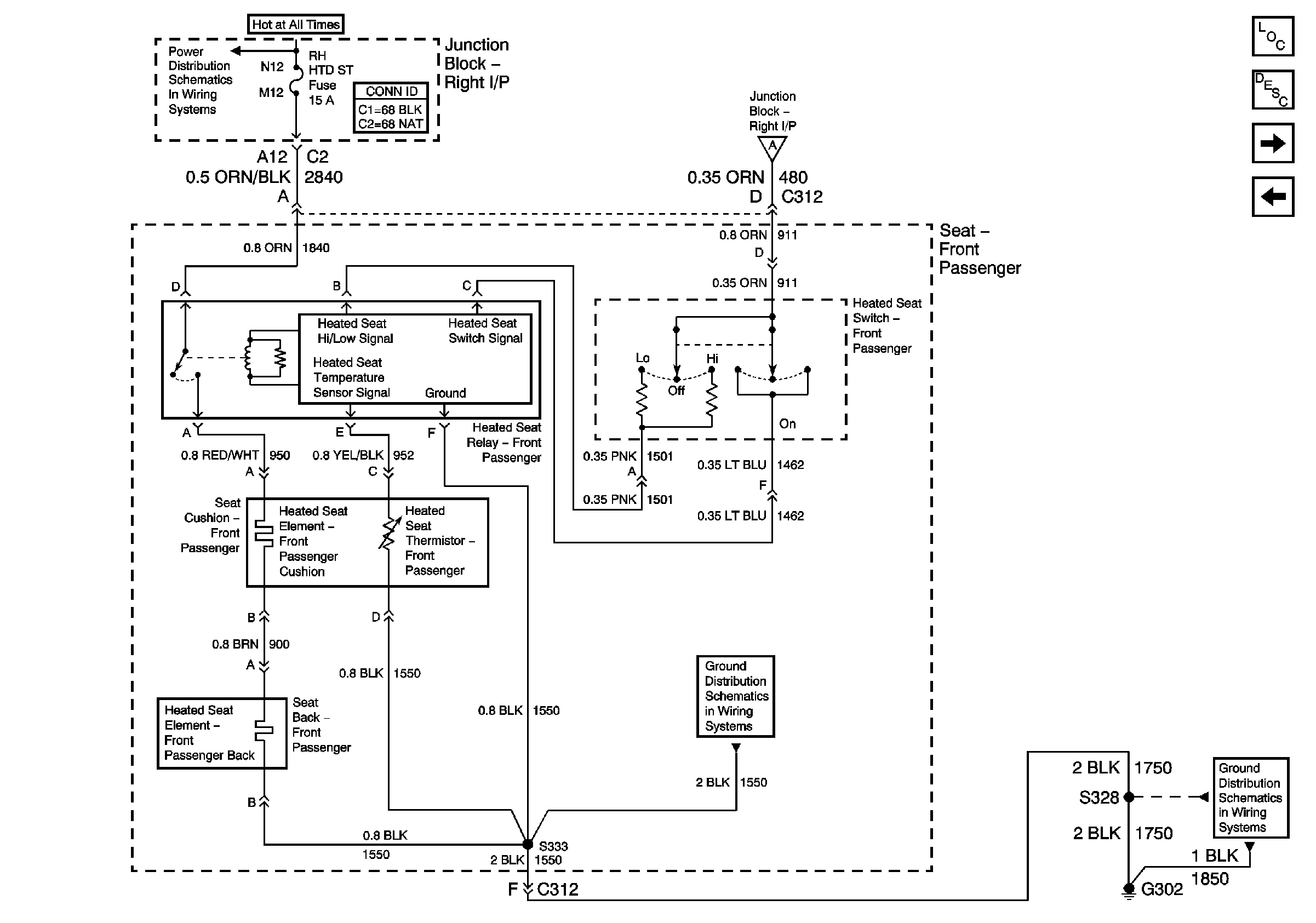
🢒 Front Passenger Seat (Impala)
Front Passenger Seat (Impala)
Front Passenger Seat (Impala)
Master Electrical Component List
Heated Seats Description and Operation
Driver Seat (Monte Carlo)
Driver Seat (Impala)
B/U LP, DIC/RKE, PWR DROP, and RH HTD ST Fuses, PWR SEATS Circuit Breaker
Driver Seat (Impala)
G302 (1 of 2)
G302 (1 of 2)