GM Service Manual Online
For 1990-2009 cars only
Makes
🢒
Chevrolet
🢒
2002
🢒
Impala
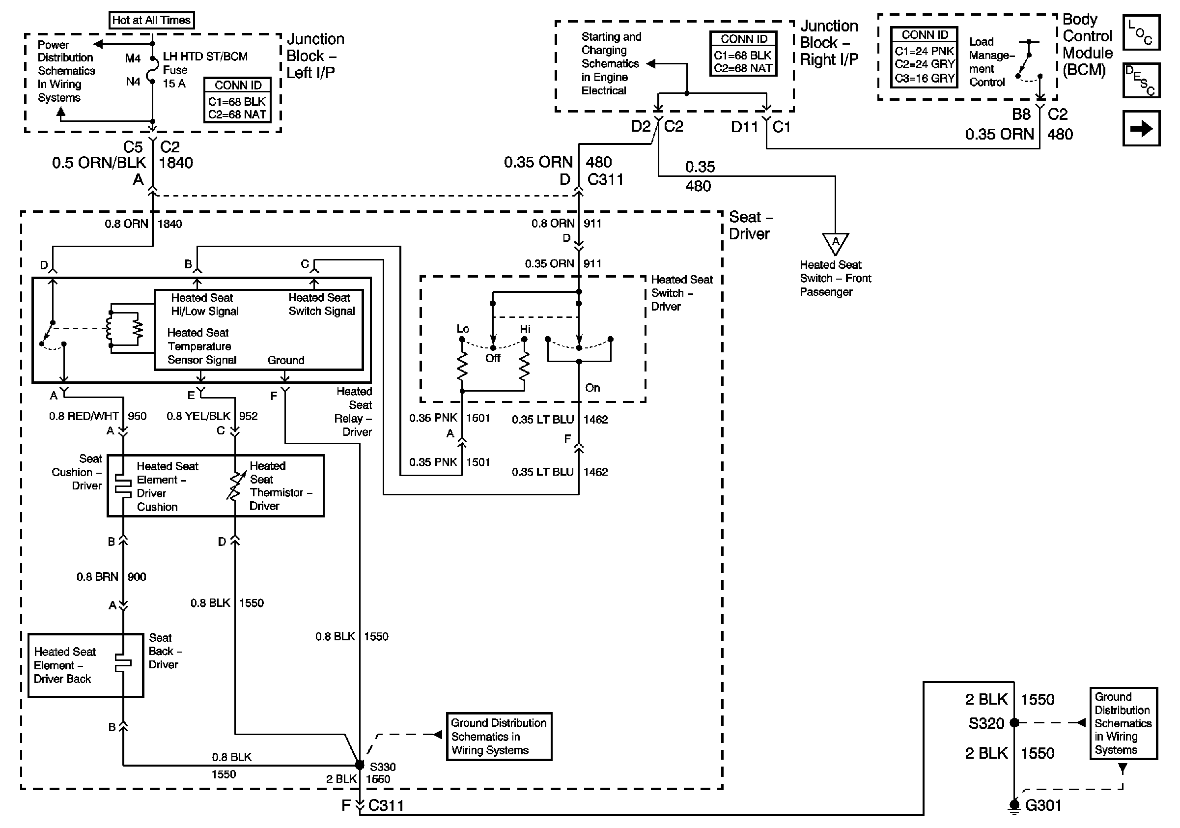
🢒 Driver Seat (Impala)
Driver Seat (Impala)
Driver Seat (Impala)
Master Electrical Component List
Heated Seats Description and Operation
Front Passenger Seat (Impala)
CLSTR/BCM, DR LK, LEFT IP, LT HTD ST/BCM, and PWR MIR Fuses, RETAINED ACCSRY PWR BRKR Circuit Breaker, HEADLAMP, and RETAINED ACCSRY PWR Relays
Load Management
Front Passenger Seat (Impala)
G301 (1 of 2)
G301 (1 of 2)