GM Service Manual Online
For 1990-2009 cars only
Makes
🢒
Chevrolet
🢒
2002
🢒
Impala
🢒 A/T References
A/T References
A/T References
Master Electrical Component List
Powertrain Control Module Description
Subsystem References
Engine Controls Schematic Icons
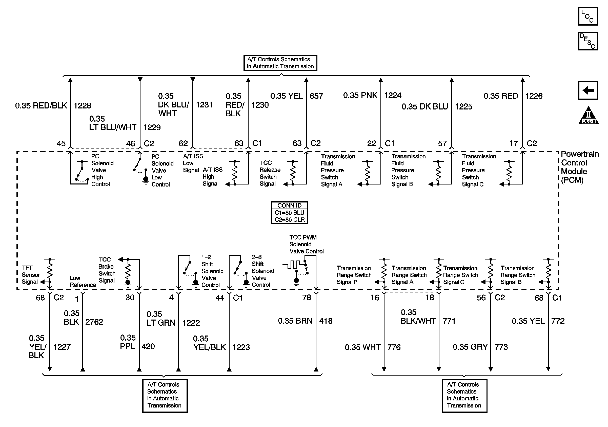
ISS, Pressure Control, Switches, and VSS
Solenoids, TCC, and TFT
PRNDL