GM Service Manual Online
For 1990-2009 cars only
Makes
🢒
Chevrolet
🢒
2005
🢒
Impala
🢒
Body
🢒
Wiring Systems
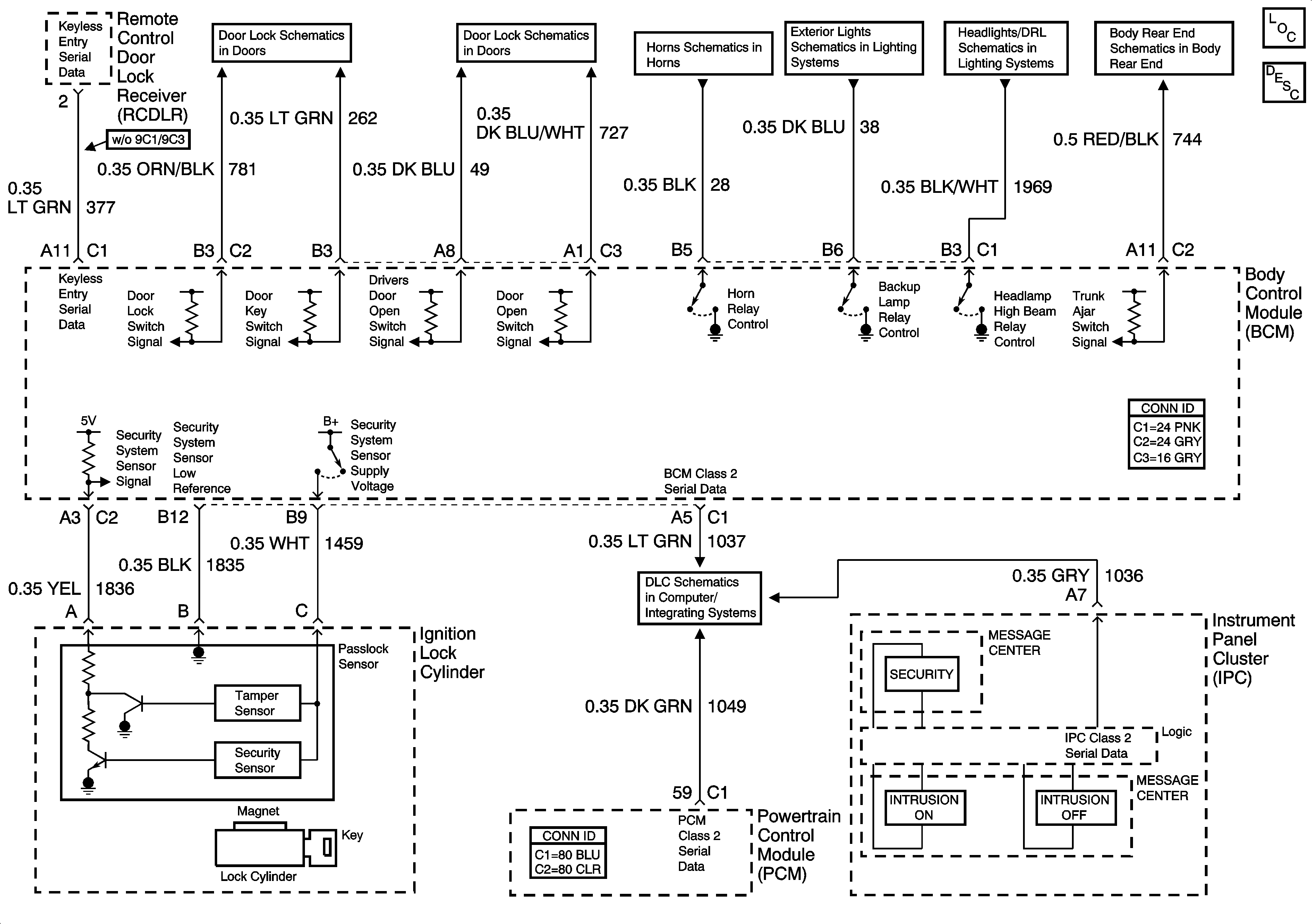
🢒 Theft Deterrent System Schematics
Master Electrical Component List
Theft Systems Description and Operation
Lock Switches
Door Open Switches - Left
Horns
Backup Lamps (w/o 9C1/9C3)
Indicators and Lamp Control
Body Rear End Schematics
DLC