GM Service Manual Online
For 1990-2009 cars only
Makes
🢒
Chevrolet
🢒
2005
🢒
Impala
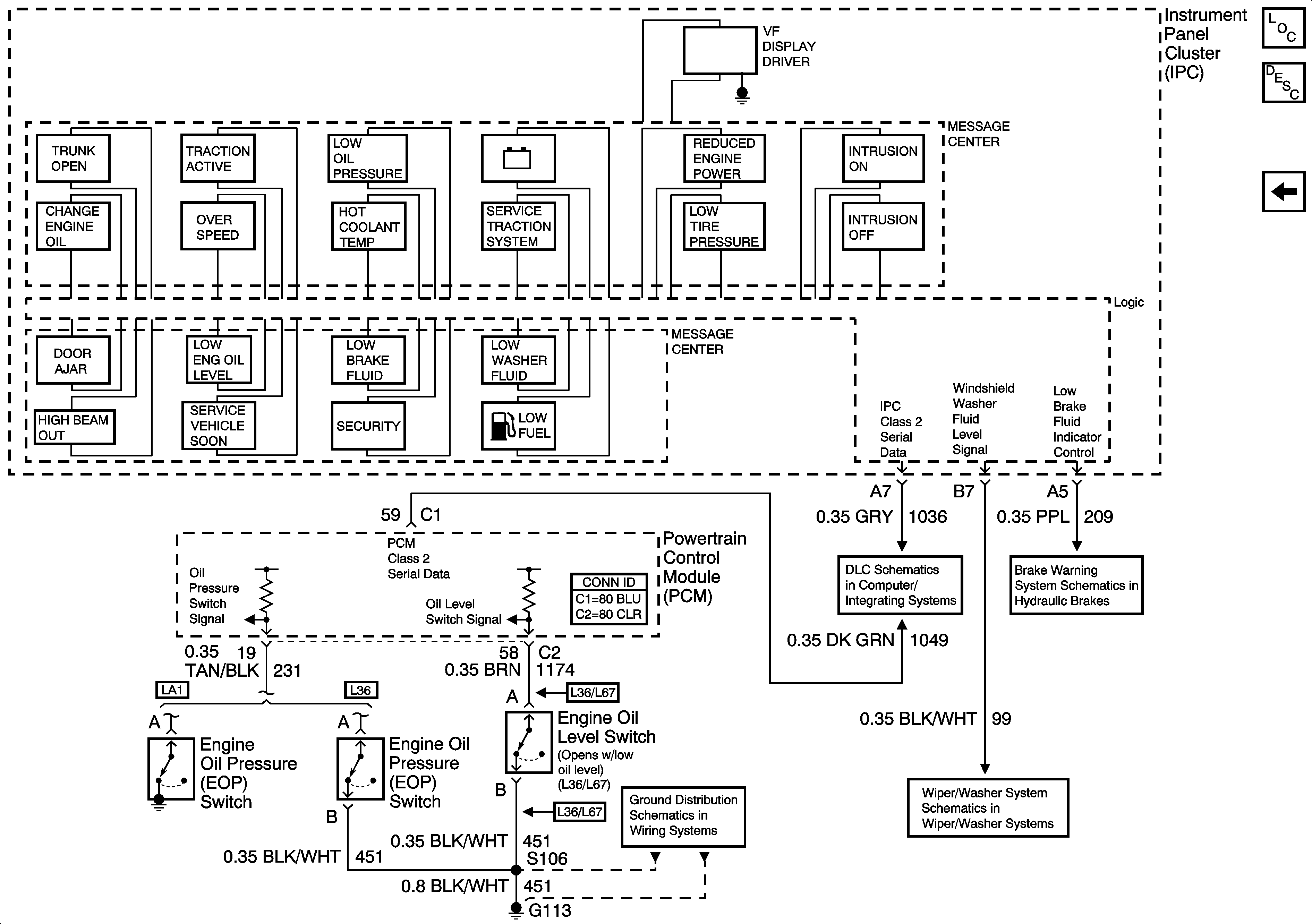
🢒 Message Center
Message Center
Message Center
Master Electrical Component List
Instrument Cluster Description and Operation
Gages, Illumination, and Indicators
G113 - 2 of 2
DLC
Brake Warning System
Wiper/Washer System