GM Service Manual Online
For 1990-2009 cars only
Makes
🢒
Chevrolet
🢒
2005
🢒
Impala
🢒 6-Way Power Controls
6-Way Power Controls
6-Way Power Controls
Master Electrical Component List
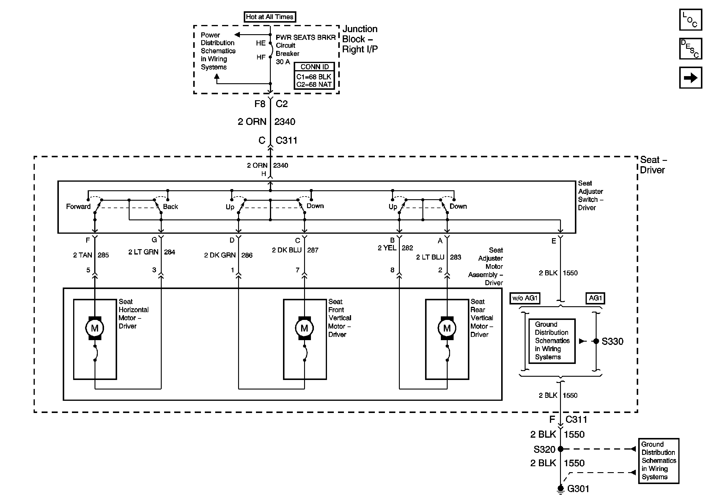
Power Seats System Description and Operation
Heat Controls (Monte Carlo)
B/U LP, DIC/RKE, PWR DROP and RT HTD ST Fuses, PWR SEATS BRKR Circuit Breaker
G301 - 1 of 2
G301 - 1 of 2