GM Service Manual Online
For 1990-2009 cars only
Makes
🢒
Chevrolet
🢒
2005
🢒
Impala
🢒 Antennas, Data Link, and Power
Antennas, Data Link, and Power
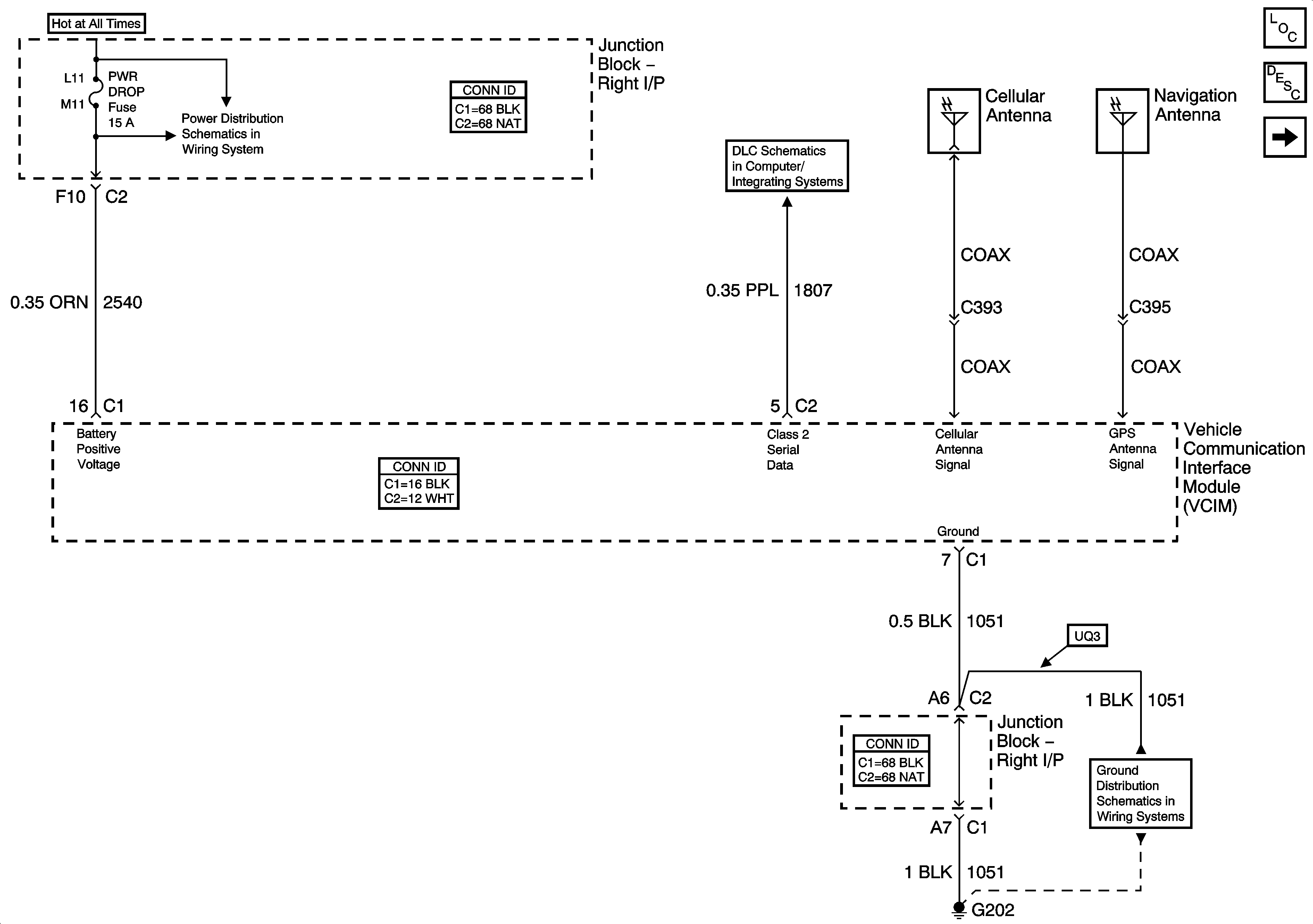
Antennas, Data Link, Ground, and Power
Master Electrical Component List
OnStar Description and Operation
Audio Communication and Inside Rearview Mirror
B/U LP, DIC/RKE, PWR DROP and RT HTD ST Fuses, PWR SEATS BRKR Circuit Breaker
DLC
G202