GM Service Manual Online
For 1990-2009 cars only
Makes
🢒
Chevrolet
🢒
2000
🢒
Malibu
🢒 Automatic Transmission
Automatic Transmission
Automatic Transmission
Engine Controls Components
Information Sensors/Switches Description
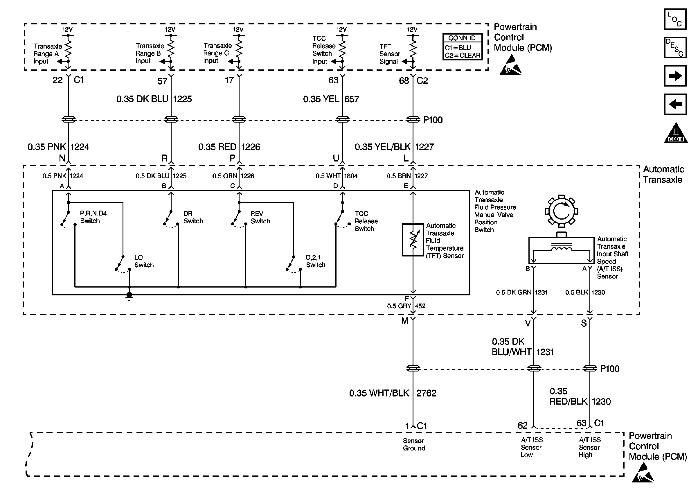
Power, Ground, Auto Trans, and Cruise
Power, Ground, AIR and A/C Compressor Clutch
OBD II Symbol Description Notice
Handling ESD Sensitive Parts Notice
Handling ESD Sensitive Parts Notice