GM Service Manual Online
For 1990-2009 cars only
Makes
🢒
Chevrolet
🢒
2000
🢒
Prizm
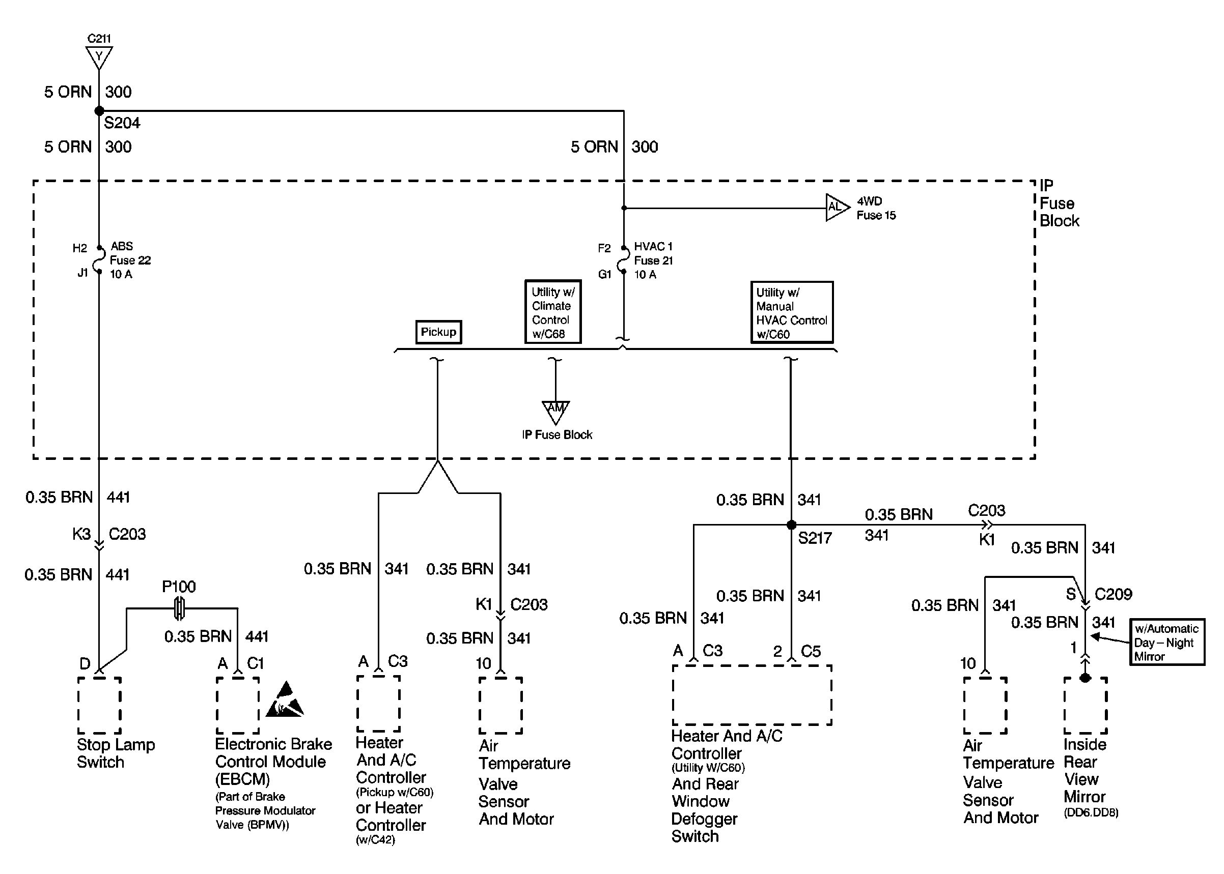
🢒 Cell 10: ABS and HVAC 1 Fuses
Cell 10: ABS and HVAC 1 Fuses
Cell 10: ABS and HVAC 1 Fuses
Power and Grounding Components
Cell 10: 4WD and HVAC Fuses
Cell 10: IP Fuse Block and S290
Cell 10: Ignition Switch
Cell 10: 4WD and HVAC Fuses
Cell 10: 4WD and HVAC Fuses
Handling ESD Sensitive Parts Notice