GM Service Manual Online
For 1990-2009 cars only
Makes
🢒
Chevrolet
🢒
2001
🢒
Prizm
🢒
Body and Accessories
🢒
Wiring Systems
🢒 SIR Schematics
Figure
1:
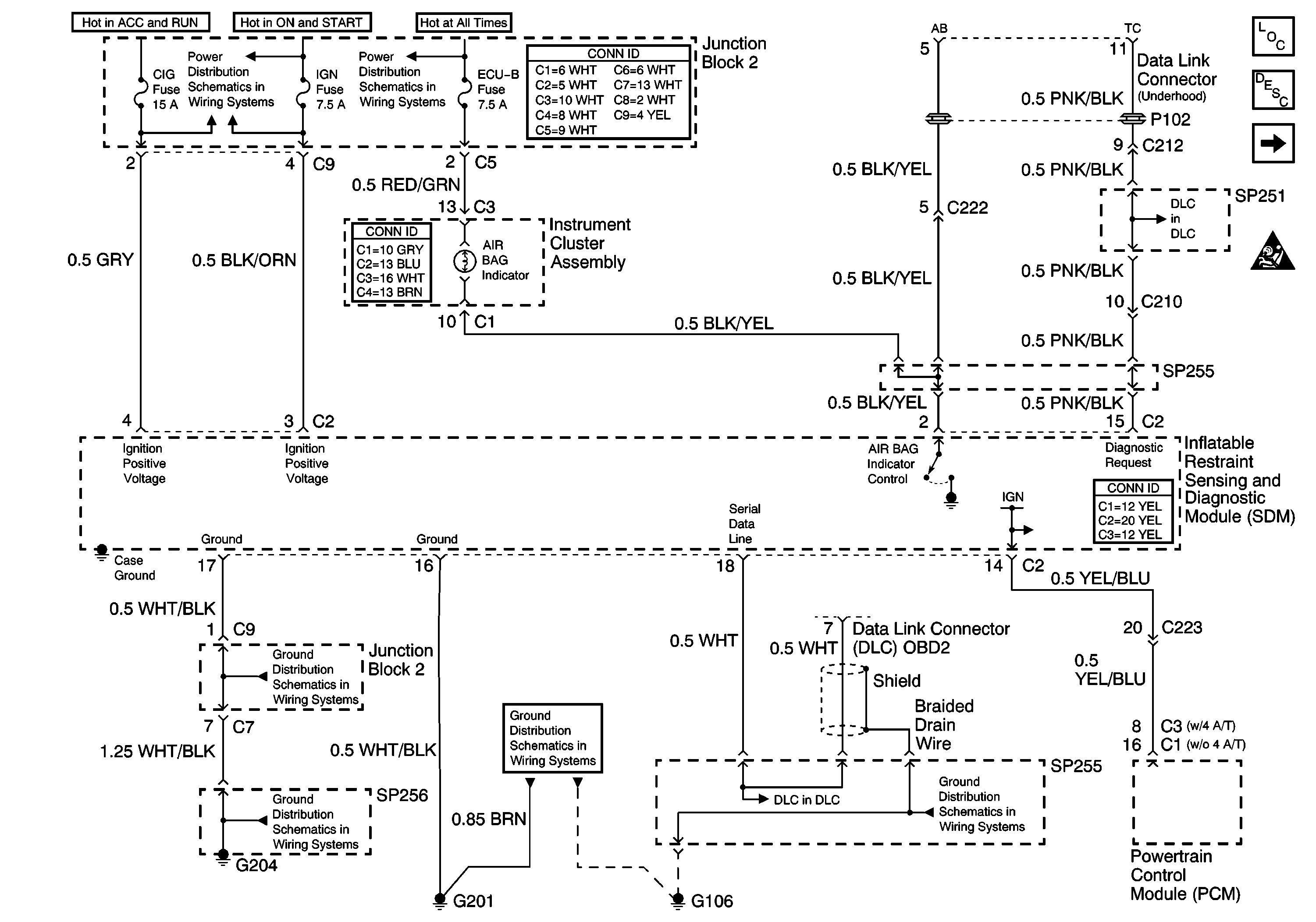
AIr Bag Indicator and Inflatable Restraint Sensing and Diagnostic Module
Master Electrical Component List
SIR System Description and Operation
SIR Handling Caution
Inflatable Restraint Steering Wheel Module Coil, Discriminating Sensors, and Seat Belts
Data Link Connector (DLC) Underhood
G105, G106 and S207
Data Link Connector (DLC) OBD2
G105, G106 and S207
G204, Junction Block 1, and SP256
Junction Block 2
ABS, ALT, AMI, DEF, DYL, ECU-B, HTR, OBD, POWER and STOP Fuses
Ignition Switch, IGN and ST Fuses
Figure
2:
Inflatable Restraint Steering Wheel Module Coil, Discriminating Sensors, and Seat Belts
Master Electrical Component List
SIR System Description and Operation
SIR Handling Caution
Inflatable Restraint Seat Module and Impact Sensors
Air Bag Indicator and Inflatable Restraint Sensing and Diagnostic Module
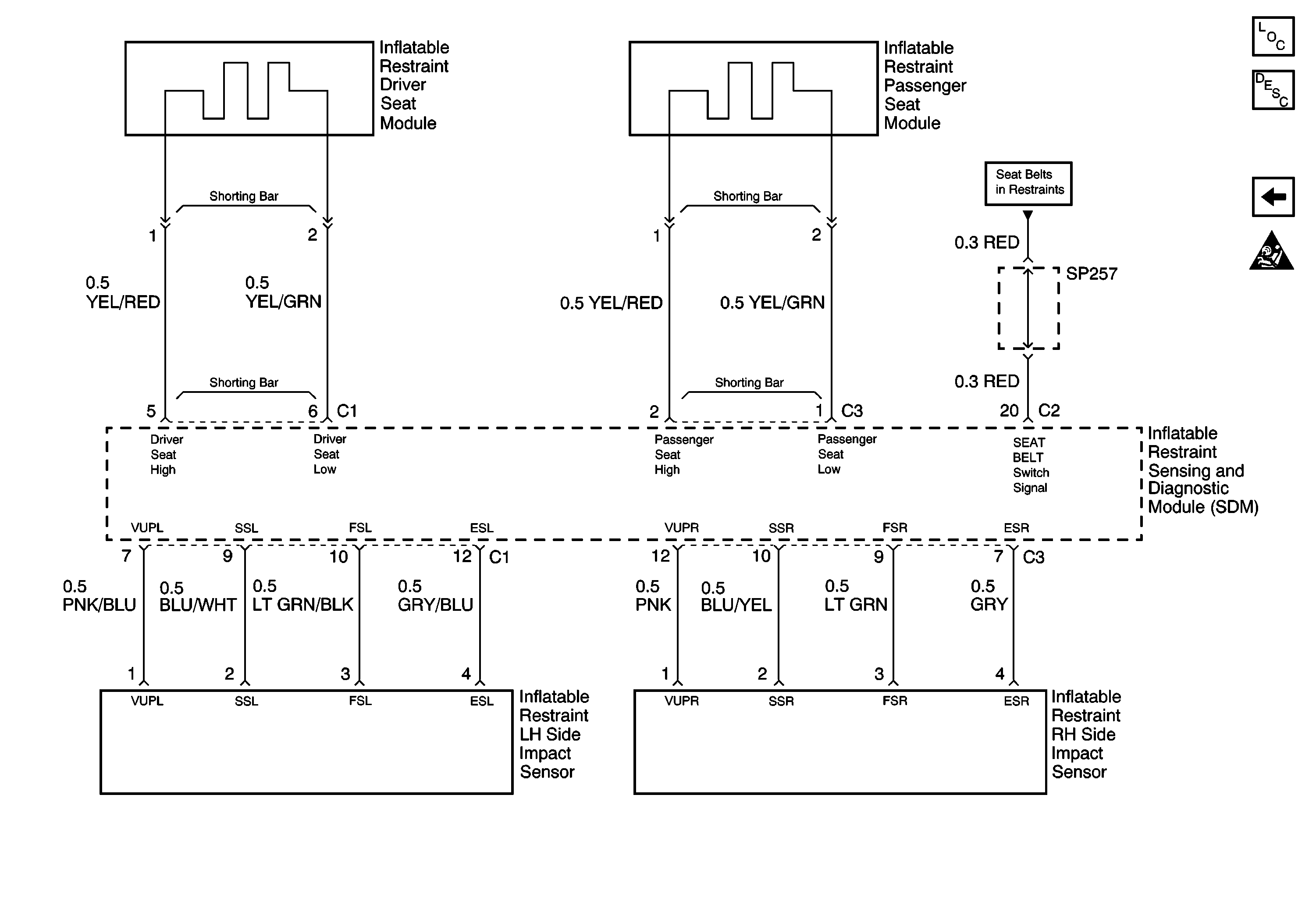
Figure
3:
Inflatable Restraint Seat Module and Impact Sensors
Master Electrical Component List
SIR System Description and Operation
SIR Handling Caution
Inflatable Restraint Steering Wheel Module Coil, Discriminating Sensors, and Seat Belts