GM Service Manual Online
For 1990-2009 cars only
Makes
🢒
Chevrolet
🢒
2001
🢒
Prizm
🢒 Ignition Coils
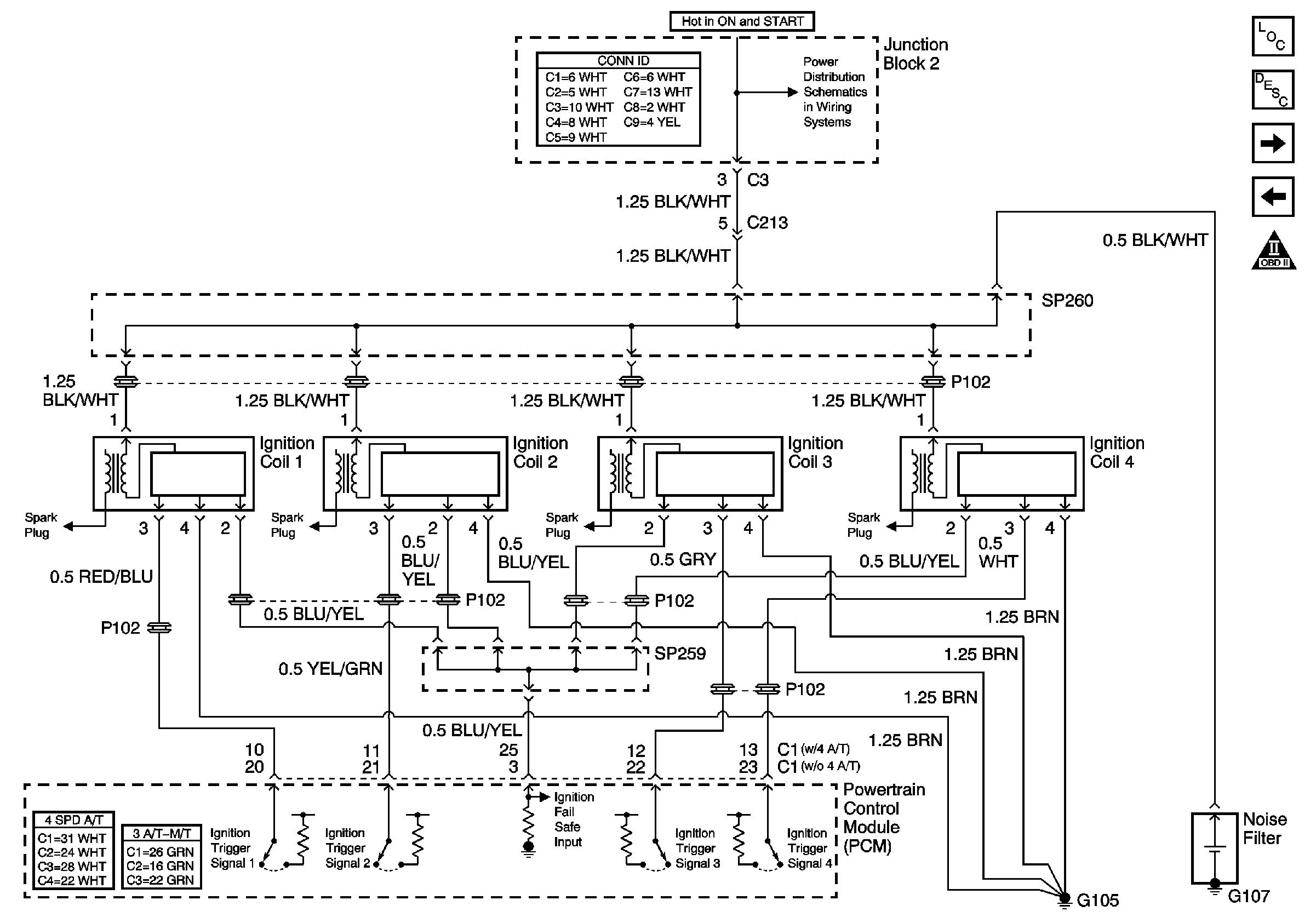
Ignition Coils
Ignition Coils
Master Electrical Component List
Powertrain Control Module Description
OBD II Symbol Description Notice
CMP Actuator Solenoid Valve, KS, CMP Sensor, CKP Sensor
DLC and Fuse Relay Block
G105, G106 and S207
Ignition Switch, IGN and ST Fuses