GM Service Manual Online
For 1990-2009 cars only
Makes
🢒
Chevrolet
🢒
2001
🢒
Prizm
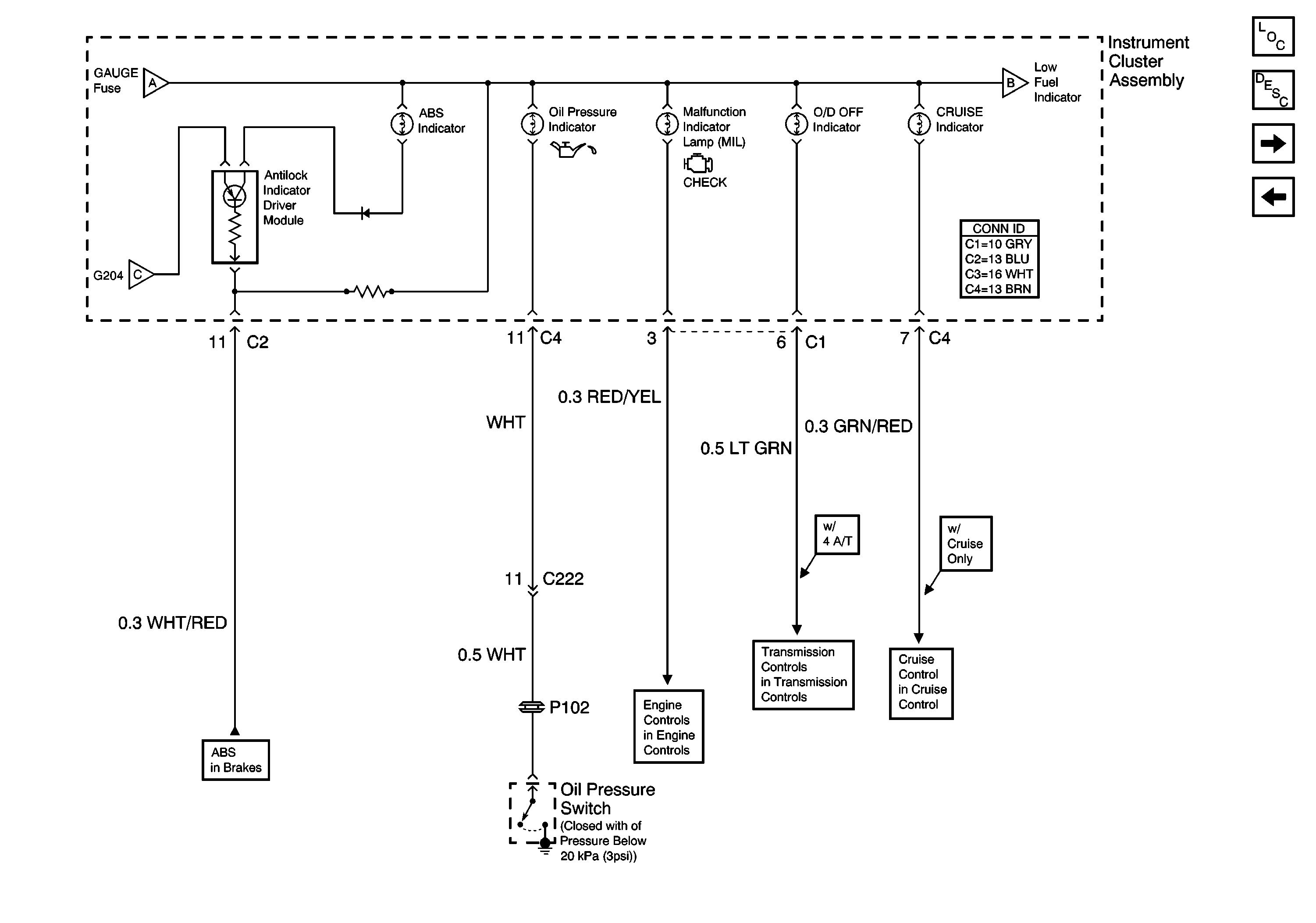
🢒 Oil Pressure Switch
Oil Pressure Switch
Oil Pressure Switch
Master Electrical Component List
Instrument Cluster Description and Operation
Fuel Sender Assembly, Ambient Air Temperature Sensor, and ECT Sensor
Instrument Cluster Assembly
Cruise Control Servo and Stoplamp Switch
Cruise Control Module, PCM, Overdrive Switch, TCC Solenoid, Shift Solenoid No. 1 and Shift Solenoid No. 2
ABS Indicator Control, ABS Warning Indicator, and BPMV
Fuel Sender Assembly, Ambient Air Temperature Sensor, and ECT Sensor
Instrument Cluster Assembly
Instrument Cluster Assembly