GM Service Manual Online
For 1990-2009 cars only
Makes
🢒
Chevrolet
🢒
1998
🢒
S10 Pickup - 2WD
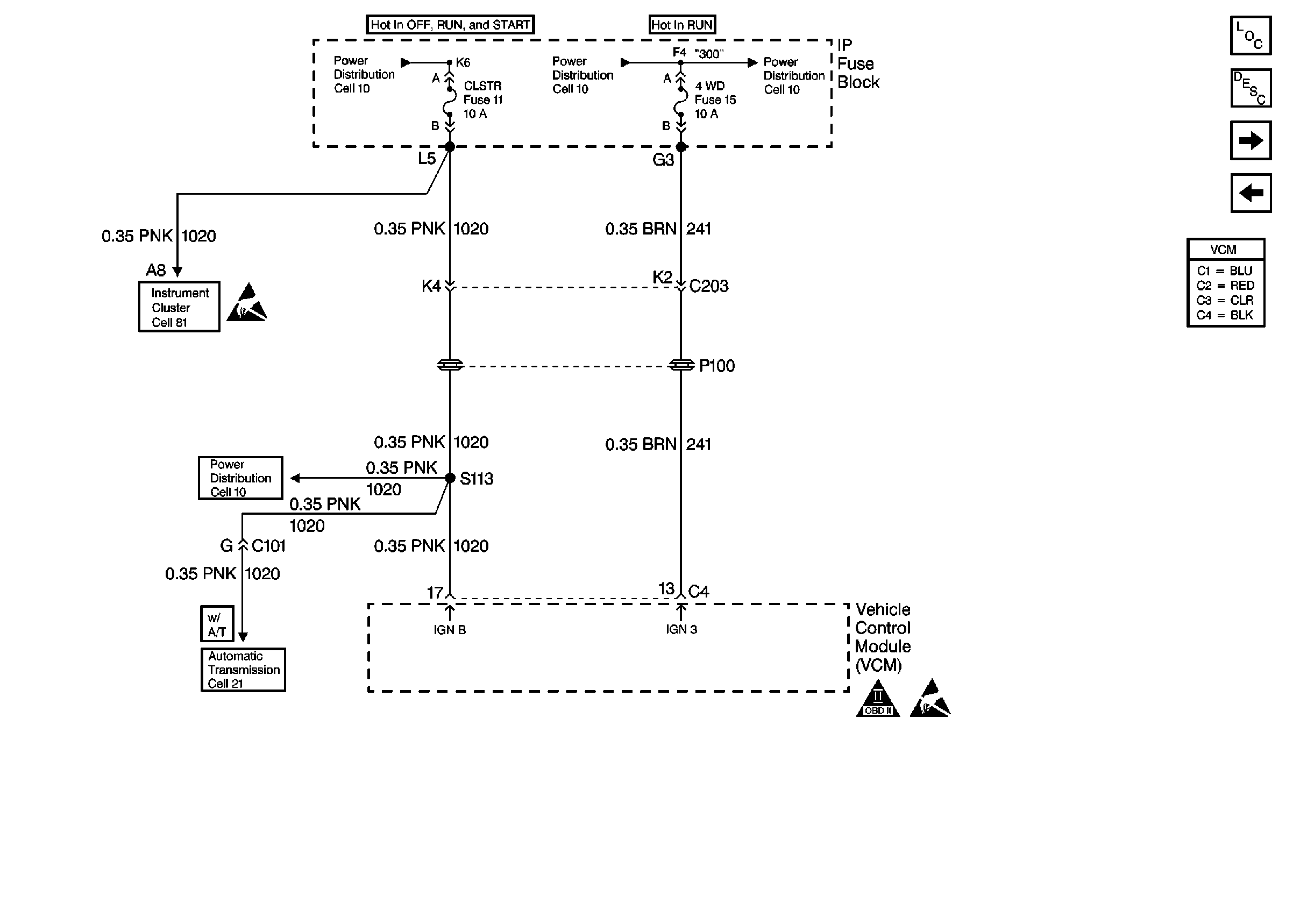
🢒 Power Sheet 2: W/ Two Wheel Drive
Power Sheet 2: W/ Two Wheel Drive
Power Sheet 2: W/ Two Wheel Drive
Handling Electrostatic Discharge Sensitive Parts Notice
Automatic Transmission Valve Controls
OBD II Symbol Description Notice
Handling Electrostatic Discharge Sensitive Parts Notice
Engine Controls Components
Vehicle Control Module Description
Power Sheet 2: W/ Electric Shift 4WD
UBEC Power, Grounding, Generator, And MIL