GM Service Manual Online
For 1990-2009 cars only
Makes
🢒
Chevrolet
🢒
2000
🢒
S10 Pickup - 2WD
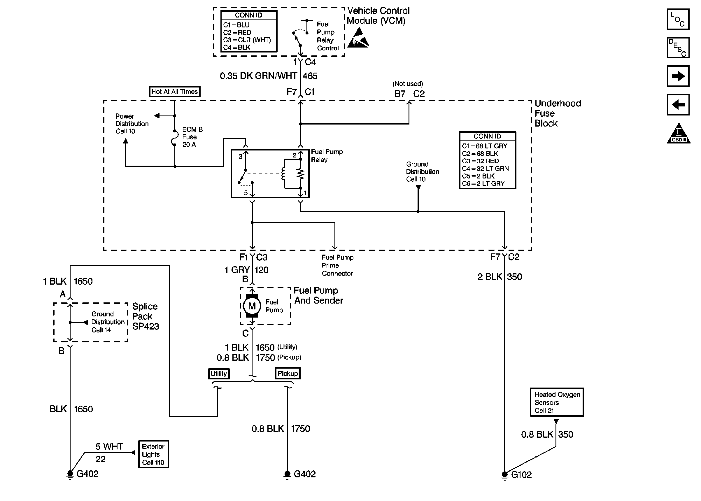
🢒 Cell 21: Fuel Pump Controls
Cell 21: Fuel Pump Controls
Cell 21: Fuel Pump Controls
VCM Connector End Views
Handling ESD Sensitive Parts Notice
Power and Grounding Connector End Views
Cell 14: G102 (Except Envoy)
Cell 10: ECM B Fuse and Horn, Rear Defogger Relays
Cell 14: G402 (Utility)
Cell 110: License and Side Marker Lamps
Cell 21: Heated Oxygen Sensors
Engine Controls Components
Vehicle Control Module Description
Cell 21: Fuel Injection Controls
Cell 21: Fuel Level Sensor
OBD II Symbol Description Notice