GM Service Manual Online
For 1990-2009 cars only
Makes
🢒
Chevrolet
🢒
2000
🢒
S10 Pickup - 2WD
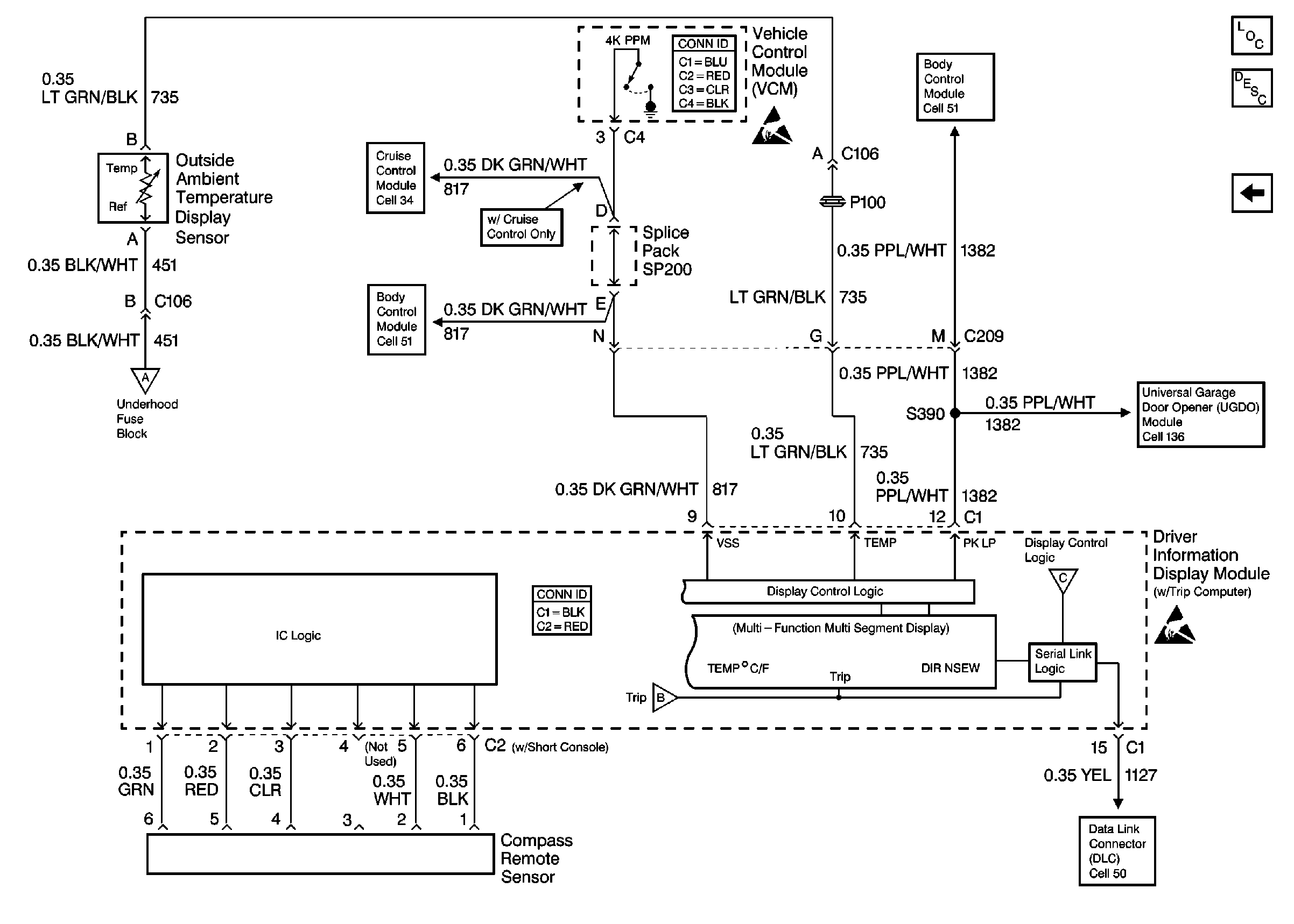
🢒 Cell 86: Outside Ambient Temperature Display Sensor (w/ Trip Computer)
Cell 86: Outside Ambient Temperature Display Sensor (w/ Trip Computer)
Cell 86: Outside Ambient Temperature Display Sensor (w/ Trip Computer)
Cell 86: Power and Ground (w/ Trip Computer)
Cell 34: Cruise Control Module and PCM/VCM
Cell 51: Power and Ground
VCM Connector End Views
Handling ESD Sensitive Parts Notice
Cell 51: Automatic Transmission Preference Switch and S390
Driver Information System Components
Driver Information Center (DIC) or Message Center Circuit Description
Cell 86: Power and Ground (w/ Trip Computer)
Cell 136
Cell 86: Power and Ground (w/ Trip Computer)
Cell 86: Power and Ground (w/ Trip Computer)
Cell 50: Class 2 Communication (4.3L)
Handling ESD Sensitive Parts Notice
Driver Information Systems Connector End Views