GM Service Manual Online
For 1990-2009 cars only
Makes
🢒
Chevrolet
🢒
2000
🢒
S10 Pickup - 2WD
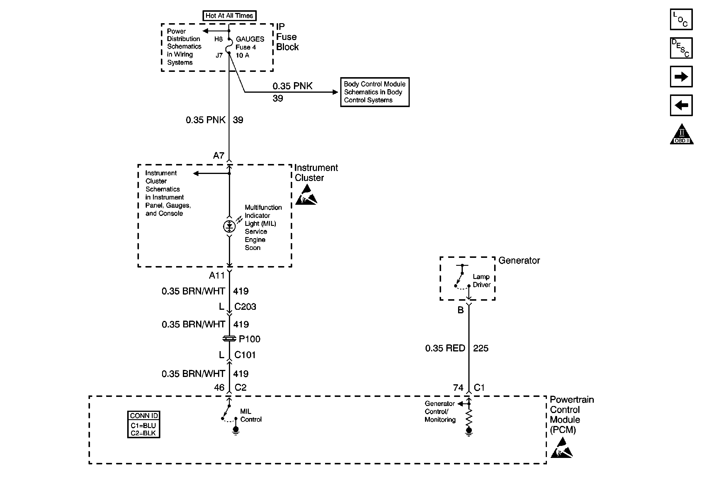
🢒 MIL and Generator
MIL and Generator
MIL and Generator
Engine Controls Components
Powertrain Control Module Description
Data Link Connector (DLC)
Power and Grounding
OBD II Symbol Description Notice
AUX PWR, RDO BATT and HDLP SW Fuses
Power and Ground
Power
Handling ESD Sensitive Parts Notice
Powertrain Control Module Connector End Views
Handling ESD Sensitive Parts Notice