GM Service Manual Online
For 1990-2009 cars only
Makes
🢒
Chevrolet
🢒
2000
🢒
S10 Pickup - 2WD
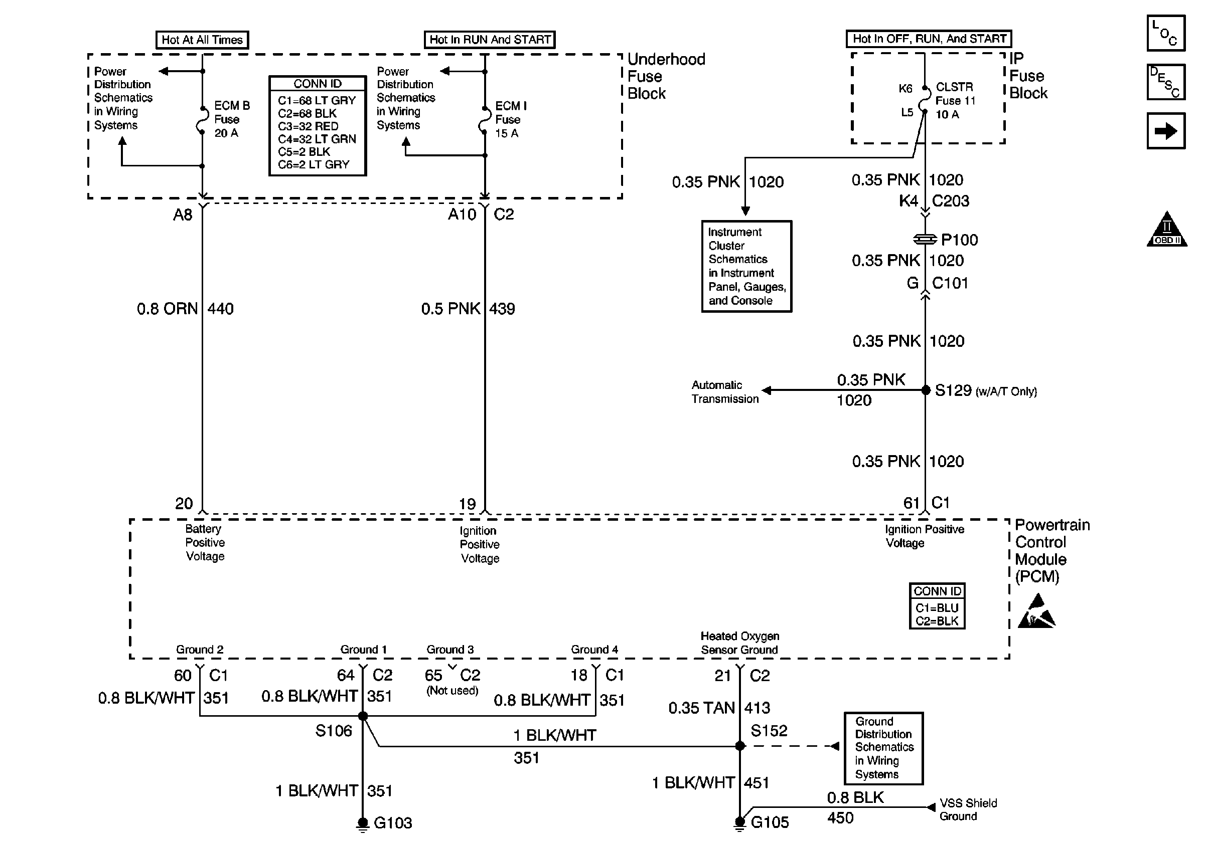
🢒 Power and Grounding
Power and Grounding
Power and Grounding
Engine Controls Components
Powertrain Control Module Description
MIL and Generator
OBD II Symbol Description Notice
B+ Bus Bar
Power and Grounding Connector End Views
ECM I Fuse
Power
Automatic Transmission Valve Controls
Powertrain Control Module Connector End Views
Handling ESD Sensitive Parts Notice
G103 and G105 (2.2L)
Vehicle Speed Sensor (VSS) Signal