GM Service Manual Online
For 1990-2009 cars only
Makes
🢒
Chevrolet
🢒
2000
🢒
S10 Pickup - 2WD
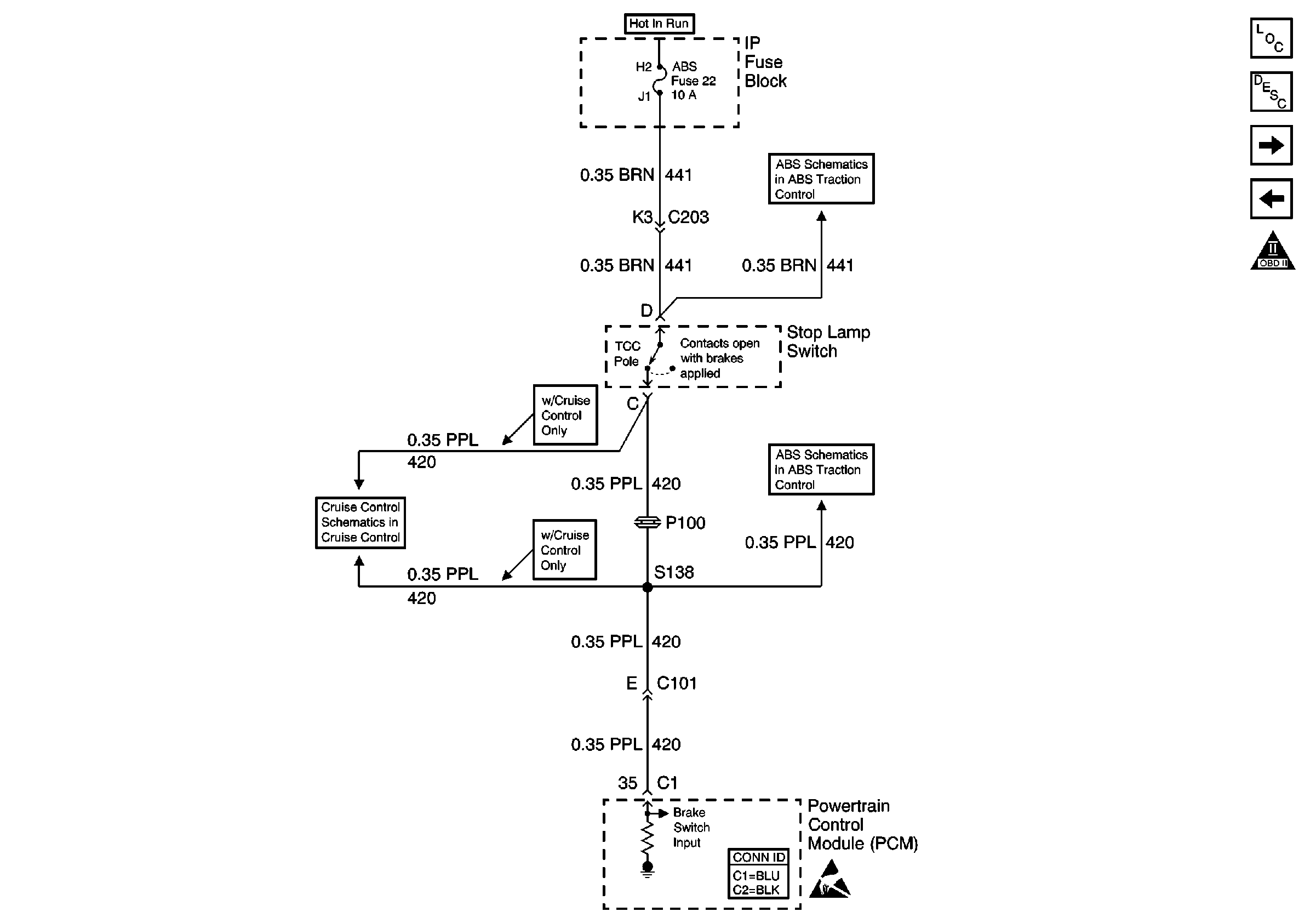
🢒 Brake Switch Input
Brake Switch Input
Brake Switch Input
Engine Controls Components
Powertrain Control Module Description
Automatic Transmission Switch Inputs
A/C Compressor Controls
OBD II Symbol Description Notice
Power and Ground
Clutch Pedal Position Switch and Stoplamp Switch
Power and Ground
Powertrain Control Module Connector End Views
Handling ESD Sensitive Parts Notice