GM Service Manual Online
For 1990-2009 cars only
Makes
🢒
Chevrolet
🢒
2000
🢒
S10 Pickup - 2WD
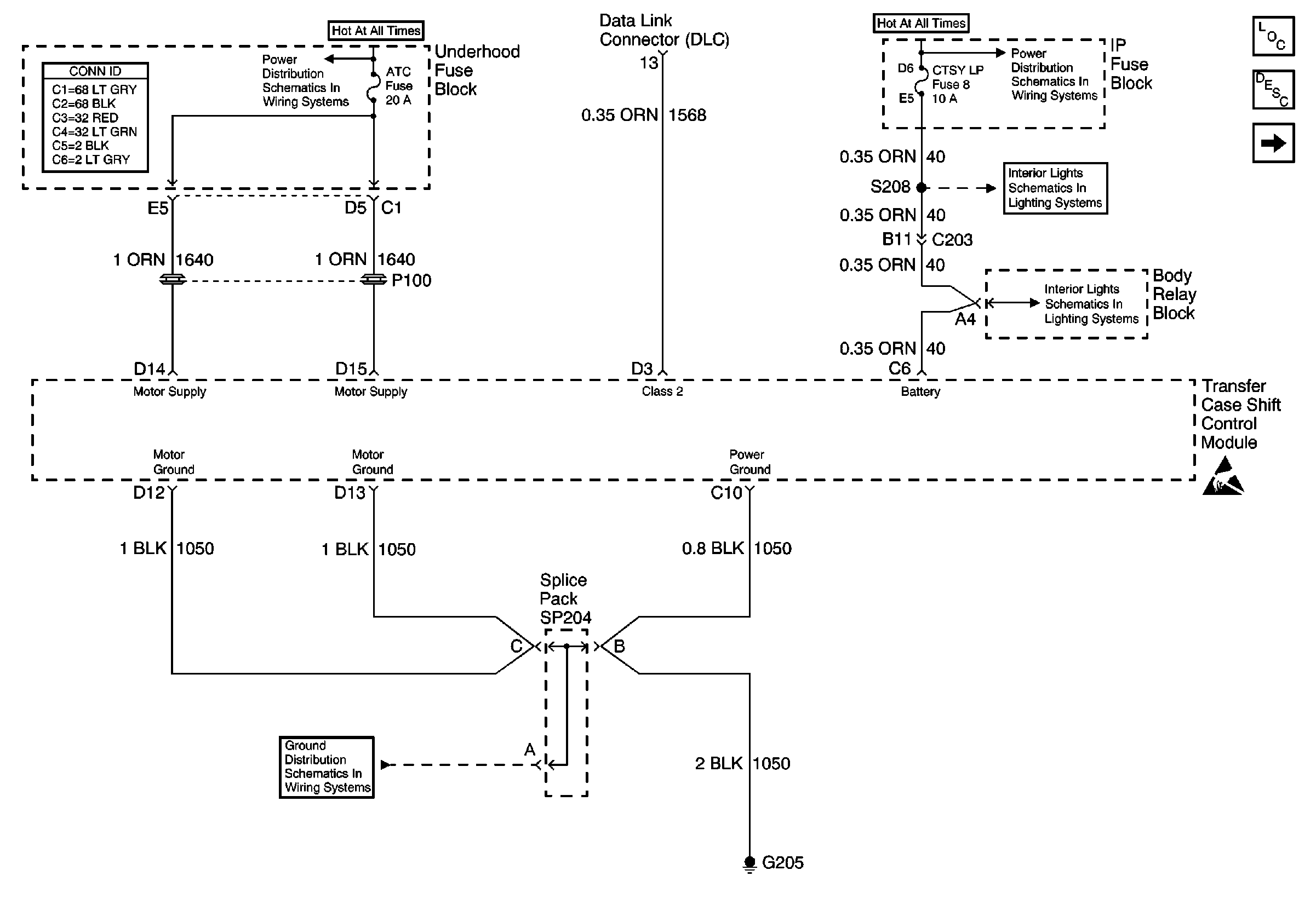
🢒 Power, Ground and Data Link Connector (DLC)
Power, Ground and Data Link Connector (DLC)
Power, Ground and Data Link Connector (DLC)
Transfer Case Control Components
Transfer Case Control Module Description
Electric Shift Transfer Case
Power and Grounding Connector End Views
B+ Bus Bar
INT BATT, PWR LKS, CTSY LP and CIGAR LTR Fuses
CTSY LP Fuse, Courtesy Lamp Relay and Courtesy Lamps
CTSY LP Fuse, Courtesy Lamp Relay and Courtesy Lamps
Handling ESD Sensitive Parts Notice
G205 and G206