GM Service Manual Online
For 1990-2009 cars only
Makes
🢒
Chevrolet
🢒
2000
🢒
S10 Pickup - 2WD
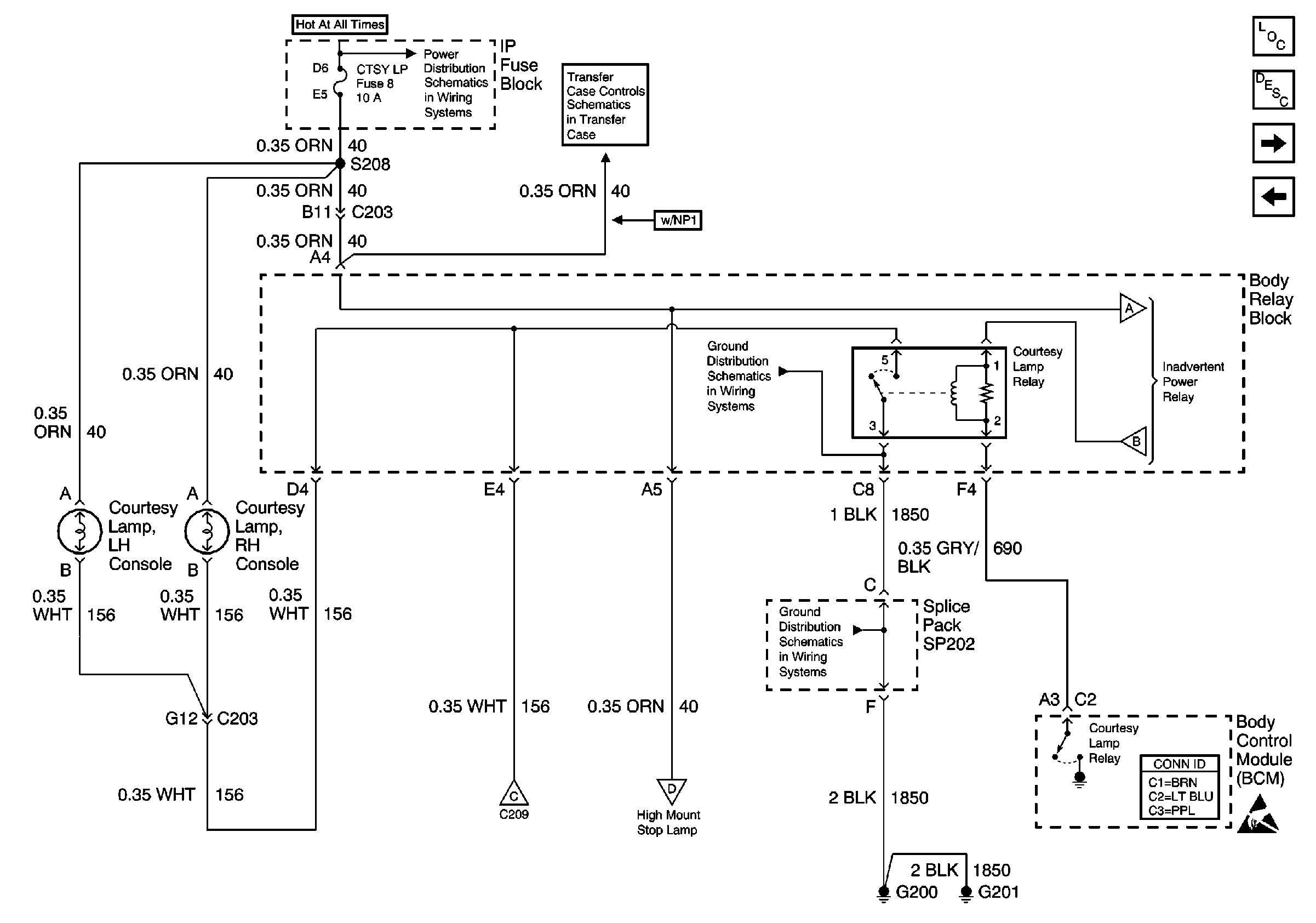
🢒 CTSY LP Fuse, Courtesy Lamp Relay and Courtesy Lamps
CTSY LP Fuse, Courtesy Lamp Relay and Courtesy Lamps
CTSY LP Fuse, Courtesy Lamp Relay and Courtesy Lamps
Lighting Systems Components
Interior Lights Circuit Description
Front Door Jamb Switches and Door Handle Switch, LH
Headlamp Switch and HDLP SW, PARK LP Fuses
INT BATT, PWR LKS, CTSY LP and CIGAR LTR Fuses
Power, Ground and Data Link Connector (DLC)
G200, G201 and G207
Inadvertent Power Relay, IP Compartment and Underhood Lamps
Inside Rear View Mirror and Visor Vanity Mirror Lamps
Inside Rear View Mirror and Visor Vanity Mirror Lamps
G200, G201 and G207
Body Control System Connector End Views
Handling ESD Sensitive Parts Notice