GM Service Manual Online
For 1990-2009 cars only
Makes
🢒
Chevrolet
🢒
2000
🢒
S10 Pickup - 2WD
🢒 BCM Inputs and Outputs
BCM Inputs and Outputs
BCM Inputs and Outputs
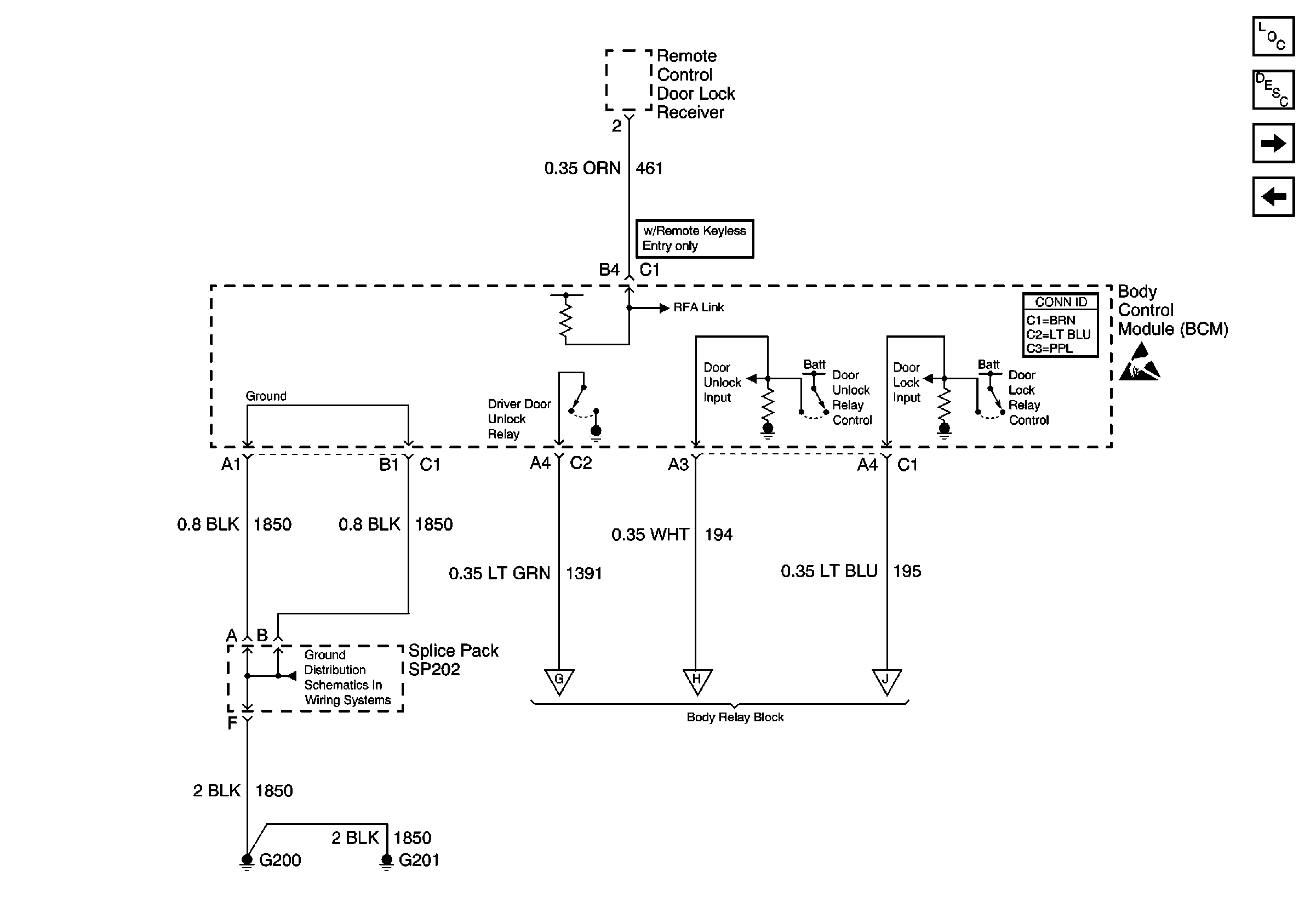
Power Door Systems Components
Power Door Locks Circuit Description
Relay Control
Liftgate/Endgate Lock Cylinder Switch Inputs (Utility)
Body Control System Connector End Views
Handling ESD Sensitive Parts Notice
G200, G201 and G207 (Pickup)
Relay Control
Relay Control
Relay Control