GM Service Manual Online
For 1990-2009 cars only
Makes
🢒
Chevrolet
🢒
2000
🢒
S10 Pickup - 2WD
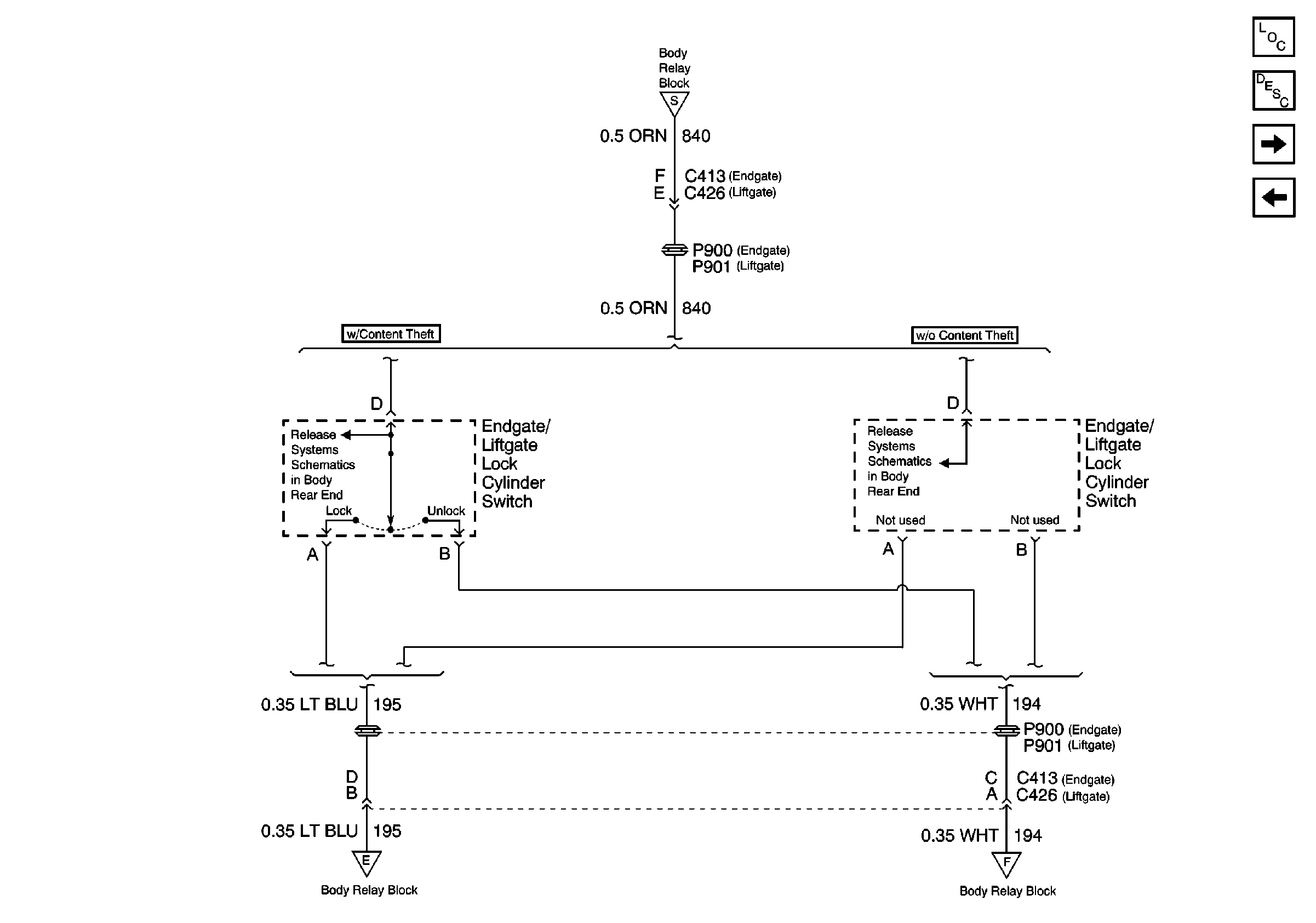
🢒 Liftgate/Endgate Lock Cylinder Switch Inputs (Utility)
Liftgate/Endgate Lock Cylinder Switch Inputs (Utility)
Liftgate/Endgate Lock Cylinder Switch Inputs (Utility)
Power Door Systems Components
Power Door Locks Circuit Description
BCM Inputs and Outputs
Door Lock Switch Inputs
Door Lock Switch Inputs
Output
Output
Relay Control
Relay Control