GM Service Manual Online
For 1990-2009 cars only
Makes
🢒
Chevrolet
🢒
2003
🢒
SSR
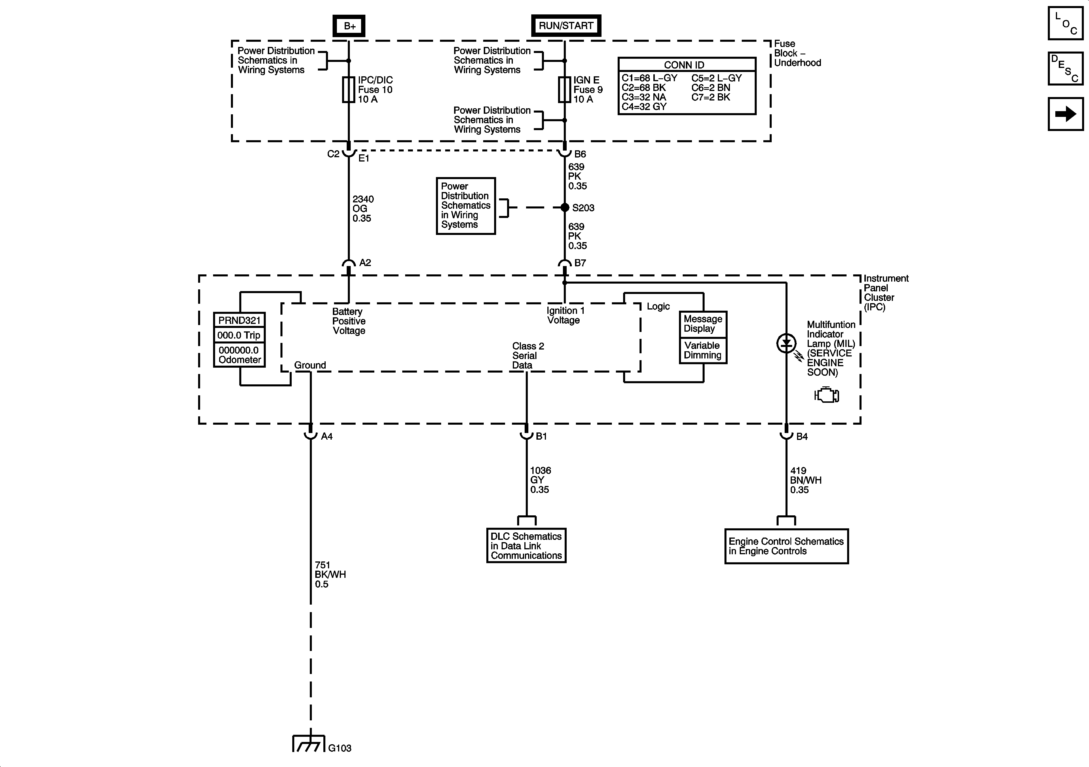
🢒 Power, Ground, Serial Data and MIL
Power, Ground, Serial Data and MIL
Power, Ground, Serial Data and MIL
Master Electrical Component List
Instrument Cluster Description and Operation
Gages and Engine Oil Pressure (EOP) Sensor
B+ BUS - Fuse Block Underhood
ACCY/RUN and RUN/START BUS BAR
IGN E, TBC IGN 1, BACK UP and BTSI Fuses
IGN E, TBC IGN 1, BACK UP and BTSI Fuses
Data Link Connector (DLC) Schematics
Power, Ground, Serial Data and MIL
G103, G104