GM Service Manual Online
For 1990-2009 cars only
Makes
🢒
Chevrolet
🢒
2005
🢒
SSR
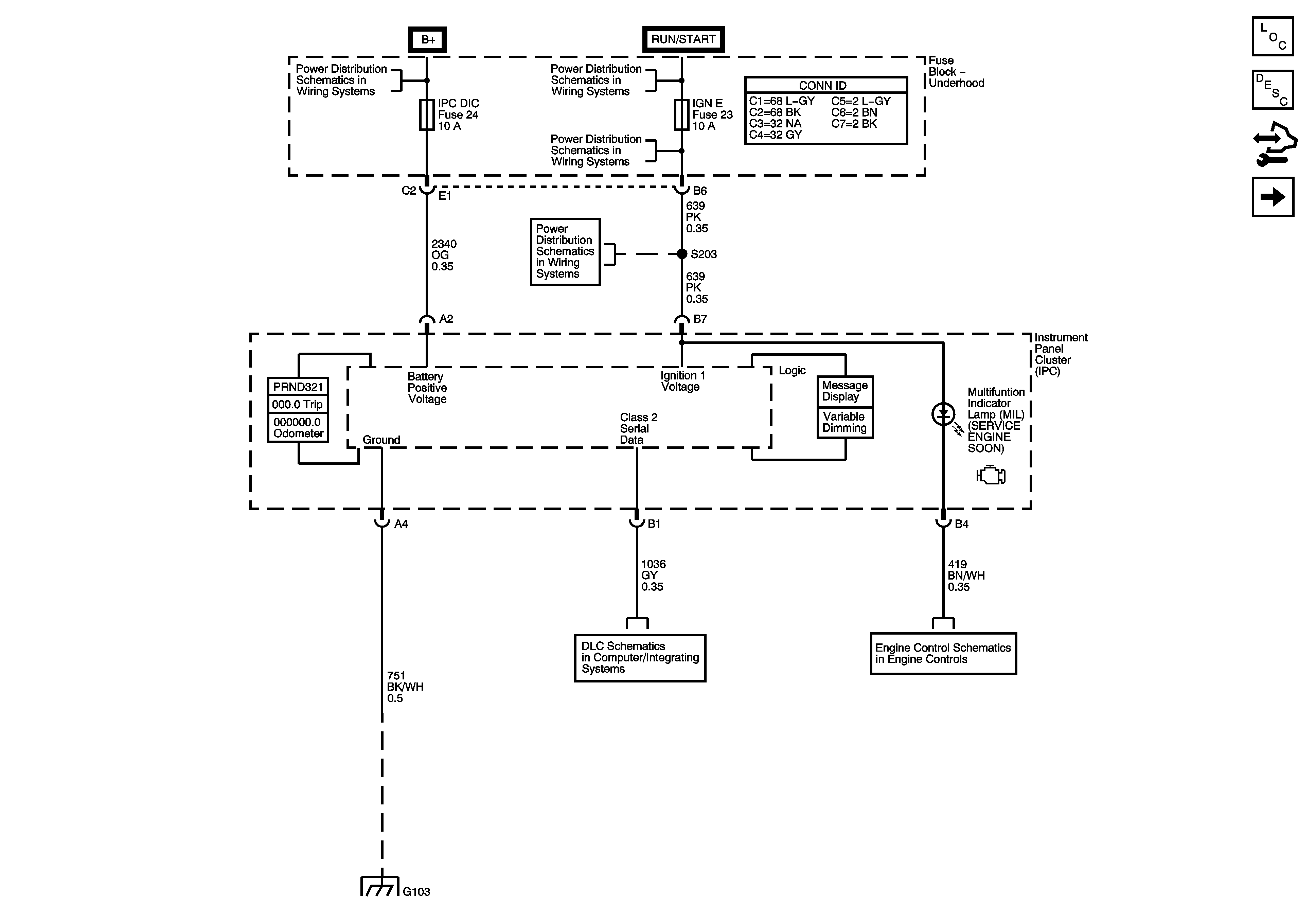
🢒 Power, Ground, Serial Data and MIL
Power, Ground, Serial Data and MIL
Power, Ground, Serial Data and MIL
Master Electrical Component List
Instrument Cluster Description and Operation
Control Module References
Gages and Engine Oil Pressure (EOP)
B+ Bus Underhood Fuse Block
Ignition Switch - ACCY/RUN and RUN/START Bus Bar and IGN B Fuse
BCK/UP REV LK OUT, BTSI, and IGN E Fuses
BCK/UP REV LK OUT, BTSI, and IGN E Fuses
Data Link Connector Schematics
Module Power, Ground, Serial Data and MIL
G103, G104