GM Service Manual Online
For 1990-2009 cars only
Makes
🢒
Chevrolet
🢒
2001
🢒
Tracker - 2WD
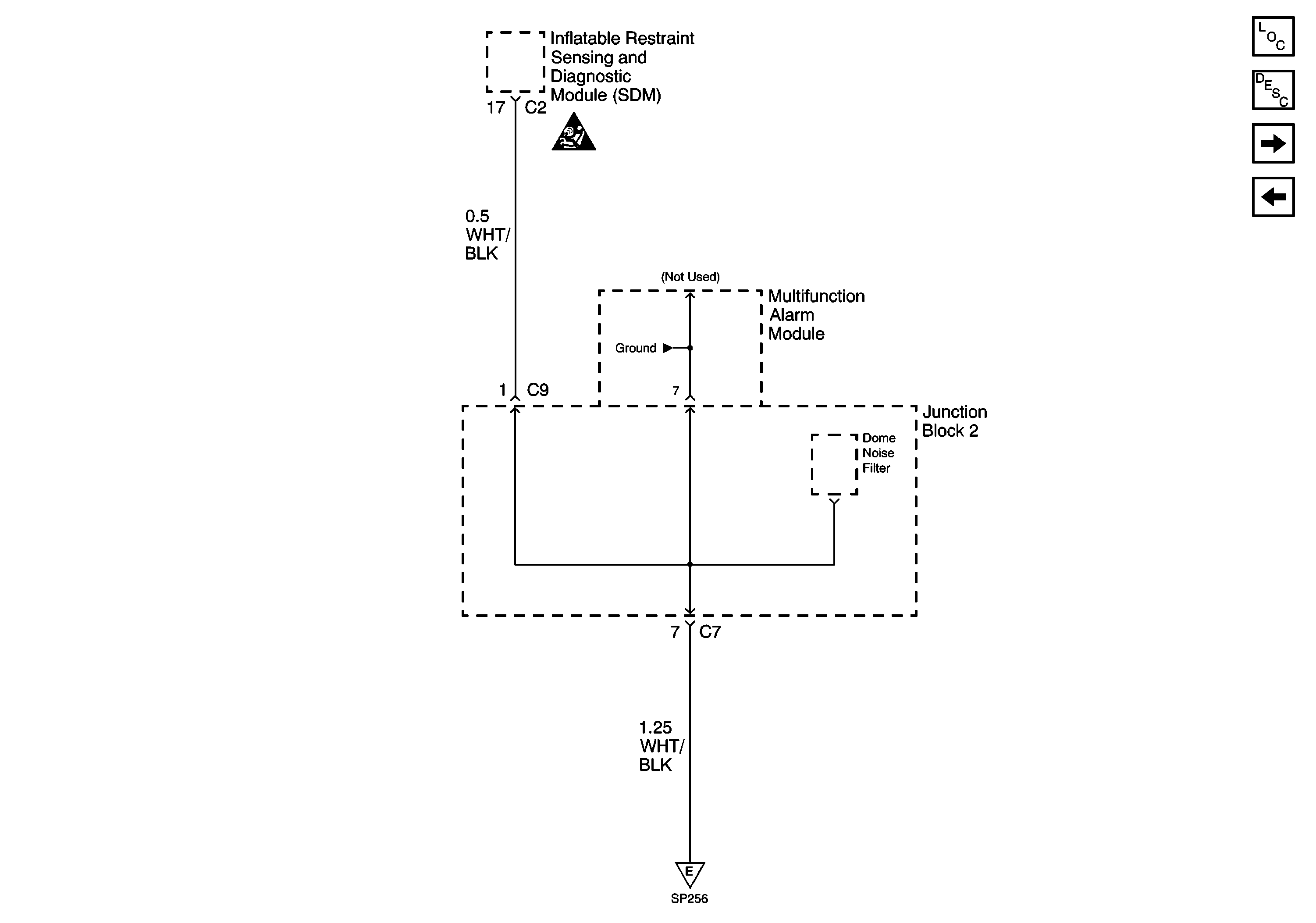
🢒 Junction Block 2
Junction Block 2
Junction Block 2
Master Electrical Component List
G201 and G202
SP550 and SP551
SIR Handling Caution
G204, Junction Block 1, and SP256