GM Service Manual Online
For 1990-2009 cars only
Makes
🢒
Chevrolet
🢒
2001
🢒
Tracker - 2WD
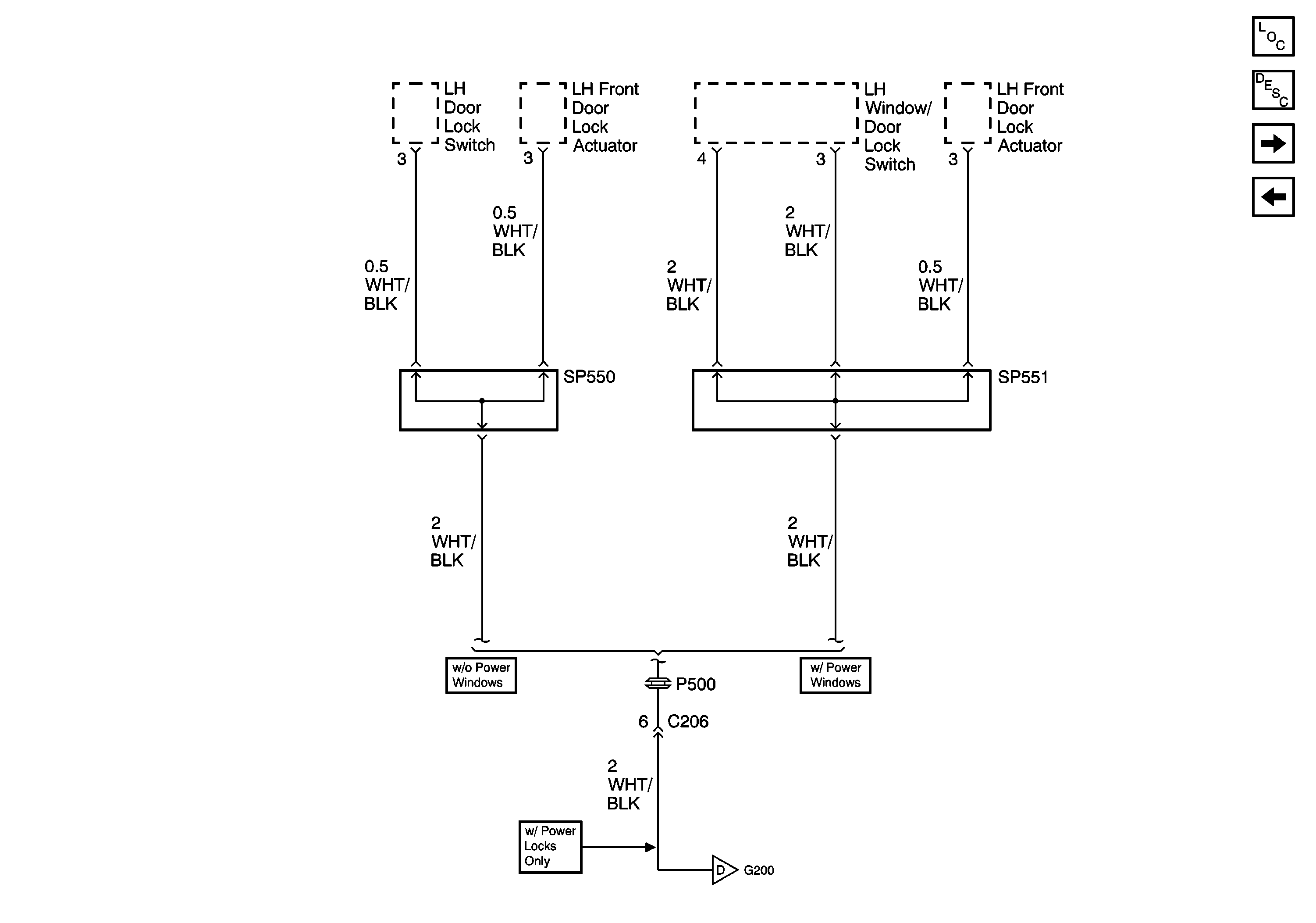
🢒 SP550 and SP551
SP550 and SP551
SP550 and SP551
Master Electrical Component List
Junction Block 2
G204, Junction Block 1, and SP256
G200, G203, SP250, and SP650