GM Service Manual Online
For 1990-2009 cars only
Makes
🢒
Chevrolet
🢒
2001
🢒
Tracker - 2WD
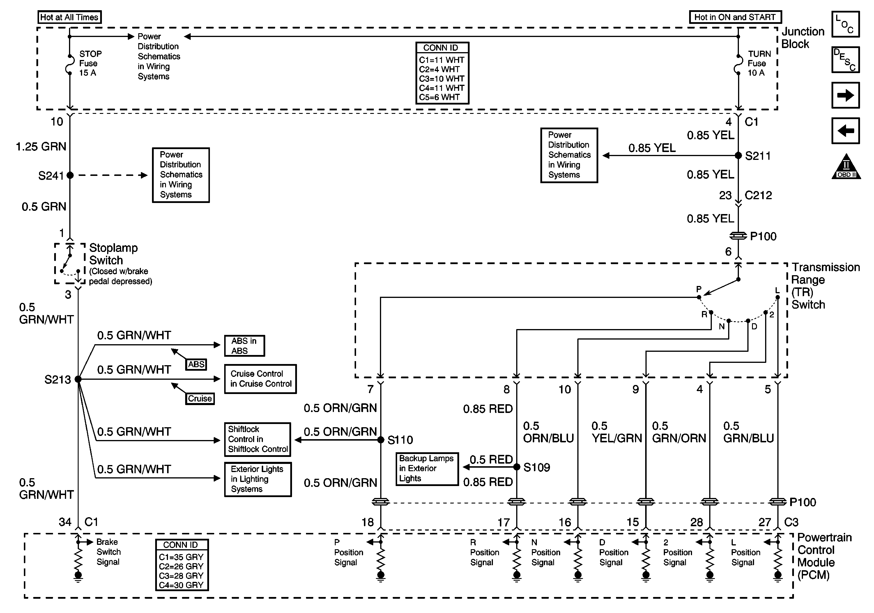
🢒 Stoplamp Switch, Transmission Range Switch
Stoplamp Switch, Transmission Range Switch
Stoplamp Switch, Transmission Range Switch
Master Electrical Component List
Output Shaft Speed Sensor, Input Shaft Speed Sensor
Four Wheel Drive Switches, Front Drive Axle Actuator Pump
OBD II Symbol Description Notice
IG, Turn and WIP Fuses
Transmission Range Switch, Backup Lamp Switch
Center High Mount Stoplamp (CHMSL)
Transmission Range Switch
G104, Stop Fuse, Stop Lamp Switch, and F1 Fuse
Brake Fluid Level Indicator, Brake Indicator and Stoplamp Switch
HAZ, D/L, TAIL, Stop and Dome Fuses
HAZ, D/L, TAIL, Stop and Dome Fuses