GM Service Manual Online
For 1990-2009 cars only
Makes
🢒
Chevrolet
🢒
2001
🢒
Tracker - 2WD
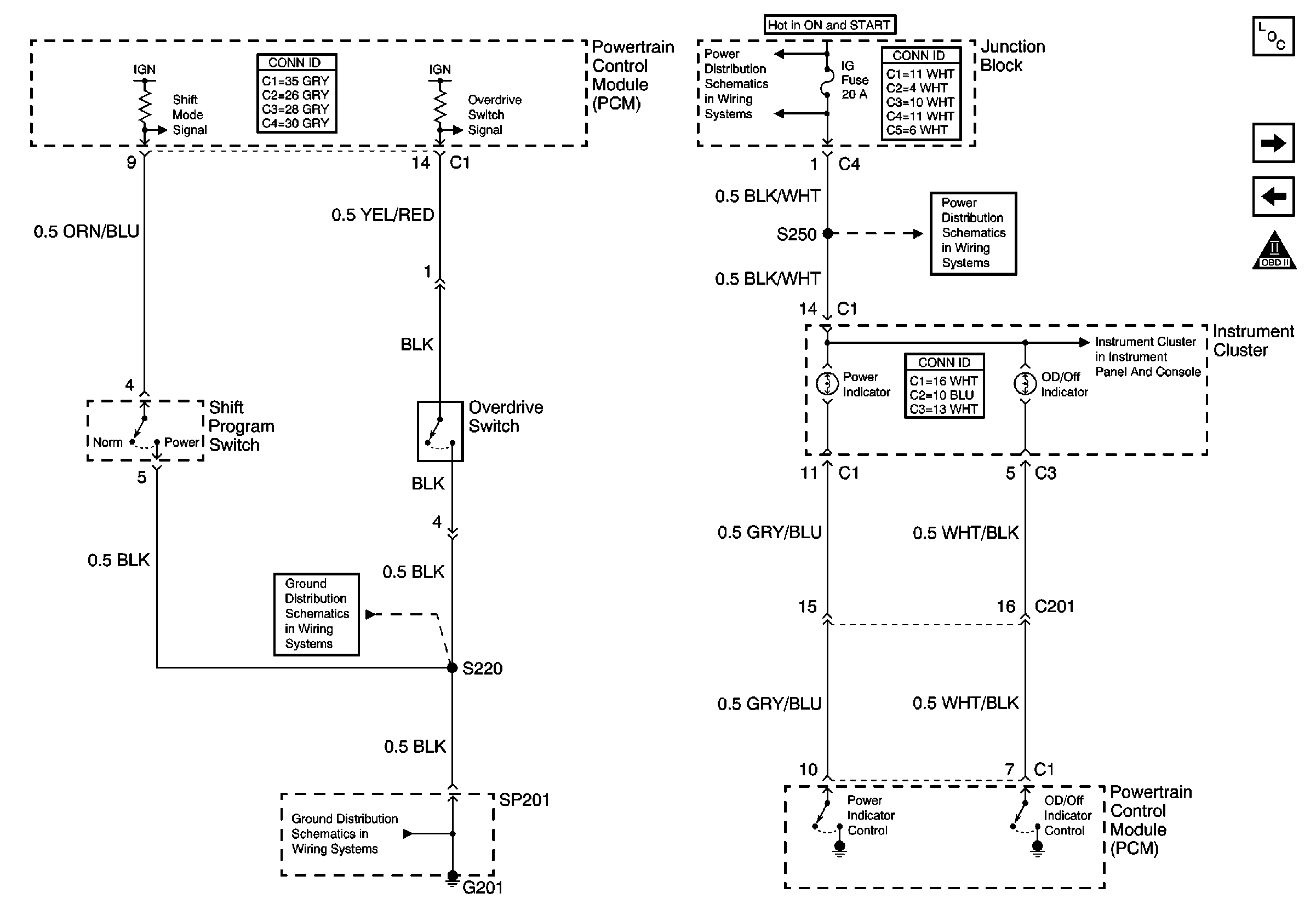
🢒 Shift Program Switch, Overdrive Switch
Shift Program Switch, Overdrive Switch
Shift Program Switch, Overdrive Switch
Master Electrical Component List
PCM Idle Up Inputs
Output Shaft Speed Sensor, Input Shaft Speed Sensor
OBD II Symbol Description Notice
Instrument Cluster Indicators
IG, Turn and WIP Fuses
H/L, HTR, IG, and Lamp Fuses
G201
G201