GM Service Manual Online
For 1990-2009 cars only
Makes
🢒
Chevrolet
🢒
2000
🢒
Tracker - 4WD
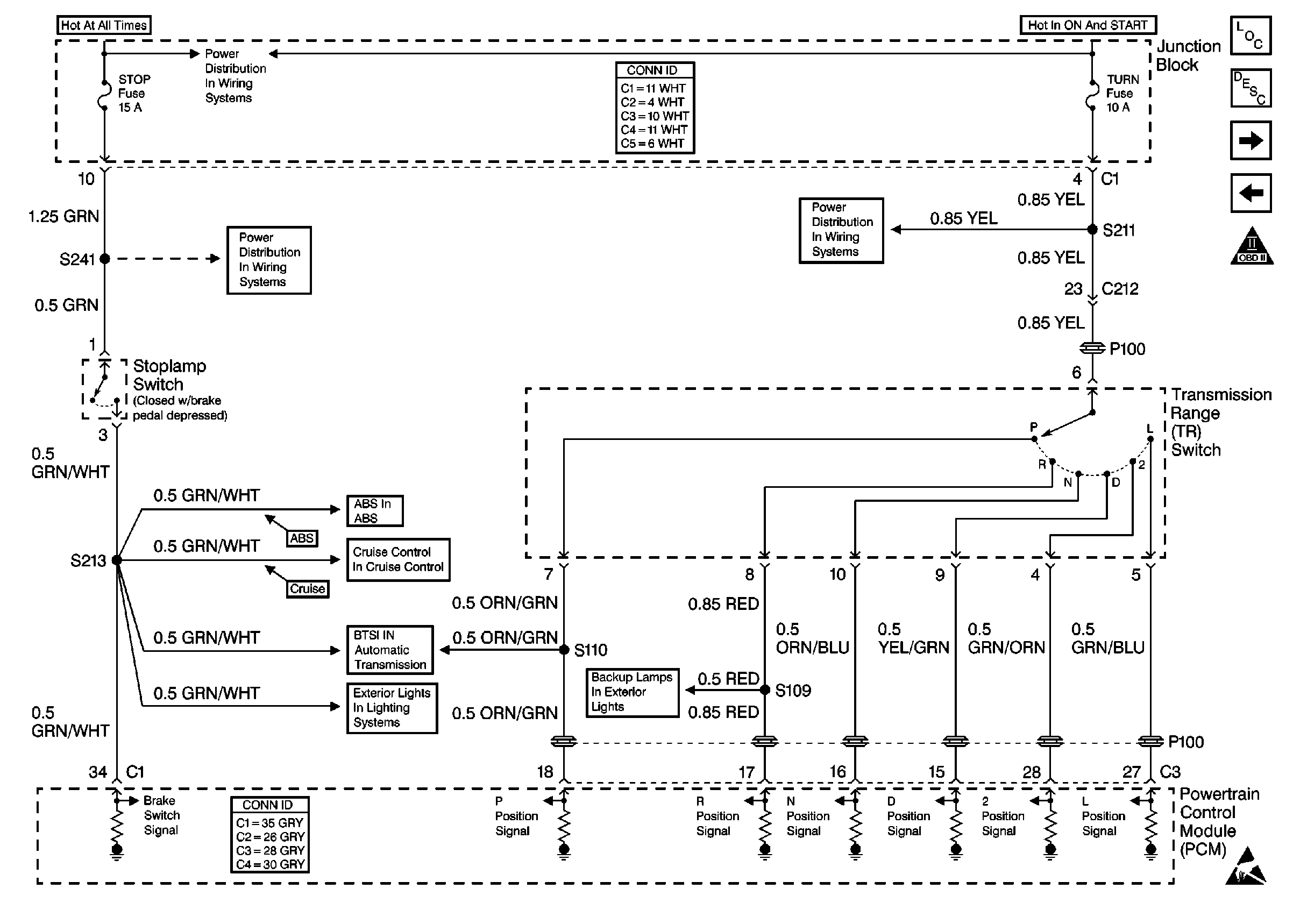
🢒 TR Switch Position and Stoplamp Switch Inputs
TR Switch Position and Stoplamp Switch Inputs
TR Switch Position and Stoplamp Switch Inputs
Engine Controls Components
A/T Speed Sensors and A/T Solenoids
Four Wheel Drive Inputs/Outputs
Handling ESD Sensitive Parts Notice
Handling ESD Sensitive Parts Notice
IG, TURN and WIP Fuses
Backup Lights Schematics
HAZ, D/L, TAIL, STOP and DOME Fuses
HAZ, D/L, TAIL, STOP and DOME Fuses
ABS Schematics
Power, Ground and Stoplamp Switch
Rear Parklamps