GM Service Manual Online
For 1990-2009 cars only
Makes
🢒
Chevrolet
🢒
2000
🢒
Venture
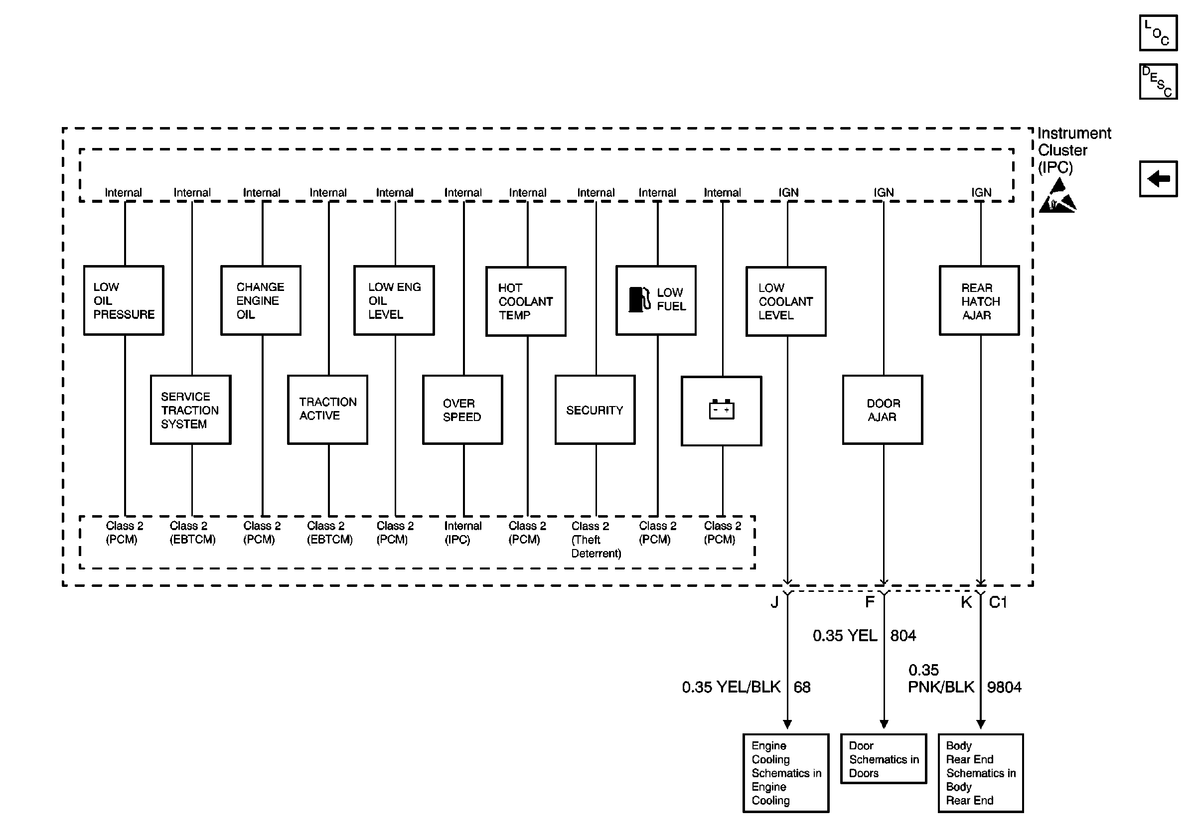
🢒 Class 2 Telltales
Class 2 Telltales
Class 2 Telltales
Instrument Cluster Components
Instrument Cluster Operation
Hardwire Indicators
Handling ESD Sensitive Parts Notice
IP REAR HATCH AJAR Telltale
IP DOOR AJAR Telltale
2000 U van Engine Cooling Schematics