GM Service Manual Online
For 1990-2009 cars only
Makes
🢒
Chevrolet
🢒
2000
🢒
Venture
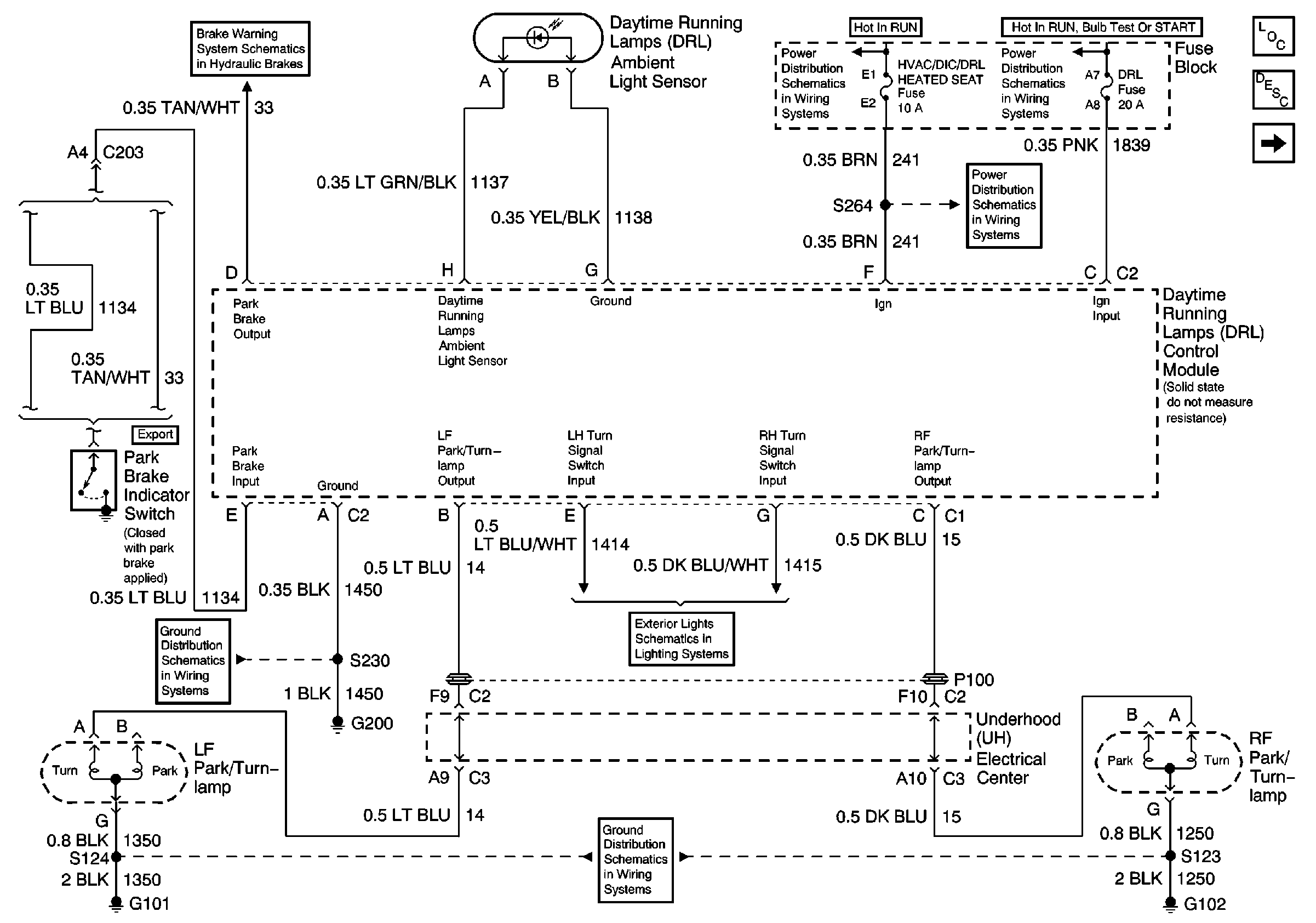
🢒 Headlights Schematics (Cell 100: Park Brake Indictor Switch, DRL Ambient Light Sensor)
Headlights Schematics (Cell 100: Park Brake Indictor Switch, DRL Ambient Light Sensor)
Headlights Schematics (Cell 100: Park Brake Indictor Switch, DRL Ambient Light Sensor)
00 U-Van Hydraulic Brakes Schematic, Brake Warning Syste
Cell 14: G200
HVAC/DIC/DRL/Heated Seat, HVAC Blower and RR HVAC/TEMP CONT Fuses
Hazard Lamp/Turn Signal Flasher, Turn Signal Switch
Cell 14: G101 and G102
Ignition Switch IGN Main Relay, IGN Main 1, PCM/ABS, CONVENT SOL, DRL, and PCM/Crank Fuses
HVAC/DIC/DRL/Heated Seat, HVAC Blower and RR HVAC/TEMP CONT Fuses
Lighting Systems Components
Headlights Circuit Description Domestic
Headlights Schematics (Cell 100: Headlamp and IP Lamp Dimmer Switch)