GM Service Manual Online
For 1990-2009 cars only
Makes
🢒
Chevrolet
🢒
2000
🢒
Venture
🢒 Export Taillamps
Export Taillamps
Export Taillamps
Export Headlamp Position Lamps/License Lamps
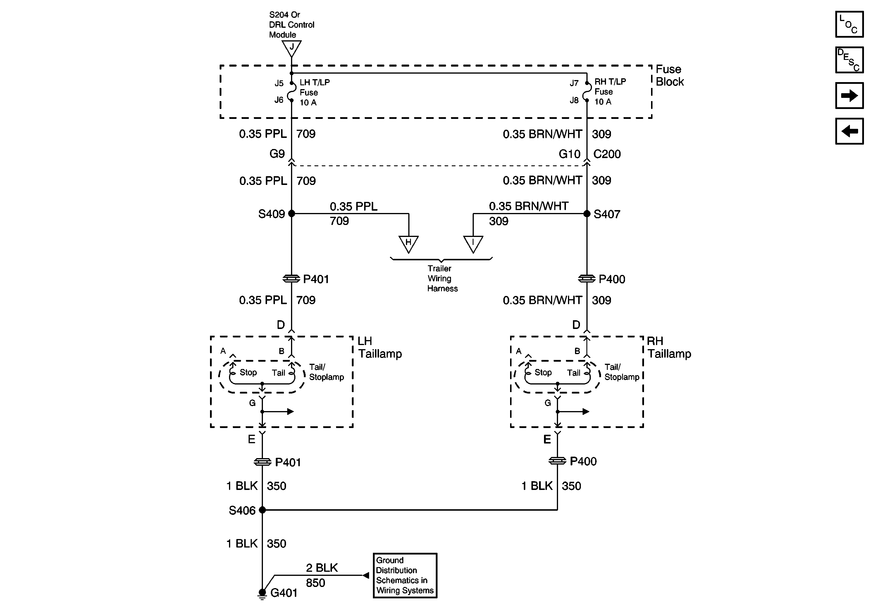
Export Trailer Wiring Harness
Cell 14: G401 and G402
Lighting Systems Components
Exterior Lights Circuit Description
Export Stoplamps and CHMSL
Export Headlamp Position Lamps/License Lamps