GM Service Manual Online
For 1990-2009 cars only
Makes
🢒
Chevrolet
🢒
2000
🢒
Venture
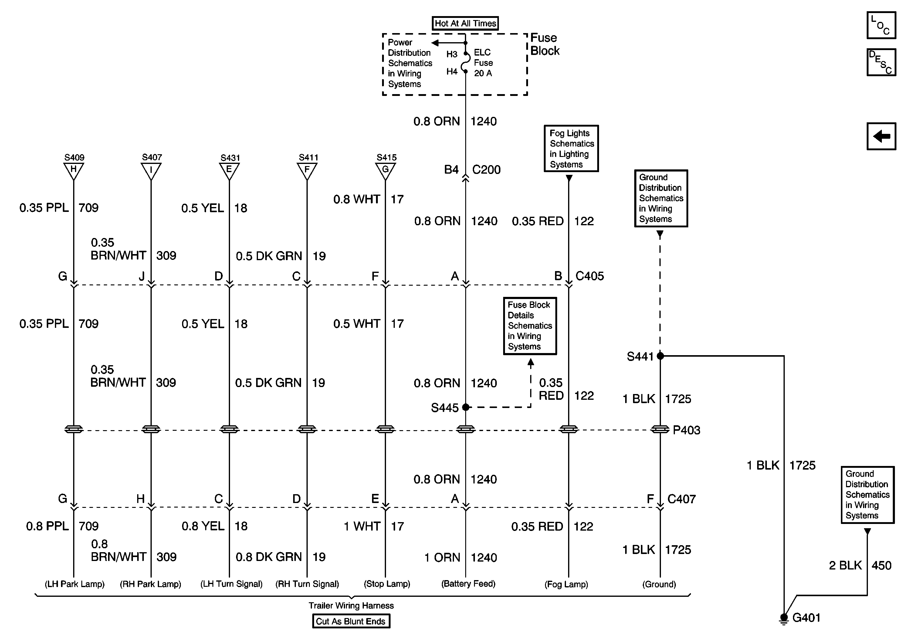
🢒 Export Trailer Wiring Harness
Export Trailer Wiring Harness
Export Trailer Wiring Harness
BATT Main 2, Headlamps, ELC/Trailer, RR Defog/HTP Mirrors and RR Fog LP Fuses and PWR/ Heated Seat PSD Circuit Breaker
Export Taillamps
Export Taillamps
Export Turn and Side Marker Lamps
Export Turn and Side Marker Lamps
Export Stoplamps and CHMSL
BATT Main 2, Headlamps, ELC/Trailer, RR Defog/HTP Mirrors and RR Fog LP Fuses and PWR/ Heated Seat PSD Circuit Breaker
Fog Lights Schematics (Rear Fog Lights-Export 2 of 2)
Cell 14: G401
Cell 14: G401
Lighting Systems Components
Exterior Lights Circuit Description
Export Stoplamps and CHMSL