GM Service Manual Online
For 1990-2009 cars only

Refer to

Power, Ground, MIL, DLC


Object Number: 524518  Size: FS
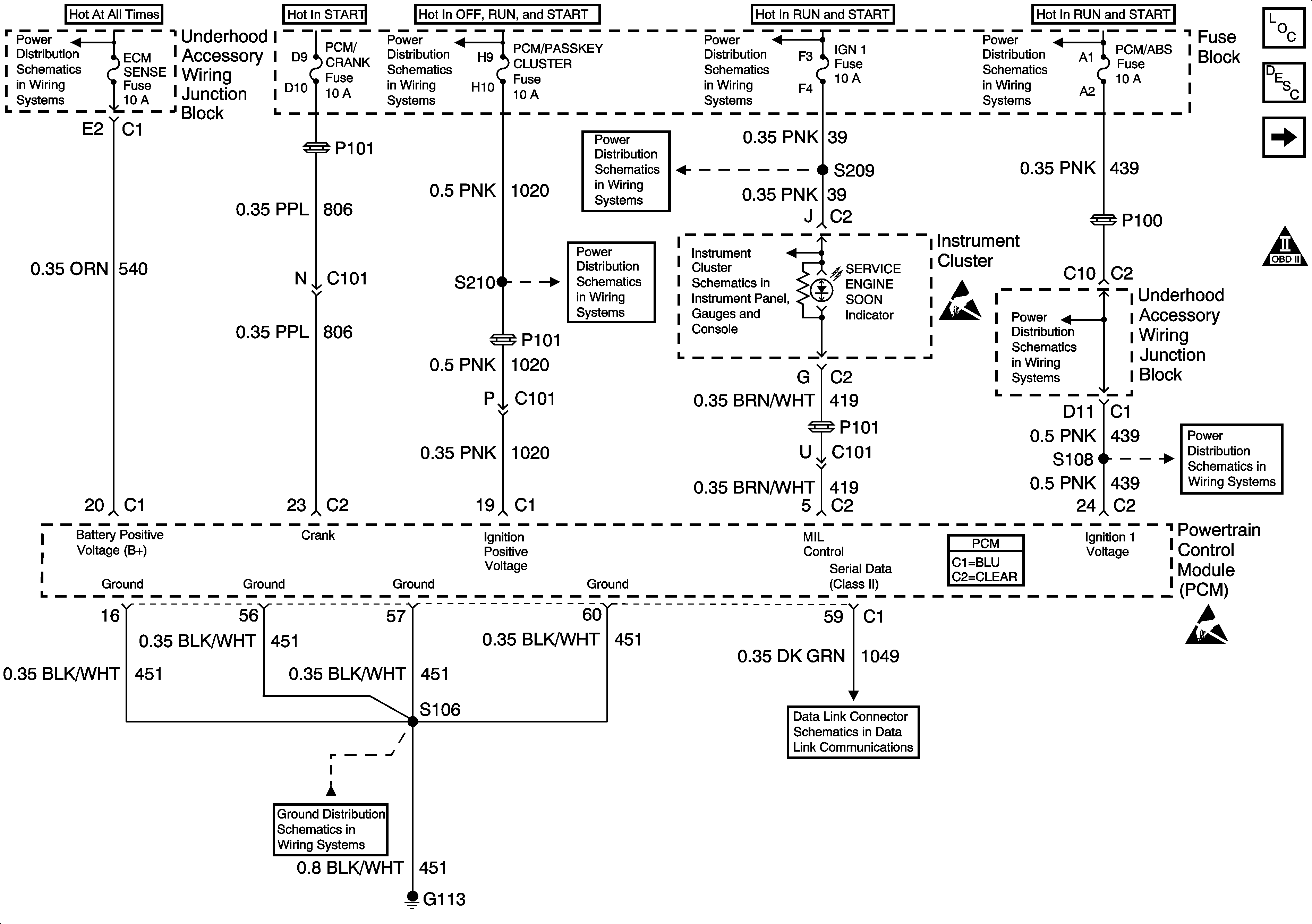
Underhood Accessory Wiring Junction Block, Relay Center, PWR WDO and PWR OTR Vent Fuses
IGN, SIR, T/S/G, Cruise, and PCM/Pass Key 1 Cluster Fuses
Cell 14: G100, G111 and G113
IGN, SIR, T/S/G, Cruise, and PCM/Pass Key 1 Cluster Fuses
IGN, SIR, T/S/G, Cruise, and PCM/Pass Key 1 Cluster Fuses
IGN, SIR, T/S/G, Cruise, and PCM/Pass Key 1 Cluster Fuses
Hardwire Indicators
Ignition Switch IGN Main Relay, IGN Main 1, PCM/ABS, CONVENT SOL, DRL, and PCM/Crank Fuses
Handling ESD Sensitive Parts Notice
Ignition Switch IGN Main Relay, IGN Main 1, PCM/ABS, CONVENT SOL, DRL, and PCM/Crank Fuses
Handling ESD Sensitive Parts Notice
DLC Schematic
Engine Controls Components
Powertrain Control Module Description
Ignition System, Knock Sensor
OBD II Symbol Description Notice
Powertrain Control Module Connector End Views
,

DLC Schematic


Object Number: 600855  Size: FS
Data Link Communications Components
Data Link Communications Circuit Description
OBD II Symbol Description Notice
Handling ESD Sensitive Parts Notice
Handling ESD Sensitive Parts Notice
Handling ESD Sensitive Parts Notice
Handling ESD Sensitive Parts Notice
SIR Handling Caution
Cluster BATT, RR PWR SCKT, PWR Lock, Rap Relay, CTSY Lamp, FRT PWR SCKT, Cigar/DLC and PWR Mirror Fuses
Cluster BATT, RR PWR SCKT, PWR Lock, Rap Relay, CTSY Lamp, FRT PWR SCKT, Cigar/DLC and PWR Mirror Fuses
Cell 14: G200
Cell 14: G200
in Data Link Communications, and

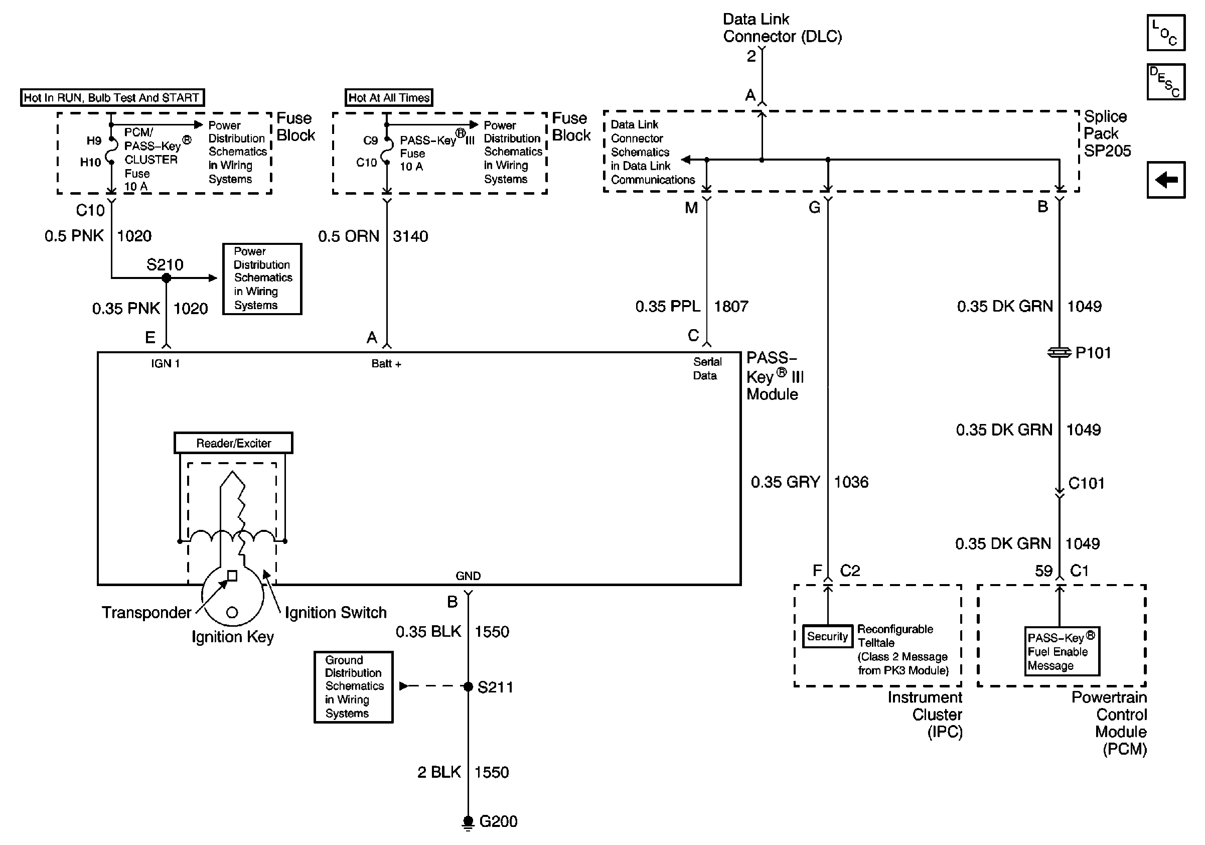
Pass Key III Module


Object Number: 611395  Size: FS
Theft Deterrent System Components
Vehicle Theft Deterrent (VTD) Description
Cell 133: G200, G302
DLC Schematic
Stop Lamp, Hazard, and Pass Key Fuses, FRT HVAC MI BLWR and Headlamp Circuit Breakers
IGN, SIR, T/S/G, Cruise, and PCM/Pass Key 1 Cluster Fuses
IGN, SIR, T/S/G, Cruise, and PCM/Pass Key 1 Cluster Fuses
Cell 14: G200
in Theft Deterrent.

Circuit Description

The vehicle theft deterrent (VTD) module produces the theft deterrent fuel enable signal when ignition is ON and the proper key resistor pellet is detected. The powertrain control module (PCM) monitors the fuel enable signal during crank. If the proper signal is present on the Class II Serial Data Circuit, the PCM enables the fuel delivery in order to allow the engine to start. If the PCM determines that the fuel enable signal is not present or incorrect while the engine is running, DTC P1626 is set. The engine continues to start and run as long as DTC P1626 is stored. If the problem affects inputs to the VTD signal, the starter motor may be disabled. Refer to Vehicle Theft Deterrent (VTD) Description and Vehicle Theft Deterrent (VTD) Operation .

Conditions for Running the DTC

    • DTC P1631 is not present.
    • An attempt is made to start the engine.

The theft deterrent system has allowed fuel delivery.

Conditions for Setting the DTC

The PCM has detected a loss of the state of health serial data message from the theft deterrent system.

Action Taken When the DTC Sets

The PCM stores conditions which were present when the DTC set as Failure Records only. This information will not be stored as Freeze Frame Records.

Conditions for Clearing the MIL/DTC

    • The DTC becomes history when the conditions for setting the DTC are no longer present.
    • The history DTC clears after 40 malfunction free warm-up cycles.
    • The PCM receives a clear code command from the scan tool.

Diagnostic Aids

Inspect for the following conditions:

Many situations may lead to an intermittent condition. Perform each inspection or test as directed.

Important: :  Remove any debris from the connector surfaces before servicing a component. Inspect the connector gaskets when diagnosing or replacing a component. Ensure that the gaskets are installed correctly. The gaskets prevent contaminate intrusion.

    • Loose terminal connection
       -  Use a corresponding mating terminal to test for proper tension. Refer to Testing for Intermittent Conditions and Poor Connections , and to Connector Repairs in Wiring Systems for diagnosis and repair.
       -  Inspect the harness connectors for backed out terminals, improper mating, broken locks, improperly formed or damaged terminals, and faulty terminal to wire connection. Refer to Testing for Intermittent Conditions and Poor Connections , and to Connector Repairs in Wiring Systems for diagnosis and repair.
    • Damaged harness--Inspect the wiring harness for damage. If the harness inspection does not reveal a problem, observe the display on the scan tool while moving connectors and wiring harnesses related to the sensor. A change in the scan tool display may indicate the location of the fault. Refer to Wiring Repairs in Wiring Systems for diagnosis and repair.
    •  Inspect the powertrain control module (PCM) and the engine grounds for clean and secure connections. Refer to Wiring Repairs in Wiring Systems for diagnosis and repair.

If the condition is determined to be intermittent, reviewing the Snapshot or Freeze Frame/Failure Records may be useful in determining when the DTC or condition was identified.

Step

Action

Values

Yes

No

1

Did you perform the Powertrain On Board Diagnostic (OBD) System Check?

--

Go to Step 2

Go to Powertrain On Board Diagnostic (OBD) System Check

2

Important: :  If a loss of DLC data has already been diagnosed, clear this DTC and continue diagnosis with Powertrain On Board Diagnostic (OBD) System Check .

Is P1631, or UXXXX DTCs present?

--

Go to applicable DTC

Go to Step 3

3

Important: : The replacement PCM must be programmed.

Replace the PCM. Refer to Powertrain Control Module Replacement/Programming .

Did you complete the replacement?

--

Go to Step 4

--

4

  1. Review and record scan tool Fail Records data.
  2. Clear DTCs.
  3. Attempt to start the vehicle.

Does the vehicle start and continue to run?

--

Go to Step 2

--