GM Service Manual Online
For 1990-2009 cars only
Makes
🢒
Chevrolet
🢒
1998
🢒
Venture Ext.
🢒
HVAC
🢒
HVAC Systems - Manual
🢒 HVAC Air Delivery/Temperature Control Schematics
Figure
1:
HVAC: Underhood Accessory Wiring Junction, Heater A/C Controls
Power Distribution Schematics
OBD II Symbol Description Notice
Power Distribution Schematics
Fuse Block Schematics
Fuse Block Schematics
Handling ESD Sensitive Parts Notice
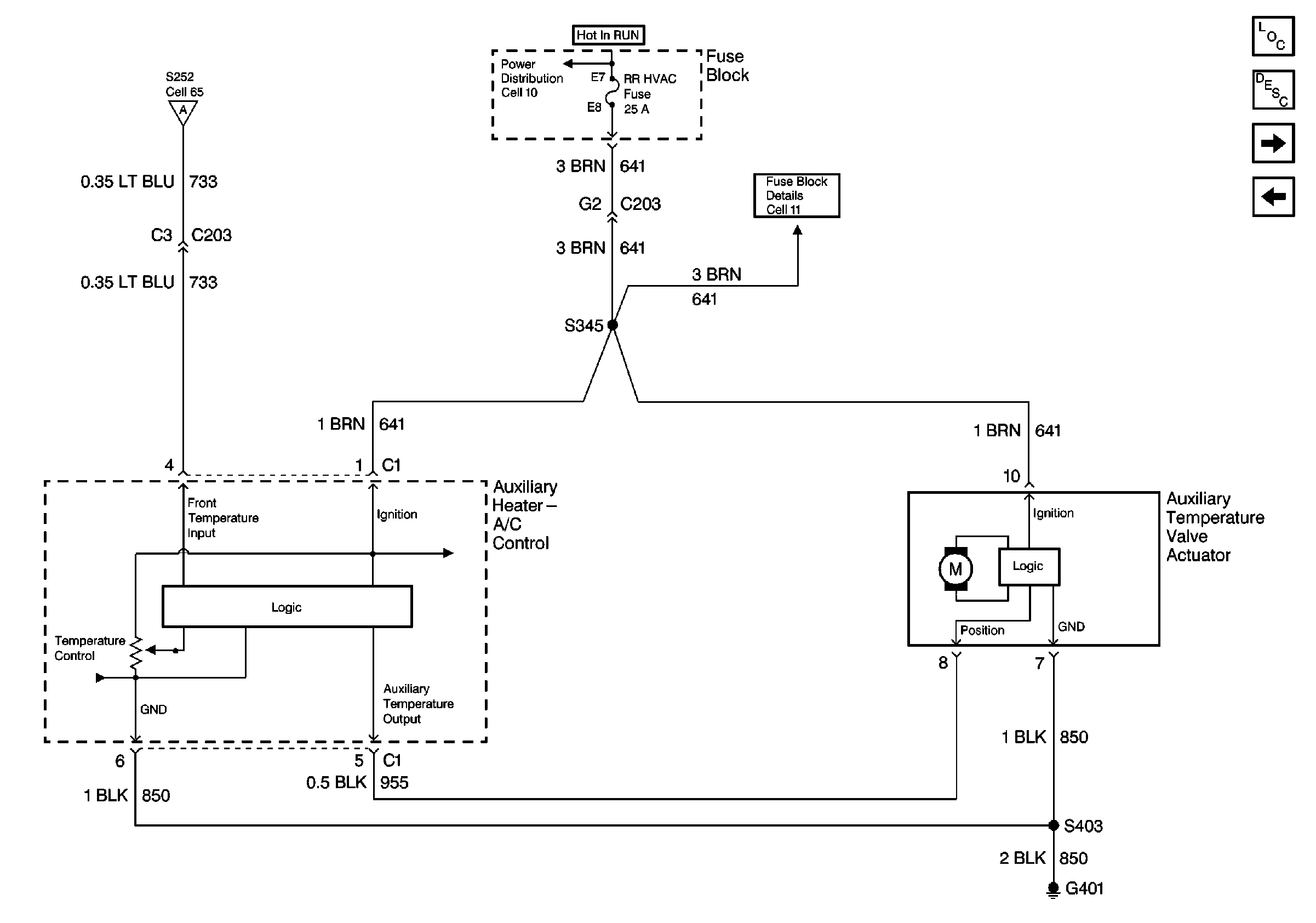
HVAC: Fuse Block, Auxiliary Heater A/C Controls
Ground Distribution Schematics
HVAC Components
HVAC Air Delivery/Temperature Control Circuit Description
HVAC: Fuse Block, Auxiliary Heater A/C Controls
Figure
2:
HVAC: Fuse Block, Auxiliary Heater A/C Controls
HVAC: Underhood Accessory Wiring Junction, Heater A/C Controls
Power Distribution Schematics
Fuse Block Schematics
HVAC Components
HVAC Air Delivery/Temperature Control Circuit Description
HVAC: Underhood Accessory Wiring Junction, Heater A/C Controls
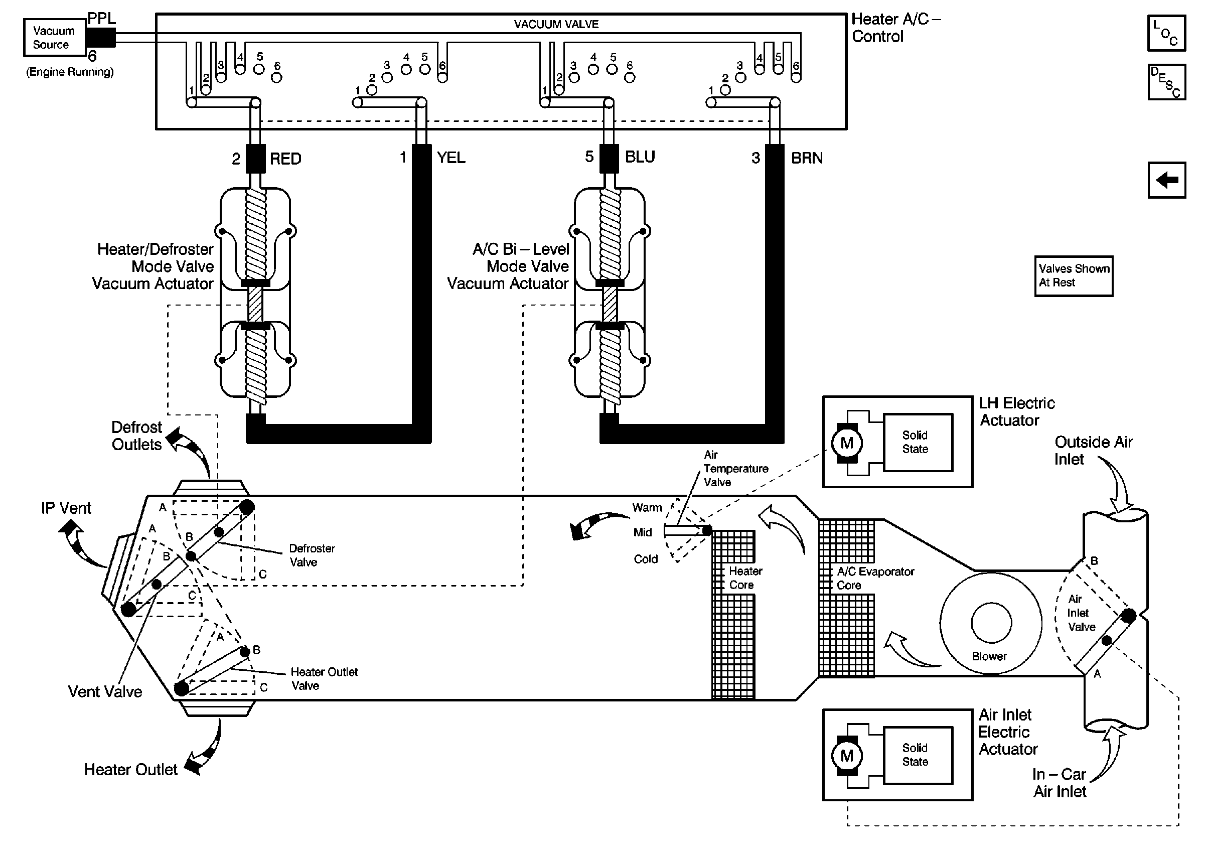
C60/C34 HVAC Vacuum Harness Schematics
Figure
3:
C60/C34 HVAC Vacuum Harness Schematics
HVAC Components
HVAC Air Delivery/Temperature Control Circuit Description
HVAC: Fuse Block, Auxiliary Heater A/C Controls