GM Service Manual Online
For 1990-2009 cars only

Object Number: 323700  Size: MF
Power Door Systems Components
PSD GENI, GENII Schematic
Handling ESD Sensitive Parts Notice
Power Distribution Schematics
Ground Distribution Schematics

Circuit Description

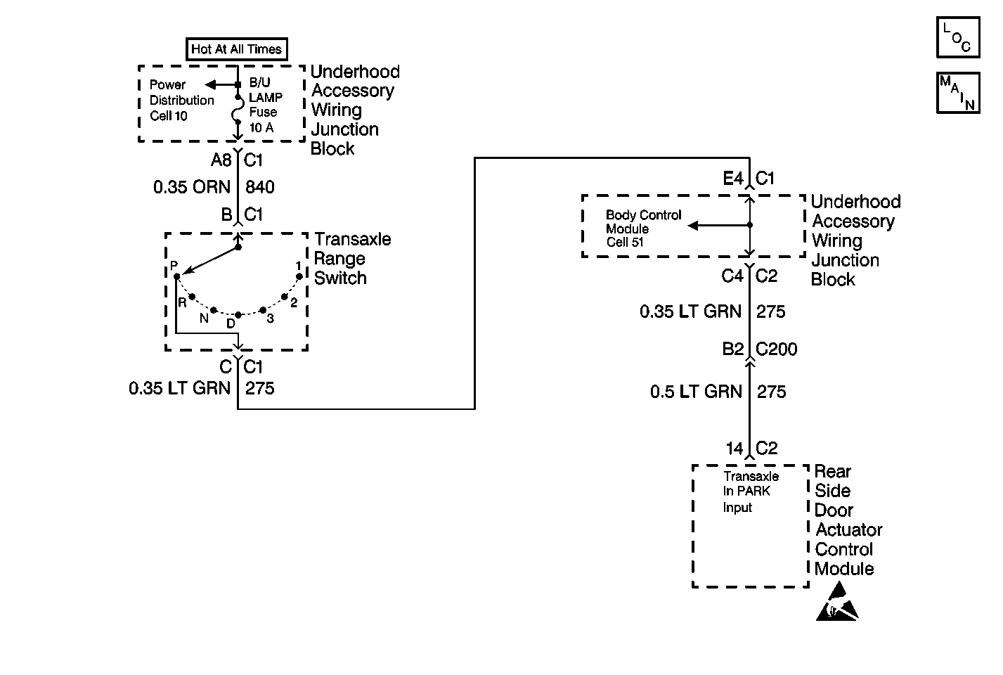
The rear side door actuator control module monitors the position of the transaxle shifter through the transaxle range switch. The rear side door actuator control module disables the sliding door operation when the transaxle is shifted out of the PARK position. The rear side door actuator control module sounds the PSD alarm for as long as the PSD open/close switch is pressed This alarm is to warn the driver that the PSD has been inhibited from opening.

If the transaxle is shifted out of the PARK position while the PSD is closing, the rear side door actuator control module sounds the PSD alarm. This alarm is to warn the driver that the sliding door is not fully closed.

The transaxle range switch sends a B+ signal to the rear side door actuator control module through circuit  275 when the transaxle is in the PARK position. When the transaxle is shifted out of the PARK position, the transaxle range switch removes the B+ signal to the rear side door actuator control module. This signal is removed through circuit 275.

Diagnostic Aids

    • Inspect for the following conditions:
       - A short to B+ in CKT 275
       - An out-of-adjustment transaxle range switch
       - A faulty transaxle range switch
    • An intermittent failure may be difficult to detect and to accurately diagnose. Faulty electrical connections or wiring causes most intermittent problems. When an intermittent condition is suspected, inspect the suspected circuits for the following conditions:
       - Improperly formed or damaged terminals
       - Wire chafing
       - Damaged connector bodies
    • Use a J 35616 whenever a diagnostic procedure requests probing or inspecting a terminal. Using the J 35616 ensures that no damage to the terminal will occur. Using the J 35616 provides an estimate of whether the contact tension is sufficient.

Test Description

The number(s) below refer to the step number(s) on the diagnostic table.

  1. This step performs the Diagnostic Mode 2: Input Test.

  2. This step determines if the transaxle range switch is faulty or if the PSD control module is faulty.

  3. This step tests for a short to B+ in CKT 275.

Step

Action

Value(s)

Yes

No

1

Was the Power Sliding Door (PSD) Diagnostic System Check performed?

--

Go to Step 2

Go to Power Sliding Door (PSD) Diagnostic System Check

2

Enter the Diagnostic Mode 2: Input Test. Refer to Diagnostic Modes in Power Sliding Door (PSD) Diagnostic Information .

Does the alarm sound when shifting the transaxle out of the PARK position while in Diagnostic Mode 2?

--

Go to Step 8

Go to Step 3

3

  1. Disconnect the rear side door actuator control module electrical connector C2.
  2. Using a J 39200 digital multimeter (DMM), measure the voltage between the rear side door actuator control module electrical connector C2 terminal 14 and ground.
  3. Apply the parking brake.
  4. Block the wheels.
  5. Start the engine.
  6. While measuring the voltage using the J 39200 DMM, shift the transaxle out of the PARK position.

Is the voltage within the specified range?

PARK: B+

Out of PARK: Less than 2 V

Go to Step 5

Go to Step 4

4

  1. Ensure that the J 39200 DMM remains connected from the previous step.
  2. Shift the transaxle into the PARK position.
  3. Stop the engine.
  4. Turn the ignition switch to the LOCK position.
  5. Disconnect the transaxle range switch electrical connector C1.
  6. Turn the ignition switch to the RUN position.
  7. Using the J 39200 DMM, measure the voltage.

Is the voltage less than the specified value?

2 V

Go to Step 6

Go to Step 7

5

Replace the PSD actuator motor assembly. Refer to Rear Side Door Actuator Control Module Replacement .

Is the repair complete?

--

Go to Step 9

--

6

Inspect the adjustment and the operation of the transaxle range switch. Refer to Park/Neutral Position Switch Adjustment or to Park/Neutral Position Switch Replacement in Automatic Transaxle.

Is the repair complete?

--

Go to Step 9

--

7

Repair the short to B+ in CKT 275.

Is the repair complete?

--

Go to Step 9

--

8

A malfunction is not present at this time. Refer to Diagnostic Aids.

Is the action complete?

--

Go to Step 9

--

9

  1. Turn the ignition switch to the LOCK position.
  2. Reconnect any connectors or components that were removed.
  3. Perform the Power Sliding Door (PSD) Re-Initialization .

Does the PSD operate normally?

--

System OK

Go to Power Sliding Door (PSD) Diagnostic System Check