GM Service Manual Online
For 1990-2009 cars only

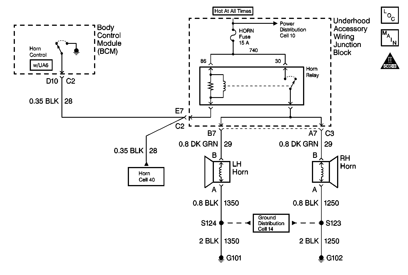
Object Number: 323124  Size: MF
Body Control Module Components
Cell 51: BCM: Ignition Input, Door Locks, Exterior Lamps Output
OBD II Symbol Description Notice
Horns
Cell 14: G101 and G102

Circuit Description

The body control module (BCM) type 4 activates the headlamps and the horn based on the following conditions:

    • The message received from the keyless entry systems remote control door lock receiver (RCDLR) in order to perform the alarm mode.
    • The BCM detects a theft attempt when the content theft deterrent is in either the armed or warning mode.
    • The theft deterrent system is in the trunk open mode.

The BCM interfaces with the horn through the horn relay. The horn relay allows the BCM to sound the horn in order to provide an audio alert. The BCM energizes the horn relay and causes the horn to sound by grounding CKT 28 in the following modes:

The armed mode: When the content theft deterrent is in the armed mode, the BCM sounds the horn once for 23-27 ms. The BCM sounds the horn only if the remote activation verification is in either mode 3 or mode 4. Refer to Diagnostic Aids. The headlamps also turn on during this mode. The BCM will sound the horn first, and the headlamps will flash once.

The warning mode: The warning mode attempts to warn away potential intruders prior to setting off the alarm mode. The headlamps will cycle on and off five times at a rate of 0.9-1.1 hz with a 15-25% active state duty cycle. The headlamps also turn on and off five times during this mode, although the BCM alternates between the horn and the headlamps.

The alarm mode: When the content theft deterrent is in the alarm mode, the BCM sounds the horn on and off for two minutes or until the alarm is disarmed at a rate of 0.9-1.1 hz with a 15-25% active state duty cycle. The headlamps also turn on in this mode although the BCM alternates between the horn and the exterior lights.

Conditions for Setting the DTC

The BCM detects a short to B+ or ground in CKT 28.

Action Taken When the DTC Sets

    • The BCM sets the diagnostic trouble code DTC 7.
    • If CKT 28 is shorted to B+, the BCM does not sound the horn during the following modes:
       - The armed mode
       - The warning mode
       - The alarm mode
       - The trunk open mode
    • If CKT 28 is shorted to ground, the horn will sound all the time.

Conditions for Clearing the MIL/DTC

    • A short to B+ or ground in CKT 28 is no longer present between the BCM and the horn relay.
    • After the repairs are completed, refer to Clearing Diagnostic Trouble Codes in order to clear the DTC.

Diagnostic Aids

    • Inspect for a short to B+ or ground in CKT 28.
    • A faulty horn relay.
    • Perform the following test while moving the wiring and connectors. This may allow the malfunction to appear.

BCM Input/Output Test Procedure

  1. Turn the instrument panel dimmer switch to the OFF position.
  2. Turn the ignition switch to the LOCK position.
  3. Remove the BCM PRGRM fuse.
  4. Turn the ignition switch to the ACC position.
  5. The BCM will sound a chime a number of times equal to the BCM type installed in the vehicle.

  6. Within one second turn the ignition switch from the ACC position to the OFF position and then back to the ACC position.
  7. The BCM will sound any DTCs that are stored.

  8. Turn the instrument panel dimmer switch to the DOME position.

The BCM has entered the Input/Output Test. The BCM Input/Output consists of the following tests:

    • Test 1 de-energizes CKT 1393 (protected courtesy lamp output).
    • Test 2 energizes CKT 1393 and CKT 328.
    • Test 3 grounds CKT 690 (courtesy lamps control).
    • Test 4 energizes the theft deterrent relay for one second by grounding CKT 301, and turns on the headlamps (BCM type 3 and type 4 only).
    • Test 5 energizes the horn relay for 25 ms by grounding CKT 28, and sounds the horn (BCM type 4 only).
    • Test 6 turns on the theft deterrent indicator lamp by grounding CKT 749 (BCM type 4 only).
    • Test 7 turns off the theft deterrent indicator lamp by opening CKT 749 (BCM type 4 only).

The BCM operates the Input/Output test in numerical order.

In order to move to the next test, cycle the instrument panel dimmer switch from the DOME position to the OFF position and then back to the DOME position. The BCM will sound a chime a number of times equal to the Input/Output test number above. The Input/Output test sequence repeats until the ignition switch is turned to the LOCK position.

Remote Activation Verification Modes

Perform the following procedure in order to change the remote activation verification mode:

  1. Turn the instrument panel dimmer switch to the OFF position.
  2. Turn the ignition switch to the LOCK position.
  3. Remove the BCM PRGRM fuse.
  4. Turn the ignition switch to the ACC position.
  5. • The BCM will sound a chime the number of times equal to the BCM type installed on the vehicle.
    • The BCM has entered the feature customization mode.
    • In order to change the remote activation verification mode, press the lock button on the keyless entry transmitter.
    • The BCM will sound a chime a number of times equal to the remote activation verification mode.

The following are the remote activation verification modes:

    • Mode 1 - The remote activation verification is disabled. No horn or headlamps.
    • Mode 2 - The headlamps will flash when locking/unlocking the doors with the keyless entry transmitter.
    • Mode 3 - The headlamps will flash when unlocking the doors with the keyless entry transmitter. The headlamps will flash and the horn will sound when locking the doors with the keyless entry transmitter.
    • Mode 4 - The headlamps will flash when unlocking/locking the doors with the keyless entry transmitter. The headlamps will flash and the horn will sound when locking the doors with the keyless entry transmitter a second time within five seconds of locking the doors with the keyless entry transmitter.

Test Description

The numbers below refer to the step numbers on the diagnostic table.

  1. Always perform the BCM diagnostic system check before attempting to diagnose DTC 7.

  2. Inspect the operation of the horn system.

  3. Determine whether the BCM is faulty and not due to an intermittent malfunction.

  4. Inspect for a short to B+ in CKT 28.

  5. Inspect for a short to ground in CKT 28.

  6. Determine if the malfunction is intermittent and not currently present.

Step

Action

Value(s)

Yes

No

1

Did you perform the BCM diagnostic system check?

--

Go to Step 2

Go to Diagnostic System Check - Body Control System

2

Test the horn by pressing the horn switch on the steering wheel.

Does the horn work?

--

Go to Step 3

Go to Step 7

3

Perform the BCM Input/Output test. Refer to Diagnostic Aids.

Does the horn sound when the BCM Input/Output performs test 5?

--

Go to Step 11

Go to Step 4

4

  1. Turn the ignition switch to the LOCK position.
  2. Disconnect the horn relay.
  3. Disconnect the BCM connector C2.
  4. Turn the ignition switch to the RUN position.
  5. Use a J 39200 in order to measure the voltage between the BCM harness connector C2 terminal D10 and ground.

Is the voltage less than the specified value?

2V

Go to Step 5

Go to Step 8

5

Use a J 39200 in order to measure the resistance between the BCM harness connector C2 terminal D10 and ground.

Is the resistance equal to the specified value?

Infinite

Go to Step 6

Go to Step 9

6

  1. Turn the ignition switch to the LOCK position.
  2. Connect all of the connectors.
  3. Install all of the components.
  4. Turn the ignition switch to the RUN position.
  5. Press the ALARM button on a keyless entry transmitter. When the vehicle horn sounds, press ALARM again.
  6. Turn the ignition switch to the LOCK position.
  7. Remove the BCM PRGRM fuse.
  8. Turn the ignition switch to the ACC position. The BCM sounds the chime a number of times equivalent to the BCM type installed on the vehicle.
  9. Within 1 second, turn the ignition switch from the ACC position, to the LOCK position, back to the ACC position. The BCM sounds any DTCs stored.

Does DTC 7 reset?

--

Go to Step 10

Go to Step 11

7

Refer to Horns System Check in Horns.

Is the repair complete?

--

Go to Step 12

--

8

Repair short to B+ in CKT 28.

Is the repair complete?

--

Go to Step 12

--

9

Repair short to ground in CKT 28.

Is the repair complete?

--

Go to Step 12

--

10

    • Inspect the BCM connector C2 terminal D10 for a short to B+ or ground, and perform the necessary connector repairs.
    • If the connector is OK, replace the BCM. Refer to Body Control Module Replacement

Is the repair complete?

--

Go to Step 12

--

11

The malfunction is not present at this time. Refer to Diagnostic Aids.

Is the action complete?

--

Go to Diagnostic System Check - Body Control System

--

12

  1. Turn the ignition switch to the LOCK position.
  2. Connect all of the connectors.
  3. Install all of the components.
  4. Remove the BCM PRGRM fuse.
  5. Turn the ignition switch to the ACC position. The BCM sounds the chime a number of times equivalent to the BCM type installed on the vehicle.
  6. Within 1 second, turn the ignition switch from the ACC position, to the LOCK position, back to the ACC position. The BCM sounds any DTCs stored.

Are any BCM DTCs present?

--

Go to Diagnostic System Check - Body Control System

System OK