GM Service Manual Online
For 1990-2009 cars only
Figure 1:

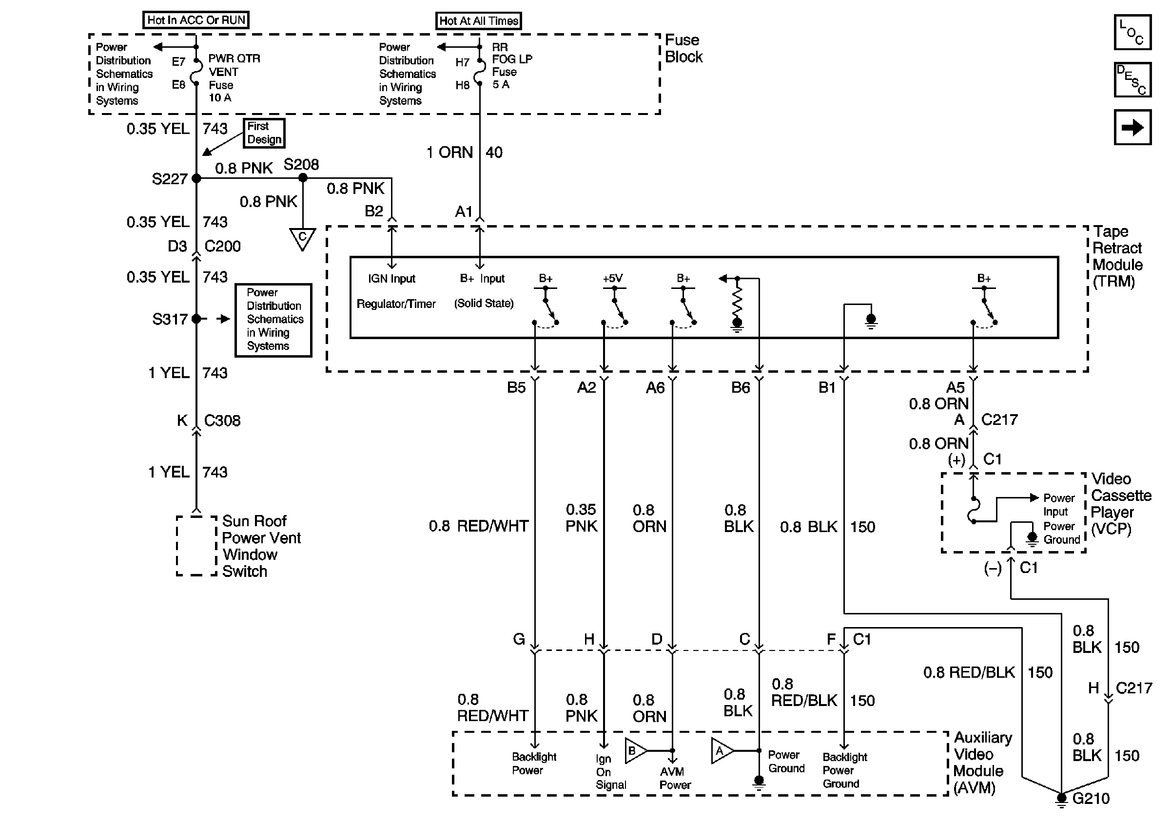
Power and Ground Distribution (Early Design)


Object Number: 628327  Size: FS
Underhood Accessory Wiring Junction Block, Relay Center, PWR WDO and PWR OTR Vent Fuses
BATT Main 2, Headlamps, ELC/Trailer, RR Defog/HTP Mirrors and RR Fog LP Fuses and PWR/ Heated Seat PSD Circuit Breaker
Power and Ground Distribution (Interface Module)
Power and Ground Distribution (Interface Module)
Video Screen Controls
Entertainment Components
Video System Description
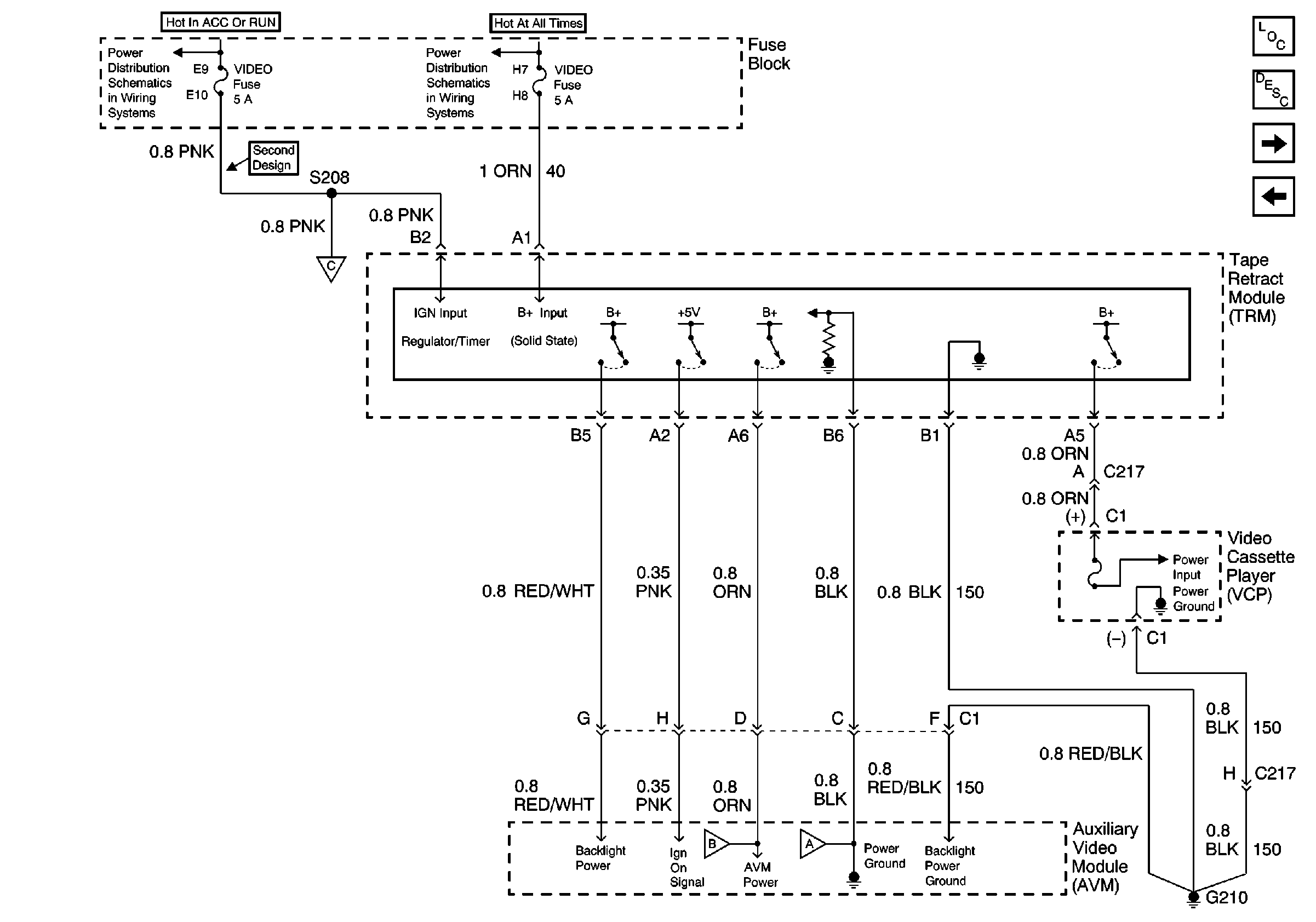
Power and Ground Distribution (Later Design)
Figure 2:

Power and Ground Distribution (Later Design)


Object Number: 629277  Size: FS
BATT Main 2, Headlamps, ELC/Trailer, RR Defog/HTP Mirrors and RR Fog LP Fuses and PWR/ Heated Seat PSD Circuit Breaker
Power and Ground Distribution (Interface Module)
Power and Ground Distribution (Interface Module)
Video Screen Controls
Entertainment Components
Video System Description
Power and Ground Distribution (Interface Module)
Figure 3:

Power and Ground Distribution (Interface Module)


Object Number: 628329  Size: FS
Handling ESD Sensitive Parts Notice
Cell 14: G200 and G201
Entertainment Components
Video System Description
Video Cassette Player (VCP) to Auxiliary Video Module (AVM) Inputs
Power and Ground Distribution (Later Design)
Cell 150: G201
Power and Ground Distribution (Later Design)
Power and Ground Distribution (Later Design)
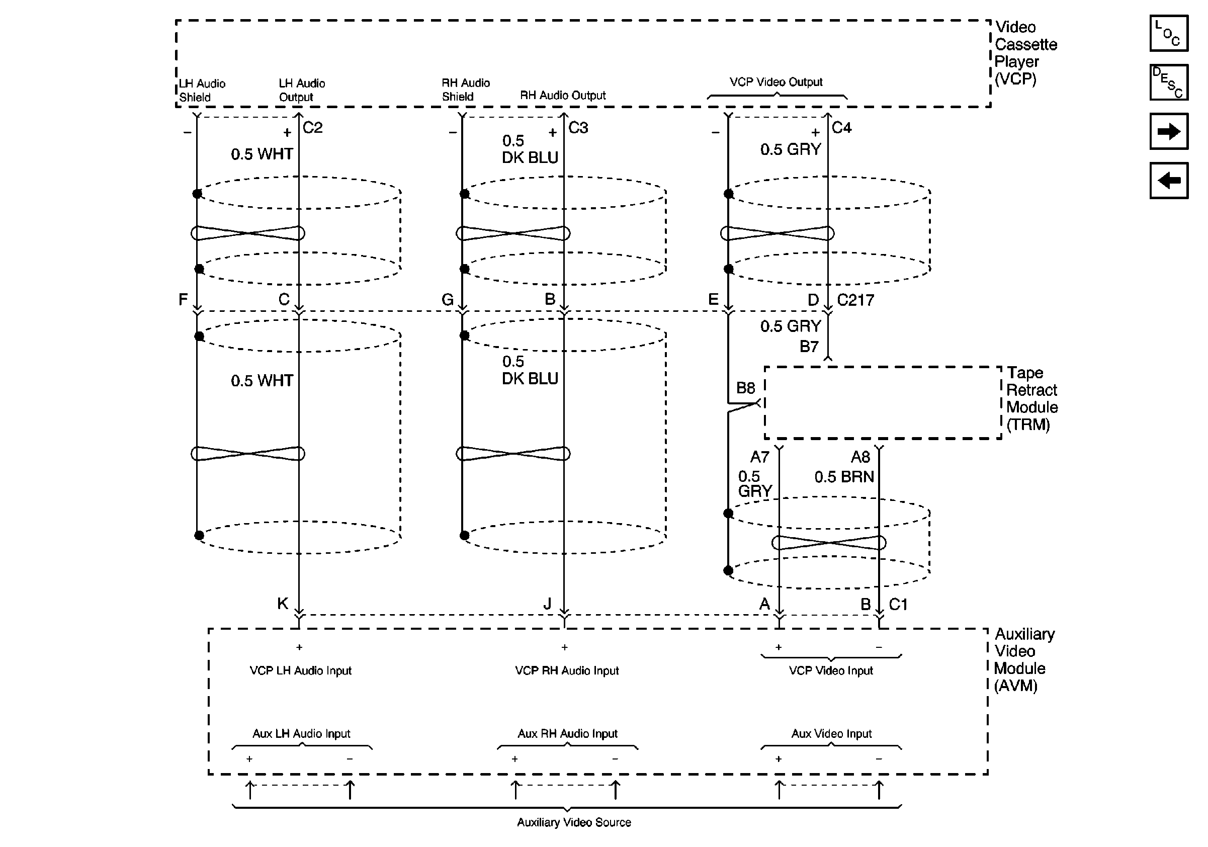
Figure 4:

Video Cassette Player (VCP) to Auxiliary Video Module (AVM) Inputs


Object Number: 628330  Size: FS
Entertainment Components
Video System Description
Video Screen Controls
Power and Ground Distribution (Interface Module)
Figure 5:

Video Screen Controls


Object Number: 628331  Size: FS
Entertainment Components
Video System Description
Rear Seat Audio (RSA) Enabling Circuits
Video Cassette Player (VCP) to Auxiliary Video Module (AVM) Inputs
Power and Ground Distribution (Later Design)
Figure 6:

Rear Seat Audio (RSA) Enabling Circuits


Object Number: 628332  Size: FS
Handling ESD Sensitive Parts Notice
Entertainment Components
Video System Description
Radio Audio Channel Outputs
Video Screen Controls
Figure 7:

Radio Audio Channel Outputs


Object Number: 628333  Size: FS
Handling ESD Sensitive Parts Notice
Entertainment Components
Video System Description
Radio Audio Channel Outputs
Rear Seat Audio (RSA) Enabling Circuits
Radio Audio Channel Outputs
Figure 8:

Radio Audio Channel Outputs


Object Number: 628334  Size: FS
Entertainment Components
Video System Description
Video Audio Channel Outputs
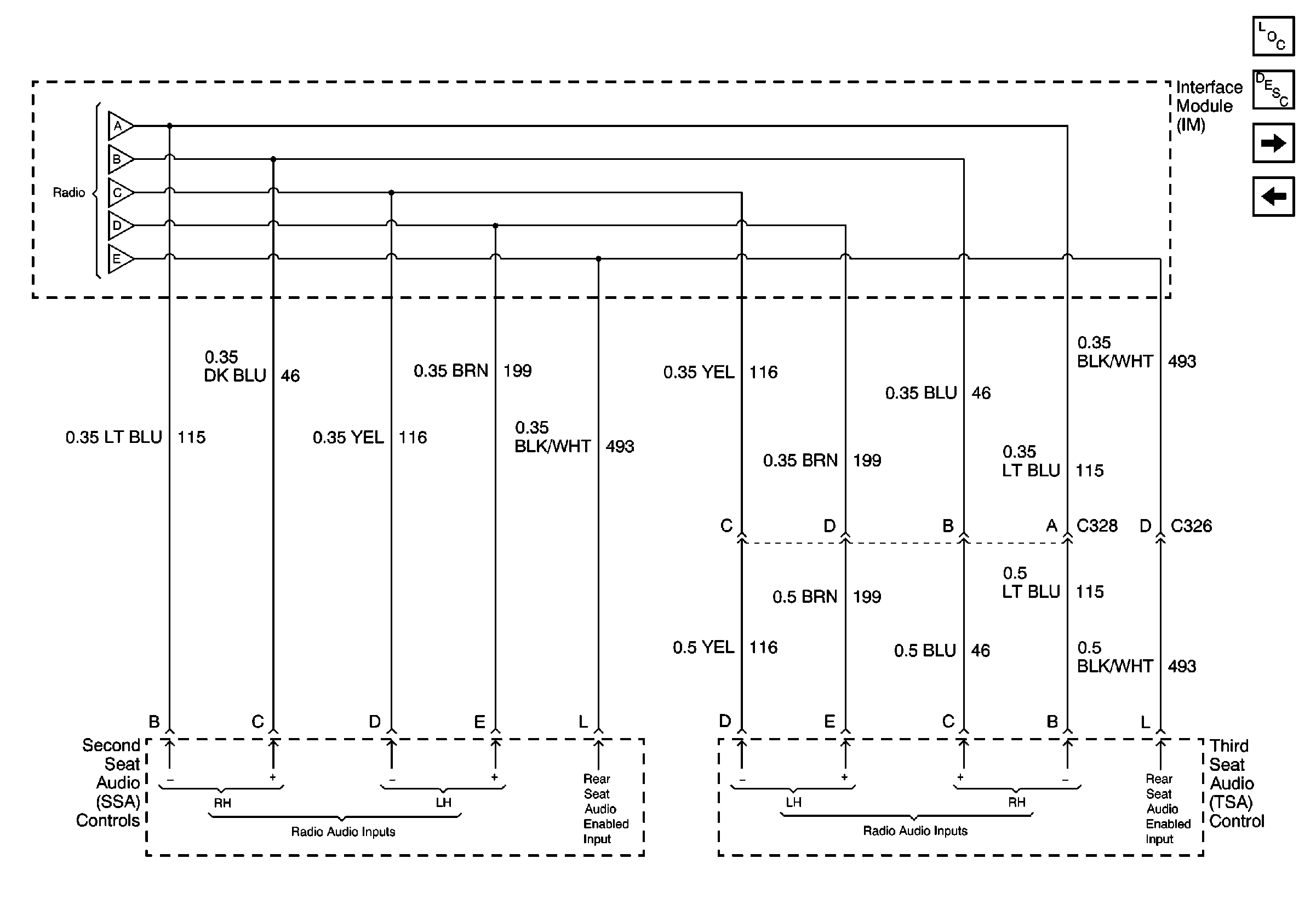
Radio Audio Channel Outputs
Radio Audio Channel Outputs
Figure 9:

Video Audio Channel Outputs


Object Number: 628335  Size: FS
Entertainment Components
Video System Description
Rear Speaker Outputs
Radio Audio Channel Outputs
Figure 10:

Rear Speaker Outputs


Object Number: 628339  Size: FS
Entertainment Components
Video System Description
Interior Lights Dimming
Video Audio Channel Outputs
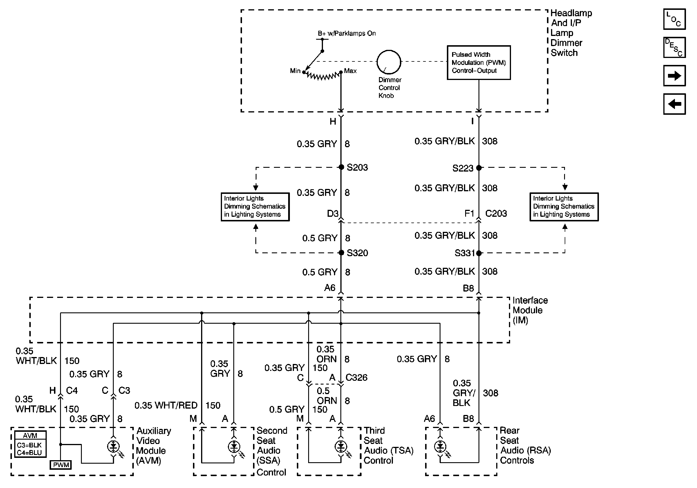
Figure 11:

Interior Lights Dimming


Object Number: 628341  Size: FS
Entertainment Components
Video System Description
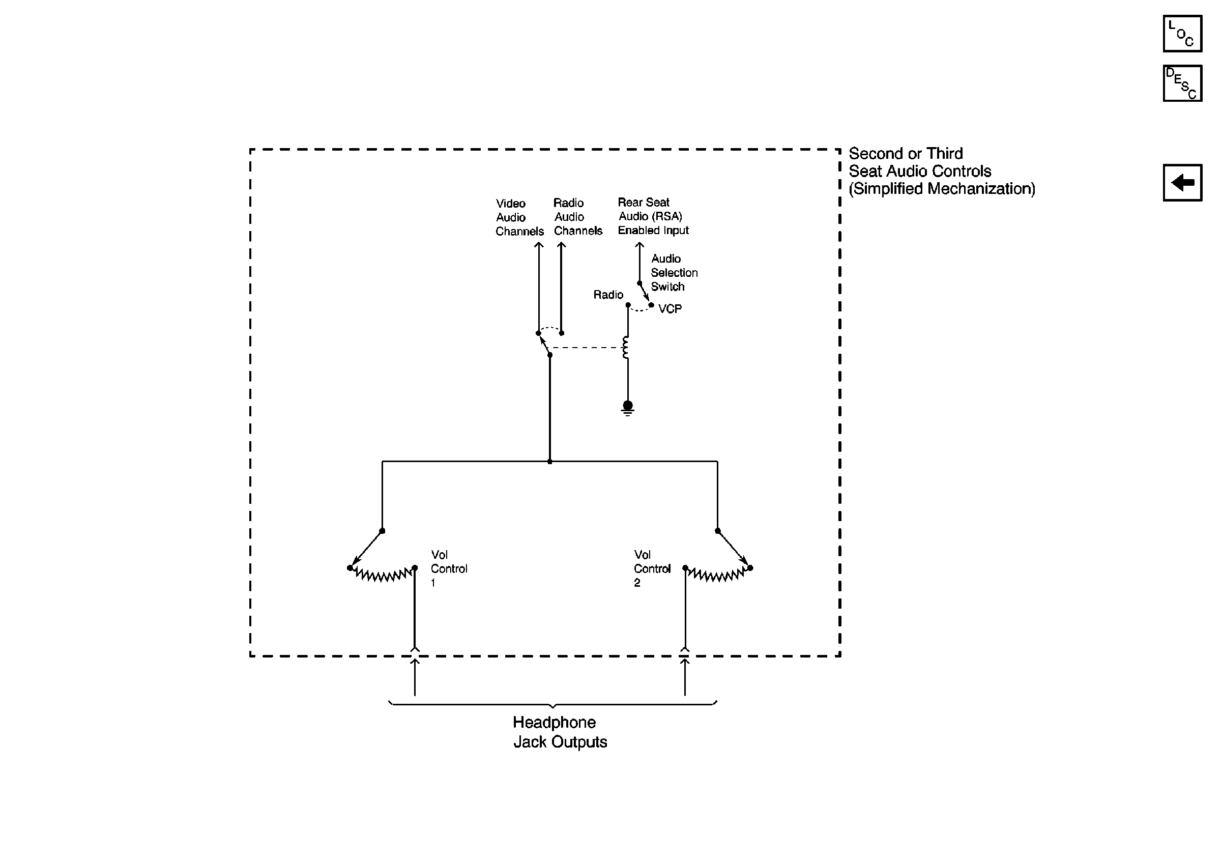
Seat Audio Controls Mechanization
Rear Speaker Outputs
Interior Lights Dimming Schematics (Cell 117: Headlamp and IP Lamp Dimmer Switch, Driver Information Display)
Interior Lights Dimming Schematics (Cell 117: Headlamp and IP Lamp Dimmer Switch, Driver Information Display)
Figure 12:

Seat Audio Controls Mechanization


Object Number: 628342  Size: FS
Entertainment Components
Video System Description
Interior Lights Dimming