GM Service Manual Online
For 1990-2009 cars only
Makes
🢒
Chevrolet
🢒
2001
🢒
Venture Ext.
🢒
Body and Accessories
🢒
Garage Door Opener
🢒 Garage Door Opener Schematics
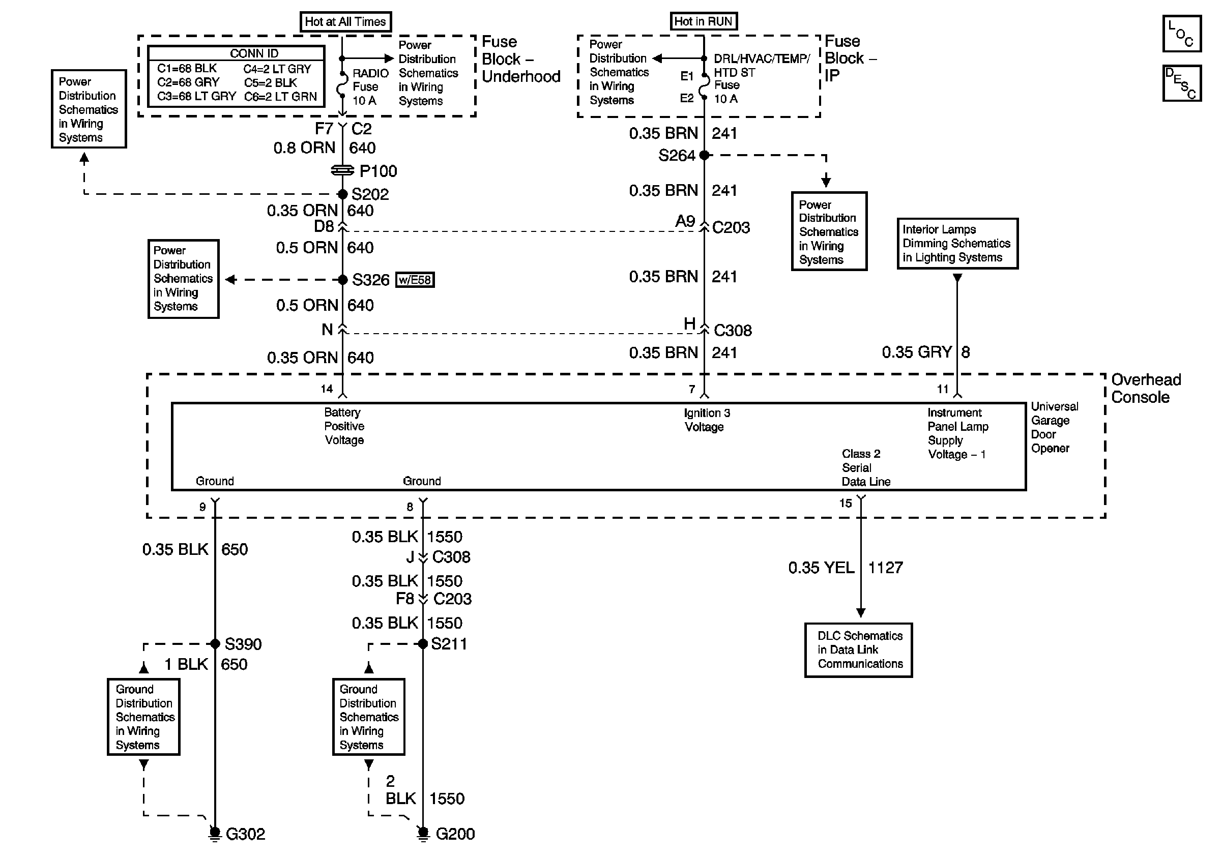
Universal Garage Door Opener
EBCM, BATT MAIN 1, RADIO and PARK LP Fuses
EBCM, BATT MAIN 1, RADIO and PARK LP Fuses
DRL/HVAC/TEMP/HTD ST, HVAC BLOWER and RR HVAC/TEMP CONT Fuses
EBCM, BATT MAIN 1, RADIO and PARK LP Fuses
DRL/HVAC/TEMP/HTD ST, HVAC BLOWER and RR HVAC/TEMP CONT Fuses
Interior Lamp and Multifunction Switch, Driver Information Display and Release Actuator Switch
G302 (1 of 2)
G200 (3 of 3)
Data Link Connector (DLC)
Master Electrical Component List