GM Service Manual Online
For 1990-2009 cars only
Makes
🢒
Chevrolet
🢒
2001
🢒
Venture Ext.
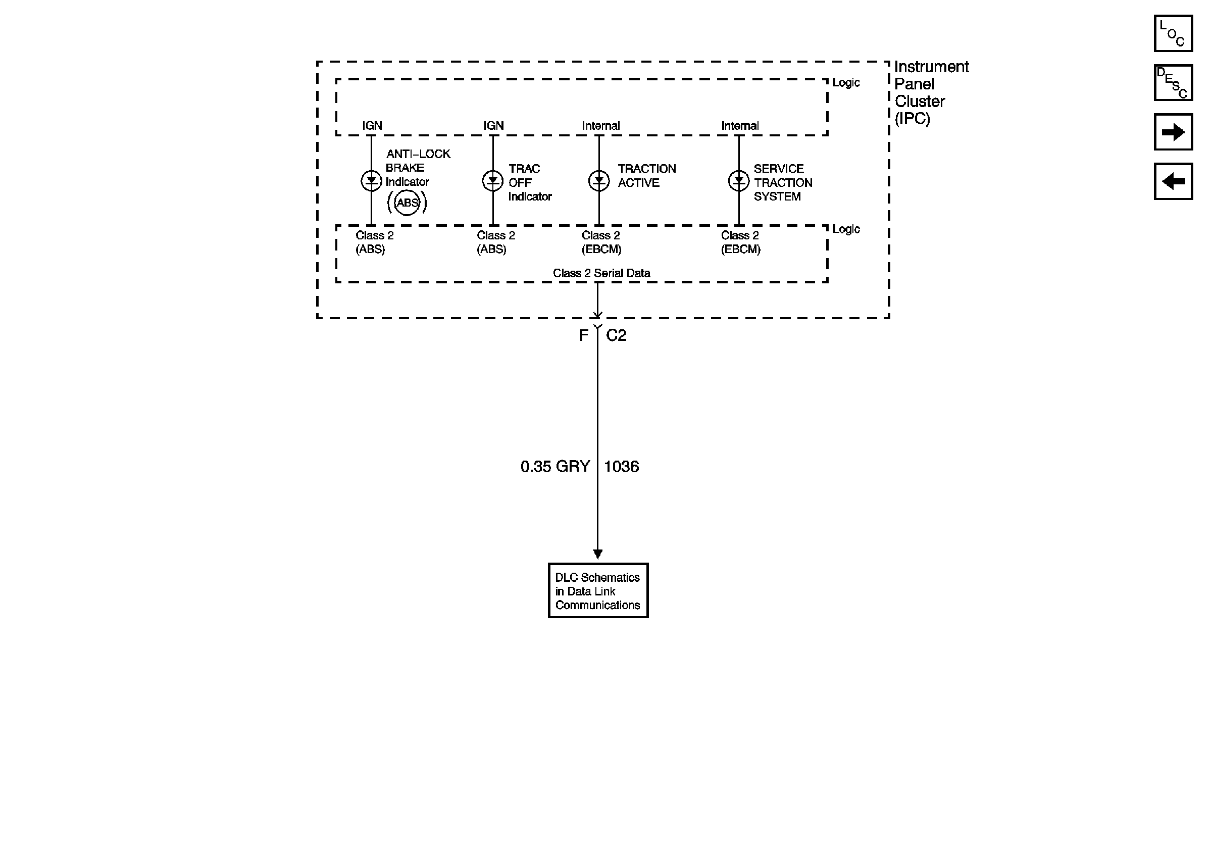
🢒 EBCM, Cluster and DLC
EBCM, Cluster and DLC
EBCM, Cluster and DLC
Data Link Connector (DLC)
Hardwire Indicators
G200 (1 of 3)
Master Electrical Component List
ABS Description and Operation
EBCM, PCM and Stoplamp Switch
EBCM, Power and Ground